| |
 |
|
 |
Вернуться к выбору узлов мотора
ДЕТАЛИРОВКА ДЛЯ МОДЕЛИ: SUZUKI DT30LK2(E1) K2
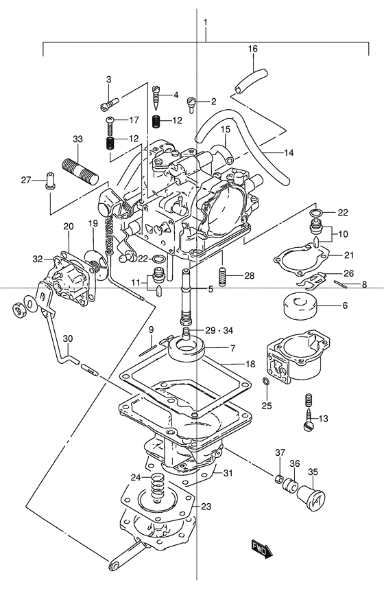
Карбюратор
Код модели двигателя: DT30(R)S/L/LL/XL
Год выпуска двигателя: 2002
Регион: General Export No.1 ,Код региона: P01
Цвет: Shadow Black Metallic
Номер на рисунке | Артикул | Наименование | QTY | Кол-во на складе | Цена |
| 1 | 13200-963H0-000 | Запчасть снята с производства - The Spare Part Is Laid Off (E13) (The Spare Part Is Laid Off) | | под заказ | 0 руб. |
| 1 | 13200-96461-000 | Карбюратор в сборе (na) - Carburetor Assy (na) (E36 ) (Carburetor Assy (na)) | | под заказ | 85920 руб. |
| 2 | 09492-70001-000 | Контрольная форсунка (70) - Jet, Pilot (70) (Jet, pilot (70) # Jet, pilot (#70); Gasoline, e13 ) (Jet, Pilot (70)) | | 1 шт | 630 руб. |
| 2 | 09492-50008-000 | Контрольная форсунка (50) - Jet, Pilot (50) (Jet, pilot (#50) # Jet, pilot (#50); Gasoline, e36 ) (Jet, Pilot (50)) | | под заказ | 730 руб. |
| 3 | 09492-20025-000 | Запчасть снята с производства - The Spare Part Is Laid Off (Jet, pilot (#100); Kerosene, e13) (The Spare Part Is Laid Off) | | под заказ | 0 руб. |
| 3 | 09492-30017-000 | Контрольная форсунка (150) - Jet, Pilot (150) (Jet, pilot (#150); Kerosene, e36 ) (Jet, Pilot (150)) | | под заказ | 1110 руб. |
| 4 | 13269-98100-000 | Винт контроля воздуха - Screw, Pilot Air (Screw, pilot # Screw, pilot; ) (Screw, Pilot Air) | | под заказ | 620 руб. |
| 5 | 13235-94350-000 | Nozzle - Nozzle (Nozzle) | | под заказ | 2160 руб. |
| 6 | 13270-94350-000 | Поплавок - Float (Gasoline ) (Float) | | под заказ | 1720 руб. |
| 7 | 13250-93012-000 | Поплавок - Float (Kerosene ) (Float) | | под заказ | 1950 руб. |
| 8 | 13254-98410-000 | Стопор поплавка - Pin, Float (Gasoline ) (Pin, Float) | | под заказ | 240 руб. |
| 9 | 13254-98300-000 | Стопор поплавка - Pin, Float (Pin, float # Kerosene ) (Pin, Float) | | под заказ | 240 руб. |
| 10 | 13370-94350-000 | Игольчатый клапан, в сборе - Valve Assy, Needle (Valve assy, needle; Gasoline ) (Valve Assy, Needle) | | под заказ | 4490 руб. |
| 11 | 13370-28110-000 | Игольчатый клапан, в сборе - Valve Assy, Needle (Valve assy, needle # Valve assy, needle; Kerosene ) (Valve Assy, Needle) | | 4 шт | 4350 руб. |
| 12 | 13268-96111-000 | Пружина, Дроссель Винт - Spring, Throttle Screw (Spring, throttle screw # Spring, stop screw; ) (Spring, Throttle Screw) | | под заказ | 350 руб. |
| 13 | 13616-93900-000 | Регулятор - Adjuster (Adjuster) | | под заказ | 1180 руб. |
| 14 | 13651-95300-000 | Шланг - Hose (L:175->25 ) (Hose) | | под заказ | 870 руб. |
| 14 | 13651-95301-000 | (актуальный код замены) Шланг - Hose | | под заказ | 870 руб. |
| 15 | 13651-94350-000 | Шланг - Hose (L:175->8, 50 ) (Hose) | | под заказ | 870 руб. |
| 15 | 13651-94351-000 | (актуальный код замены) Шланг - Hose | | под заказ | 870 руб. |
| 16 | 13651-94350-000 | Шланг - Hose (L:175->8 ) (Hose) | | под заказ | 870 руб. |
| 16 | 13651-94351-000 | (актуальный код замены) Шланг - Hose | | под заказ | 870 руб. |
| 17 | 13534-96300-000 | Винт стопора - Screw, Stop (Screw, throttle stop # Screw, throttle stop; ) (Screw, Stop) | | под заказ | 390 руб. |
| 18 | 13245-94350-000 | Прокладка поплавковой камеры - Gasket, Float Cahmber (Gasket, float chamber # Gasket, float chamber; Kerosene ) (Gasket, Float Cahmber) | | под заказ | 760 руб. |
| 19 | 13415-94350-000 | Диск в сборе - Disc Assy (Disc Assy) | | под заказ | 3460 руб. |
| 20 | 13418-94360-000 | Прокладка карбюратора Disk - Gasket, Carburetor Disk (Gasket, Carburetor Disk) | | под заказ | 490 руб. |
| 21 | 13265-94360-000 | Прокладка поплавковой камеры - Gasket, Float Cahmber (Gasket, float chamber; Gasoline ) (Gasket, Float Cahmber) | | под заказ | 650 руб. |
| 22 | 13392-58600-000 | Прокладка седла клапана - Gasket, Valve Seat (Gasket, valve seat # Packing, needle valve seat; ) (Gasket, Valve Seat) | | 1 шт | 150 руб. |
| 23 | 13450-94350-000 | Membrane в сборе - Membrane Assy (Membrane assy # Membrane assy; ) (Membrane Assy) | | под заказ | 2430 руб. |
| 24 | 13441-94350-000 | Пружина - Spring (Spring) | | под заказ | 340 руб. |
| 25 | 13521-78100-000 | Уплотнительное кольцо - O-ring (O-ring) | | под заказ | 220 руб. |
| 26 | 13282-94350-000 | Рычаг - Arm (Arm) | | под заказ | 590 руб. |
| 27 | 13461-94350-000 | Гайка - Nut (Nut) | | под заказ | 2310 руб. |
| 28 | 13443-94350-000 | Клапан в сборе - Valve Assy (Valve assy; ) (Valve Assy) | | под заказ | 2740 руб. |
| 29 | 09491-30010-000 | Главная форсунка (150) - Jet, Main (150) (Jet, main (#150) # Jet, main (#150); E13 ) (Jet, Main (150)) | | 1 шт | 970 руб. |
| 29 | 09491-29010-000 | Главная форсунка (147.5) - Jet, Main (1475) (Jet, main (147.5) # Jet, main (#147.5); E36 ) (Jet, Main (147.5)) | | под заказ | 1110 руб. |
| 30 | 13580-96351-000 | Рычаг в сборе, Стартер - Lever Assy, Starter (Lever Assy, Starter) | | под заказ | 4760 руб. |
| 31 | 13446-94360-000 | Прокладка - Gasket (Gasket) | | под заказ | 530 руб. |
| 32 | 13419-94400-000 | Крышка, Disk Стартер - Cover, Disk Starter (Cover, disk ) (Cover, Disk Starter) | | под заказ | 960 руб. |
| 33 | 01411-08207-000 | Болт под шпильку - Bolt, Stud (Stud bolt;) (Bolt, Stud) | | под заказ | 130 руб. |
| 33 | 01411-0820A-000 | (актуальный код замены) Болт под шпильку - Bolt, Stud | | под заказ | 130 руб. |
| 33 | 01411-0820A-000 | Болт под шпильку - Bolt, Stud (Bolt, Stud) | | под заказ | 130 руб. |
| 34 | 09491-34007-000 | Главная форсунка (170) - Jet, Main (170) (Jet, main (170) # Jet, main (#170); Opt ) (Jet, Main (170)) | | под заказ | 1030 руб. |
| 34 | 09491-32012-000 | Главная форсунка (160) - Jet, Main (160) (Jet, main (160) # Jet, main (#160); Opt, ) (Jet, Main (160)) | | 2 шт | 1120 руб. |
| 34 | 09491-31014-000 | Контрольная форсунка (155) - Jet, Pilot (155) (Jet, main (#155); Opt ) (Jet, Pilot (155)) | | под заказ | 0 руб. |
| 34 | 09491-31007-000 | Главная форсунка (157.5) - Jet, Main (1575) (Jet, main (157.5) # Jet, main (#157.5); Opt ) (Jet, Main (157.5)) | | под заказ | 0 руб. |
| 34 | 09491-29010-000 | Главная форсунка (147.5) - Jet, Main (1475) (Jet, main (147.5) # Jet, main (#147.5); Opt ) (Jet, Main (147.5)) | | под заказ | 1110 руб. |
| 34 | 09491-28012-000 | Главная форсунка (142.5) - Jet, Main (1425) (Jet, main (142.5) # Jet, main (#142.5); Opt ) (Jet, Main (142.5)) | | 1 шт | 810 руб. |
| 35 | 13631-93501-000 | Рукоятка стартера - Knob, Starter (Knob, starter; ) (Knob, Starter) | | 2 шт | 460 руб. |
| 36 | 09320-04009-000 | Втулка - Bush (Bushing, starter rod; ) (Bush) | | под заказ | 160 руб. |
| 36 | 09320-04013-000 | (актуальный код замены) Подушка, Muf Cov - Cushion, Muf Cov | | под заказ | 160 руб. |
| 37 | 09140-04007-000 | Гайка - Nut (Nut, knob starter; ) (Nut) | | под заказ | 170 руб. |
Время выполнения запроса 4.9615960121155 сек. |
|