| |
 |
|
 |
Вернуться к выбору узлов мотора
ДЕТАЛИРОВКА ДЛЯ МОДЕЛИ: SUZUKI DT30LK2(E1) K2
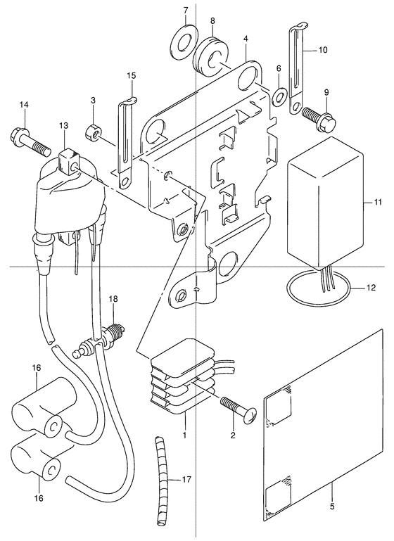
Ignition
Код модели двигателя: DT30(R)S/L/LL/XL
Год выпуска двигателя: 2002
Регион: General Export No.1 ,Код региона: P01
Цвет: Shadow Black Metallic
Номер на рисунке | Артикул | Наименование | QTY | Кол-во на складе | Цена |
| 1 | 32800-95D01-000 | Выпрямитель в сборе - Rectifier Assy (Rectifier assy; Electric starter ) (Rectifier Assy) | | под заказ | 10760 руб. |
| 1 | 32800-95D02-000 | (актуальный код замены) Выпрямитель в сборе - Rectifier Assy | | 1 шт | 10760 руб. |
| 2 | 02142-05257-000 | Винт - Screw (Screw) | | под заказ | 110 руб. |
| 3 | 08310-00057-000 | Гайка - Nut (Nut) | | под заказ | 140 руб. |
| 4 | 32890-96310-000 | Держатель электрических частей - Holder, Electric Parts (Holder, Electric Parts) | | под заказ | 2840 руб. |
| 4 | 32890-91L00-000 | (актуальный код замены) Держатель электрических частей - Holder, Electric Parts | | под заказ | 2840 руб. |
| 4 | 32890-91L00-000 | Держатель электрических частей - Holder, Electric Parts (Holder, Electric Parts) | | под заказ | 2840 руб. |
| 5 | 32916-88411-000 | Крышка коннектора - Cover, Connector (Holder, connector ) (Cover, Connector) | | под заказ | 1010 руб. |
| 5 | 32916-88412-000 | (актуальный код замены) Крышка коннектора - Cover, Connector | | под заказ | 1010 руб. |
| 6 | 09160-06054-000 | Шайба (6.5x22x1.6) - Washer (65x22x16) (Washer (6.5x22x1.6) # Washer (6.5x22x1.6); ) (Washer (6.5x22x1.6)) | | под заказ | 120 руб. |
| 7 | 09160-12089-000 | Шайба (12.5x26x1.6) - Washer (125x26x16) (Washer (12.5x26x1.6) # Washer (12.5x26x1.6); ) (Washer (12.5x26x1.6)) | | под заказ | 150 руб. |
| 8 | 09320-12011-000 | Подушка - Cushion (Cushion ) (Cushion) | | под заказ | 150 руб. |
| 8 | 09320-12090-000 | (актуальный код замены) Подушка (11.8x25x7.5) - Cushion (11.8x25x7.5) | | под заказ | 150 руб. |
| 9 | 01550-06127-000 | Болт - Bolt (Bolt, rect ) (Bolt) | | 10 шт | 180 руб. |
| 10 | 29404-93J10-000 | Струбцина - Clamp (Clamp) | | под заказ | 190 руб. |
| 10 | 29404-93J11-000 | (актуальный код замены) Струбцина - Clamp | | под заказ | 190 руб. |
| 11 | 32900-96371-000 | Модуль C.D.I. - Unit, Cdi (Dt25/30 ) (Unit, Cdi) | | под заказ | 37200 руб. |
| 11 | 32900-96361-000 | Модуль C.D.I. - Unit, Cdi (Dt25k ) (Unit, Cdi) | | 3 шт | 37200 руб. |
| 12 | 09280-76005-000 | Уплотнительное кольцо (d: 3.5, Id: 76) - O Ring (d:35, Id:76) (Band (d:3.5 id:76) # Band (d:3.5, id:76.0); ) (O Ring (d:3.5, Id:76)) | | под заказ | 300 руб. |
| 13 | 33410-96300-000 | Катушка зажигания в сборе - Coil Assy, Ignition (Dt25/30 ) (Coil Assy, Ignition) | | 3 шт | 15490 руб. |
| 13 | 33410-96310-000 | Катушка зажигания в сборе - Coil Assy, Ignition (Dt25k) (Coil Assy, Ignition) | | под заказ | 13490 руб. |
| 13 | 33410-96311-000 | (актуальный код замены) Катушка зажигания в сборе - Coil Assy, Ignition | | под заказ | 13490 руб. |
| 13 | 33410-96311-000 | Катушка зажигания в сборе - Coil Assy, Ignition (Coil Assy, Ignition) | | под заказ | 13490 руб. |
| 14 | 02162-06167-000 | Болт - Bolt (Bolt) | | под заказ | 180 руб. |
| 14 | 01550-06167-000 | (актуальный код замены) Болт - Bolt | | 9 шт | 210 руб. |
| 14 | 01550-06167-000 | Болт - Bolt (Bolt) | | 9 шт | 210 руб. |
| 15 | 29404-93J10-000 | Струбцина - Clamp (Clamp, ign coil lead; ) (Clamp) | | под заказ | 190 руб. |
| 15 | 29404-93J11-000 | (актуальный код замены) Струбцина - Clamp | | под заказ | 190 руб. |
| 16 | 33510-98601-000 | Колпачок свечи зажигания - Cap, Spark Plug (Cap, Spark Plug) | | под заказ | 2860 руб. |
| 16 | 33510-95520-000 | Колпачок свечи зажигания - Cap, Spark Plug (Cap, spark plug # Cap, spark plug; E13, e40, e36 ) (Cap, Spark Plug) | | 1 шт | 2100 руб. |
| 17 | 33833-91J00-000 | Трубка провода переключателя (l: 250) - Tube, Switch Lead (l:250) (Tube; L:250->0, ) (Tube, Switch Lead (l:250)) | | под заказ | 610 руб. |
| 18 | 09482-00533-000 | Свеча зажигания (br7hs-10) - Plug, Spark (br7hs-10) (Spark plug, br7hs # Plug, spark (br7hs); ) (Plug, Spark (br7hs-10)) | | 22 шт | 900 руб. |
| 18 | 09482-00532-000 | Свеча зажигания (b7hs-10) - Plug, Spark (b7hs-10) (Plug, spark (b7hs); E13, e40, e36 ) (Plug, Spark (b7hs-10)) | | под заказ | 540 руб. |
Время выполнения запроса 0.73475909233093 сек. |
|