Подобрать оригинальные запчасти на лодочный подвесной мотор Suzuki DT30(R)S/L/LL/XL модель 2010 года - Сцепление
вконтакте

Контактный телефон: +7 (981) 121-46-93, +7 (800) 200-90-76 , Email: parts-katalog@yandex.ru, где купить

 
 

  Логин:

Пароль:

Регистрация

www.partskatalog.ru Все каталоги Запчасти Mercury Запчасти Suzuki Запчасти Tohatsu Запчасти Honda Контакты

назад Раздел:   вперёд

Вернуться к выбору узлов мотора


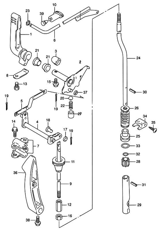
ДЕТАЛИРОВКА ДЛЯ МОДЕЛИ: SUZUKI DT30L K10

Сцепление


Код модели двигателя: DT30(R)S/L/LL/XL

Год выпуска двигателя: 2010

Регион: General Export No.1 ,Код региона: P01

Цвет: Shadow Black Metallic

Номер на
рисунке
АртикулНаименованиеQTYКол-во
на складе
Цена
121111-96311-000

Рычаг сцепления - Lever, Clutch (Lever, Clutch)

5 шт1610 руб.
221120-96320-000

Пластина в паз сцепления - Plate, Clutch Notch (Plate, Clutch Notch)

под заказ4590 руб.
221120-91L00-000

   (актуальный код замены) Пластина в паз сцепления - Plate, Clutch Notch

под заказ4590 руб.
221120-91L00-000

Пластина в паз сцепления - Plate, Clutch Notch (Plate, Clutch Notch)

под заказ4590 руб.
321142-96300-000

Колпачок вала сцепления - Cap, Clutch Shaft (Cap, Clutch Shaft)

под заказ470 руб.
421210-96300-000

Сцепление Вал - Shaft, Clutch (Shaft, Clutch)

под заказ2810 руб.
521241-96300-000

Тяга сцепления Рычаг - Rod, Clutch Arm (Rod, Clutch Arm)

под заказ1490 руб.
621242-96302-000

Тяга, Рычаг сцепления - Rod, Clutch Lever (Rod, Clutch Lever)

под заказ3650 руб.
721311-96300-000

Держатель вала сцепления - Holder, Clutch Shaft (Holder, Clutch Shaft)

под заказ340 руб.
721311-91L00-000

   (актуальный код замены) Держатель вала сцепления - Holder, Clutch Shaft

под заказ340 руб.
721311-91L00-000

Держатель вала сцепления - Holder, Clutch Shaft (Holder, Clutch Shaft)

под заказ340 руб.
821312-96300-000

Держатель рычага сцепления - Holder, Clutch Lever (Holder, Clutch Lever)

1 шт720 руб.
923111-96300-000

Тяга сцепления - Rod, Clutch (Rod, Clutch)

1 шт1870 руб.
1023131-93900-000

Башмак тяги сцепления - Boot, Clutch Rod (Boot, Clutch Rod)

под заказ470 руб.
1023131-95L00-000

   (актуальный код замены) Башмак тяги сцепления - Boot, Clutch Rod

под заказ470 руб.
1123131-94300-000

Башмак тяги сцепления - Boot, Clutch Rod (Boot, clutch rod ) (Boot, Clutch Rod)

под заказ470 руб.
1123131-94301-000

   (актуальный код замены) Башмак тяги сцепления - Boot, Clutch Rod

под заказ470 руб.
1223311-95D01-000

Buckle, Тяга сцепления Turn - Buckle, Clutch Rod Turn (Buckle, Clutch Rod Turn)

под заказ630 руб.
1223311-95DL0-000

   (актуальный код замены) Buckle, Тяга сцепления Turn - Buckle, Clutch Rod Turn

13 шт640 руб.
1223311-95DL0-000

Buckle, Тяга сцепления Turn - Buckle, Clutch Rod Turn (Buckle, Clutch Rod Turn)

13 шт640 руб.
12SK23311-95DL0

   (не оригинальный аналог) Гайка соединительная тяги переключения передач Skipper для Suzuki DF9.9-DF15, DT25-40

0 шт127 руб.
1309100-06131-000

Болт (6x12) - Bolt (6x12) (Bolt (6x12))

под заказ160 руб.
1429103-93J10-000

Болт (6x20) - Bolt (6x20) (<-09103-06093) (Bolt (6x20))

под заказ130 руб.
1409103-06093-000

   (актуальный код замены) Болт (6x20) - Bolt (6x20)

под заказ130 руб.
1409103-06093-000

Болт (6x20) - Bolt (6x20) (Bolt (6x20))

под заказ130 руб.
1509103-06092-000

Болт (6x15) - Bolt (6x15) (Bolt (6x15) ) (Bolt (6x15))

под заказ180 руб.
1629141-93J00-000

Гайка - Nut (<-09140-06020 ) (Nut)

18 шт480 руб.
1709160-05029-000

Шайба (5.5x12x0.8) - Washer (55x12x08) (Washer (5.5x12x0.8))

14 шт130 руб.
1809200-05006-000

Штифт (l: 12) - Pin (l:12) (Pin (l:12))

под заказ330 руб.
1909204-01002-000

Штифт - Pin (Cotter pin ) (Pin)

24 шт140 руб.
2009260-10005-000

Шарик - Ball (Steel ball ) (Ball)

4 шт210 руб.
2109306-10001-000

Втулка - Bush (Bush, clutch lever ) (Bush)

10 шт360 руб.
2209440-07021-000

Пружина - Spring (Spring, clutch notch ) (Spring)

под заказ160 руб.
2309383-08004-000

Уплотнительное кольцо - E Ring (E Ring)

10 шт100 руб.
2425111-96300-000

Переключающая тяга (l) - Rod, Shift (l) (L:362 ) (Rod, Shift (l))

под заказ4230 руб.
2425111-96310-000

Переключающая тяга (s) - Rod, Shift (s) (L:235 ) (Rod, Shift (s))

под заказ3290 руб.
2425111-96320-000

Переключающая тяга (x) - Rod, Shift (x) (L:489 ) (Rod, Shift (x))

под заказ0 руб.
2425111-96330-000

Переключающая тяга (ll) - Rod, Shift (ll) (L:422 ) (Rod, Shift (ll))

под заказ0 руб.
2525211-96301-000

Направляющая переключающей тяги - Guide, Shift Rod (Guide, Shift Rod)

под заказ1530 руб.
2525211-91L00-000

   (актуальный код замены) Направляющая переключающей тяги - Guide, Shift Rod

под заказ1530 руб.
2525211-91L00-000

Направляющая переключающей тяги - Guide, Shift Rod (Guide, Shift Rod)

под заказ1530 руб.
2625222-96300-000

Башмак переключающей тяги Направляющая - Boot, Shift Rod Guide (Boot, Shift Rod Guide)

под заказ820 руб.
2625222-96301-000

   (актуальный код замены) Башмак переключающей тяги Направляющая - Boot, Shift Rod Guide

17 шт930 руб.
26SK25222-96300

   (не оригинальный аналог) Гофра тяги переключения передач Skipper для Suzuki DT25/30/40/DF25-30

0 шт238 руб.
2725231-96301-000

Держатель магнето - Holder, Magneto (Spacer, magnet ) (Holder, Magneto)

под заказ220 руб.
2825232-96302-000

Индуктор картера коробки передач - Magneto, Gear Case (Magneto, Gear Case)

2 шт690 руб.
2925311-96303-000

Cam, Clatch Переключатель - Cam, Clatch Shift (Cam, Clatch Shift)

2 шт5170 руб.
3009205-02004-000

Стопор пружины (2.5x12) - Pin, Spring (25x12) (Spring pin ) (Pin, Spring (2.5x12))

11 шт100 руб.
3109205-03021-000

Стопор пружины (3.5x12) - Pin, Spring (35x12) (Pin, Spring (3.5x12))

под заказ120 руб.
3209280-08005-000

Уплотнительное кольцо (d: 1.7, Id: 7.7) - O Ring (d:17, Id:77) (O ring (d:1.8, id:7.6) ) (O Ring (d:1.7, Id:7.7))

45 шт160 руб.
3309280-13005-000

Уплотнительное кольцо (d: 3.5, Id: 12.8) - O Ring (d:35, Id:128) (O ring, front hook ) (O Ring (d:3.5, Id:12.8))

32 шт210 руб.
3425215-96301-000

Стопор переключателя направляющей тяги - Stopper, Shift Rod Guide (Stopper, shift rod guide ) (Stopper, Shift Rod Guide)

под заказ460 руб.
3509139-04004-000

Винт (4x12) - Screw (4x12) (Screw (4x12) ) (Screw (4x12))

под заказ110 руб.
3621111-96302-0ED

Рычаг сцепления - Lever, Clutch (DT30R) (Lever, Clutch)

под заказ3100 руб.
3621111-96303-0ED

   (актуальный код замены) Рычаг сцепления - Lever, Clutch

1 шт3100 руб.
3621111-96303-0ED

Рычаг сцепления - Lever, Clutch (Lever, Clutch)

1 шт3100 руб.
3621111-96303-0EP

Рычаг сцепления - Lever, Clutch (Lever, clutch (black) # DT30R ) (Lever, Clutch)

2 шт3580 руб.
3709160-05024-000

Шайба (5.5x16x1.5) - Washer (55x16x15) (DT30R ) (Washer (5.5x16x1.5))

под заказ120 руб.
3829103-93J10-000

Болт (6x20) - Bolt (6x20) (DT30R <-09103-06093) (Bolt (6x20))

под заказ130 руб.
3809103-06093-000

   (актуальный код замены) Болт (6x20) - Bolt (6x20)

под заказ130 руб.
3809103-06093-000

Болт (6x20) - Bolt (6x20) (Bolt (6x20))

под заказ130 руб.
3909250-06012-000

Заглушка (od: 10) - Plug (od:10) (DT30R ) (Plug (od:10))

9 шт260 руб.
3909250-06017-000

   (актуальный код замены) Заглушка (od: 10) - Plug (od:10)

под заказ260 руб.


Время выполнения запроса 1.0728399753571 сек.

 
 

данный сайт носит информационный характер и не является публичной офертой

склад запчастей для водомоторной техники