 |
|
 |
Вернуться к выбору узлов мотора
ДЕТАЛИРОВКА ДЛЯ МОДЕЛИ: SUZUKI DT40WK FROM 04005K-210001~
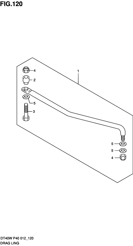
Drag ling
Код модели двигателя: DT40W(R)S/L/LL/L2/XL;DT40KW(R)S/L/LL/L2/XL
Год выпуска двигателя: 2012
Цвет: Shadow Black Metallic
Номер на рисунке | Артикул | Наименование | QTY | Кол-во на складе | Цена |
| 1 | 67701-94430-000 | Рулевая тяга в сборе - Link Assy, Drag (Link Assy, Drag) | | под заказ | 12340 руб. |
| 2 | 67721-94310-000 | Проставка - Spacer (Spacer) | | под заказ | 1510 руб. |
| 3 | 67725-99E10-000 | Болт - Bolt (Bolt) | | под заказ | 1200 руб. |
| 3 | 67725-99E20-000 | (актуальный код замены) Болт переключающей тяги - Bolt, Drag Link | | под заказ | 1200 руб. |
| 4 | 67726-99E00-000 | Блокирующая гайка - Nut, Lock (Nut, Lock) | | 3 шт | 800 руб. |
| 5 | 67728-99E00-000 | Шайба - Washer (Washer) | | 2 шт | 260 руб. |
Время выполнения запроса 0.75438094139099 сек. |