|
 |
Раздел:
|
 |
Вернуться к выбору узлов мотора
ДЕТАЛИРОВКА ДЛЯ МОДЕЛИ: SUZUKI DT40WK FROM 04005K-410001~
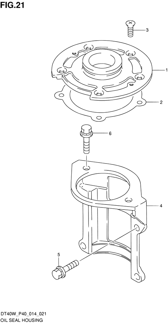
Корпус сальника
Номер на рисунке | Артикул | Наименование | QTY | Кол-во на складе | Цена |
1 | 11411-92L10-000 | Корпус верхнего сальника - Housing, Upr Oil Seal (Housing, Upr Oil Seal) | | под заказ | 4950 руб. |
2 | 11413-94411-000 | Прокладка верхнего корпуса сальника (na) - Gasket, Upr Oil Seal Hsg (na) (Gasket, upper oil seal ) (Gasket, Upr Oil Seal Hsg (na)) | | 3 шт | 1050 руб. |
3 | 09126-06022-000 | Винт (6x16) - Screw (6x16) (Screw (6x16)) | | под заказ | 180 руб. |
4 | 31911-94402-0EP | Кронштейн, Двигатель электростартера - Bracket, Starting Motor (W/ELECTRIC STARTER) (Bracket, Starting Motor) | | под заказ | 4950 руб. |
4 | 31911-92L00-000 | (актуальный код замены) Кронштейн, Двигатель электростартера - Bracket, Starting Motor | | под заказ | 4950 руб. |
4 | 31911-92L00-000 | Кронштейн, Двигатель электростартера - Bracket, Starting Motor (Bracket, Starting Motor) | | под заказ | 4950 руб. |
5 | 01550-08257-000 | Болт - Bolt (W/ELECTRIC STARTER ) (Bolt) | | под заказ | 300 руб. |
6 | 01580-08257-000 | Болт - Bolt (W/ELECTRIC STARTER ) (Bolt) | | 9 шт | 240 руб. |
Время выполнения запроса 0.97181487083435 сек. |
|