Запчасти на подвесной лодочный двигатель Suzuki DT40(R)S/L/LL/L2/UL; - Upper oil seal housing
вконтакте

Контактный телефон: +7 (981) 121-46-93, +7 (800) 200-90-76 , Email: parts-katalog@yandex.ru, где купить

 
 

  Логин:

Пароль:

Регистрация

www.partskatalog.ru Все каталоги Запчасти Mercury Запчасти Suzuki Запчасти Tohatsu Запчасти Honda Контакты



УВАЖАЕМЫЕ КЛИЕНТЫ!
C 19 ДЕКАБРЯ 2025 ПО 02 МАРТА 2026 ГОДА ОТДЕЛ ЗАПЧАСТЕЙ И СЕРВИС РАБОТАТЬ НЕ БУДУТ
ПРОДАЖА ЛОДОЧНЫХ МОТОРОВ В ШТАТНОМ РЕЖИМЕ
ОБ ИЗМЕНЕНИЯХ В ГРАФИКЕ РАБОТЫ ЧИТАЙТЕ НА САЙТА



назад Раздел:   вперёд

Вернуться к выбору узлов мотора


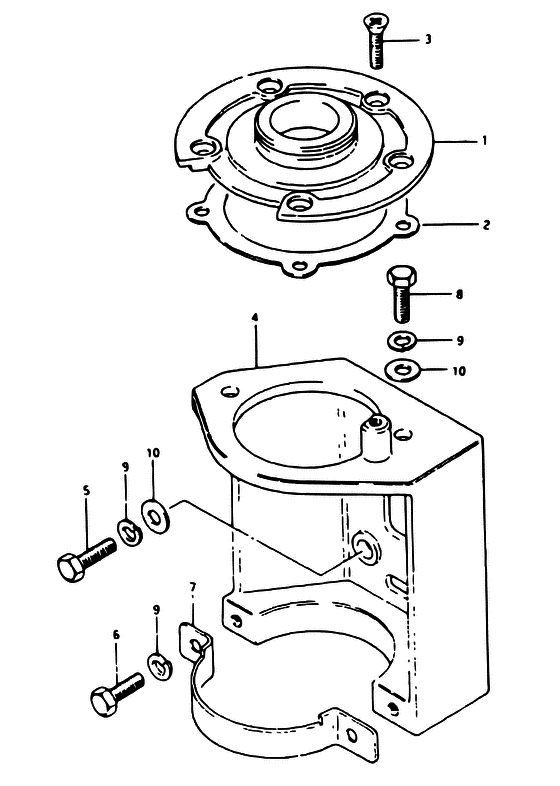
ДЕТАЛИРОВКА ДЛЯ МОДЕЛИ: SUZUKI DT40 VZ

верхний Корпус сальника


Код модели двигателя: DT40(R)S/L/LL/L2/UL;

Год выпуска двигателя: 1982

Номер на
рисунке
АртикулНаименованиеQTYКол-во
на складе
Цена
111411-94300-000

Запчасть снята с производства - The Spare Part Is Laid Off (The Spare Part Is Laid Off)

под заказ0 руб.
111411-94301-000

   (актуальный код замены) Запчасть снята с производства - The Spare Part Is Laid Off

под заказ0 руб.
211413-94300-000

Прокладка верхнего корпуса сальника (na) - Gasket, Upr Oil Seal Hsg (na) (Gasket, Upr Oil Seal Hsg (na))

под заказ0 руб.
211413-94360-000

   (актуальный код замены) Запчасть снята с производства - The Spare Part Is Laid Off

под заказ0 руб.
211413-94360-000

Прокладка верхнего корпуса сальника (na) - Gasket, Upr Oil Seal Hsg (na) (Gasket, Upr Oil Seal Hsg (na))

под заказ0 руб.
302122-06208-000

Винт - Screw (Screw)

под заказ140 руб.
302122-0620B-000

   (актуальный код замены) Винт - Screw

под заказ140 руб.
302122-0620B-000

Винт - Screw (Screw)

под заказ140 руб.
431911-94301-01J

Запчасть снята с производства - The Spare Part Is Laid Off (ELECTRIC STARTER) (The Spare Part Is Laid Off)

под заказ0 руб.
431911-94302-01J

   (актуальный код замены) Запчасть снята с производства - The Spare Part Is Laid Off

под заказ0 руб.
501107-08258-000

Болт - Bolt (ELECTRIC STARTER) (Bolt)

под заказ190 руб.
501500-08257-000

   (актуальный код замены) Болт - Bolt

под заказ190 руб.
501500-08257-000

Болт - Bolt (Bolt)

под заказ190 руб.
601107-08208-000

Болт - Bolt (ELECTRIC STARTER) (Bolt)

под заказ190 руб.
601500-08207-000

   (актуальный код замены) Болт - Bolt

под заказ190 руб.
601500-08207-000

Болт - Bolt (Bolt)

под заказ190 руб.
731912-94301-000

Запчасть снята с производства - The Spare Part Is Laid Off (ELECTRIC STARTER) (The Spare Part Is Laid Off)

под заказ0 руб.
801107-08258-000

Болт - Bolt (ELECTRIC STARTER) (Bolt)

под заказ190 руб.
801500-08257-000

   (актуальный код замены) Болт - Bolt

под заказ190 руб.
801500-08257-000

Болт - Bolt (Bolt)

под заказ190 руб.
908321-21088-000

Шайба с блокировкой - Washer, Lock (ELECTRIC STARTER) (Washer, Lock)

под заказ140 руб.
908321-01087-000

   (актуальный код замены) Шайба с блокировкой - Washer, Lock

под заказ140 руб.
908321-01087-000

Шайба с блокировкой - Washer, Lock (Washer, lock ) (Washer, Lock)

под заказ140 руб.
1008322-11088-000

Шайба - Washer (ELECTRIC STARTER) (Washer)

под заказ140 руб.
1008322-01087-000

   (актуальный код замены) Шайба - Washer

под заказ140 руб.
1008322-01087-000

Шайба - Washer (Lock washer ) (Washer)

под заказ140 руб.


Время выполнения запроса 1.6158668994904 сек.

 
 

данный сайт носит информационный характер и не является публичной офертой

склад запчастей для водомоторной техники