Подобрать запчасти на лодочный мотор Suzuki DT40К(R)S/L/LL/L2/UL; модель 1983 года - Выхлоп Трубка
вконтакте

Контактный телефон: +7 (981) 121-46-93, +7 (800) 200-90-76 , Email: parts-katalog@yandex.ru, где купить

 
 

  Логин:

Пароль:

Регистрация

www.partskatalog.ru Все каталоги Запчасти Mercury Запчасти Suzuki Запчасти Tohatsu Запчасти Honda Контакты

назад Раздел:   вперёд

Вернуться к выбору узлов мотора


ДЕТАЛИРОВКА ДЛЯ МОДЕЛИ: SUZUKI DT40KQD(Z-K) D

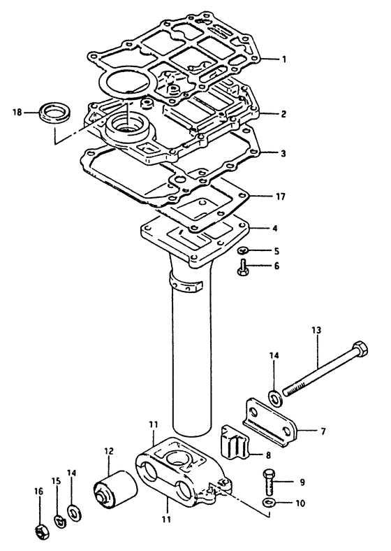
Выхлоп Трубка


Код модели двигателя: DT40К(R)S/L/LL/L2/UL;

Год выпуска двигателя: 1983

Регион: General Export No.1 ,Код региона: P01

Номер на
рисунке
АртикулНаименованиеQTYКол-во
на складе
Цена
111433-94303-000

Прокладка нижнего корпуса сальника (na) - Gasket, Under Oil Seal Hsg (na) (Asb) (Gasket, Under Oil Seal Hsg (na))

под заказ3480 руб.
111433-94360-000

   (актуальный код замены) Прокладка нижнего корпуса сальника (na) - Gasket, Under Oil Seal Hsg (na)

под заказ3480 руб.
111433-94360-000

Прокладка нижнего корпуса сальника (na) - Gasket, Under Oil Seal Hsg (na) (Gasket, Under Oil Seal Hsg (na))

под заказ3480 руб.
111433-94303-H17

Прокладка нижнего корпуса сальника (na) - Gasket, Under Oil Seal Hsg (na) (Opt:nasb) (Gasket, Under Oil Seal Hsg (na))

под заказ3480 руб.
111433-94360-000

   (актуальный код замены) Прокладка нижнего корпуса сальника (na) - Gasket, Under Oil Seal Hsg (na)

под заказ3480 руб.
111433-94360-000

Прокладка нижнего корпуса сальника (na) - Gasket, Under Oil Seal Hsg (na) (Gasket, Under Oil Seal Hsg (na))

под заказ3480 руб.
211431-94303-000

Запчасть снята с производства - The Spare Part Is Laid Off (The Spare Part Is Laid Off)

под заказ0 руб.
352113-94300-000

Прокладка корпуса вала передачи (na) - Gasket, Drive Shaft Housing (na) (Asb) (Gasket, Drive Shaft Housing (na))

под заказ0 руб.
352113-94360-000

   (актуальный код замены) Запчасть снята с производства - The Spare Part Is Laid Off

под заказ0 руб.
352113-94360-000

Прокладка корпуса вала передачи (na) - Gasket, Drive Shaft Housing (na) (Gasket, Drive Shaft Housing (na))

под заказ0 руб.
352113-94300-H17

Прокладка корпуса вала передачи (na) - Gasket, Drive Shaft Housing (na) (Opt:nasb) (Gasket, Drive Shaft Housing (na))

под заказ0 руб.
352113-94360-000

   (актуальный код замены) Запчасть снята с производства - The Spare Part Is Laid Off

под заказ0 руб.
352113-94360-000

Прокладка корпуса вала передачи (na) - Gasket, Drive Shaft Housing (na) (Gasket, Drive Shaft Housing (na))

под заказ0 руб.
452141-94331-000

Запчасть снята с производства - The Spare Part Is Laid Off (The Spare Part Is Laid Off)

под заказ0 руб.
452141-94321-000

Запчасть снята с производства - The Spare Part Is Laid Off (The Spare Part Is Laid Off)

под заказ0 руб.
509162-06001-000

Шайба с блокировкой - Washer, Lock (Washer, Lock)

под заказ160 руб.
509162-06006-000

   (актуальный код замены) Шайба с блокировкой - Washer, Lock

под заказ160 руб.
509162-06006-000

Шайба с блокировкой - Washer, Lock (Lock washer ) (Washer, Lock)

под заказ160 руб.
609100-06115-000

Болт (6x15) - Bolt (6x15) (Bolt (6x15))

под заказ310 руб.
609117-06040-XC0

   (актуальный код замены) Болт (6x15) - Bolt (6x15)

30 шт310 руб.
609117-06040-XC0

Болт (6x15) - Bolt (6x15) (Bolt (6x15))

30 шт310 руб.
754123-94300-000

Запчасть снята с производства - The Spare Part Is Laid Off (The Spare Part Is Laid Off)

под заказ0 руб.
854121-94300-000

Запчасть снята с производства - The Spare Part Is Laid Off (The Spare Part Is Laid Off)

под заказ0 руб.
909100-08224-000

Болт (8x35) - Bolt (8x35) (Bolt (8x35);) (Bolt (8x35))

под заказ470 руб.
909100-08224-XC0

   (актуальный код замены) Болт (8x35) - Bolt (8x35)

40 шт470 руб.
909100-08224-XC0

Болт (8x35) - Bolt (8x35) (Bolt (8x35))

40 шт470 руб.
1009160-08015-000

Шайба (8.5x16x1.2) - Washer (85x16x12) (Washer (8.5x16x1.2))

под заказ120 руб.
1009160-08082-000

   (актуальный код замены) Шайба (8.5x16x1.2) - Washer (8.5x16x1.2)

13 шт120 руб.
1009160-08082-000

Шайба (8.5x16x1.2) - Washer (85x16x12) (Washer (8.5x16x1.2))

13 шт120 руб.
1154137-94300-000

Запчасть снята с производства - The Spare Part Is Laid Off (The Spare Part Is Laid Off)

под заказ0 руб.
1254130-94300-000

Запчасть снята с производства - The Spare Part Is Laid Off (The Spare Part Is Laid Off)

под заказ0 руб.
1309100-10190-000

Болт (10x145) - Bolt (10x145) (Bolt (10x145);) (Bolt (10x145))

под заказ4230 руб.
1309100-10190-XC0

   (актуальный код замены) Болт (10x145) - Bolt (10x145)

под заказ4230 руб.
1309100-10190-XC0

Болт (10x145) - Bolt (10x145) (Bolt (10x145))

под заказ4230 руб.
1409160-10082-000

Шайба (10.5x19x2) - Washer (105x19x2) (Washer # Washer (10.5x18x1.6); ) (Washer (10.5x19x2))

19 шт120 руб.
1509162-10005-000

Шайба с блокировкой - Washer, Lock (Lock washer ) (Washer, Lock)

под заказ130 руб.
1609140-10031-000

Гайка - Nut (Nut)

10 шт160 руб.
1714215-94300-000

Запчасть снята с производства - The Spare Part Is Laid Off (Asb) (The Spare Part Is Laid Off)

под заказ0 руб.
1714215-94360-000

   (актуальный код замены) Запчасть снята с производства - The Spare Part Is Laid Off

под заказ0 руб.
1714215-94300-H17

Запчасть снята с производства - The Spare Part Is Laid Off (Opt:nasb) (The Spare Part Is Laid Off)

под заказ0 руб.
1714215-94360-000

   (актуальный код замены) Запчасть снята с производства - The Spare Part Is Laid Off

под заказ0 руб.
1809282-30005-000

Запчасть снята с производства - The Spare Part Is Laid Off (302118~) (The Spare Part Is Laid Off)

под заказ0 руб.


Время выполнения запроса 1.8112502098083 сек.

 
 

данный сайт носит информационный характер и не является публичной офертой

склад запчастей для водомоторной техники