Оригинальные запчасти Suzuki DT40К(R)S/L/LL/L2/UL; - Carburetor - Карбюратор
вконтакте

Контактный телефон: +7 (981) 121-46-93, +7 (800) 200-90-76 , Email: parts-katalog@yandex.ru, где купить

 
 

  Логин:

Пароль:

Регистрация

www.partskatalog.ru Все каталоги Запчасти Mercury Запчасти Suzuki Запчасти Tohatsu Запчасти Honda Контакты



УВАЖАЕМЫЕ КЛИЕНТЫ!
C 19 ДЕКАБРЯ 2025 ПО 02 МАРТА 2026 ГОДА ОТДЕЛ ЗАПЧАСТЕЙ И СЕРВИС РАБОТАТЬ НЕ БУДУТ
ПРОДАЖА ЛОДОЧНЫХ МОТОРОВ В ШТАТНОМ РЕЖИМЕ
ОБ ИЗМЕНЕНИЯХ В ГРАФИКЕ РАБОТЫ ЧИТАЙТЕ НА САЙТА



назад Раздел:   вперёд

Вернуться к выбору узлов мотора


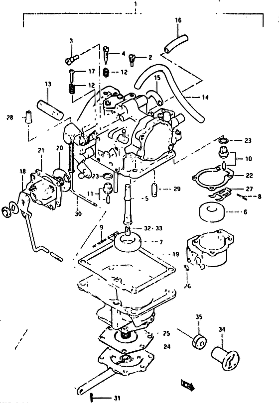
ДЕТАЛИРОВКА ДЛЯ МОДЕЛИ: SUZUKI DT40K VE

Карбюратор


Код модели двигателя: DT40К(R)S/L/LL/L2/UL;

Год выпуска двигателя: 1984

Номер на
рисунке
АртикулНаименованиеQTYКол-во
на складе
Цена
113200-94352-000

Запчасть снята с производства - The Spare Part Is Laid Off (The Spare Part Is Laid Off)

под заказ0 руб.
113200-943B0-000

   (актуальный код замены) Запчасть снята с производства - The Spare Part Is Laid Off

под заказ0 руб.
113200-94372-000

Запчасть снята с производства - The Spare Part Is Laid Off (705609~:E17 88 89:E01) (The Spare Part Is Laid Off)

под заказ0 руб.
113200-943B0-000

   (актуальный код замены) Запчасть снята с производства - The Spare Part Is Laid Off

под заказ0 руб.
209492-90002-000

Контрольная форсунка (90) - Jet, Pilot (90) (Jet, Pilot (90))

под заказ1490 руб.
209492-90004-000

   (актуальный код замены) Контрольная форсунка (90) - Jet, Pilot (90)

под заказ1490 руб.
209492-90004-000

Контрольная форсунка (90) - Jet, Pilot (90) (Jet, pilot (#90) ) (Jet, Pilot (90))

под заказ1490 руб.
209492-95001-000

Запчасть снята с производства - The Spare Part Is Laid Off (705609~:E17) (The Spare Part Is Laid Off)

под заказ0 руб.
209492-95004-000

   (актуальный код замены) Запчасть снята с производства - The Spare Part Is Laid Off

под заказ0 руб.
309492-95001-000

Запчасть снята с производства - The Spare Part Is Laid Off (The Spare Part Is Laid Off)

под заказ0 руб.
309492-95004-000

   (актуальный код замены) Запчасть снята с производства - The Spare Part Is Laid Off

под заказ0 руб.
309492-20016-000

Запчасть снята с производства - The Spare Part Is Laid Off (705609~:E17) (The Spare Part Is Laid Off)

под заказ0 руб.
309492-20025-000

   (актуальный код замены) Запчасть снята с производства - The Spare Part Is Laid Off

под заказ0 руб.
413661-94350-000

Винт контроля воздуха - Screw, Pilot Air (Screw, Pilot Air)

под заказ620 руб.
413269-98100-000

   (актуальный код замены) Винт контроля воздуха - Screw, Pilot Air

под заказ620 руб.
413269-98100-000

Винт контроля воздуха - Screw, Pilot Air (Screw, pilot ) (Screw, Pilot Air)

под заказ620 руб.
513235-94350-000

Nozzle - Nozzle (Nozzle)

под заказ2160 руб.
613270-94350-000

Поплавок - Float (Float)

под заказ1720 руб.
713250-93012-000

Поплавок - Float (Float)

под заказ1950 руб.
813254-98410-000

Стопор поплавка - Pin, Float (Pin, Float)

под заказ240 руб.
913254-93010-000

Стопор поплавка - Pin, Float (Pin, Float)

под заказ240 руб.
913254-98300-000

   (актуальный код замены) Стопор поплавка - Pin, Float

под заказ240 руб.
913254-98300-000

Стопор поплавка - Pin, Float (Pin, float ) (Pin, Float)

под заказ240 руб.
1013370-94350-000

Игольчатый клапан, в сборе - Valve Assy, Needle (GASOLINE ) (Valve Assy, Needle)

под заказ4490 руб.
1113370-28110-000

Игольчатый клапан, в сборе - Valve Assy, Needle (Valve assy, needle # KEROSENE ) (Valve Assy, Needle)

4 шт4350 руб.
1213268-96110-000

Пружина, Дроссель Винт - Spring, Throttle Screw (Spring, Throttle Screw)

под заказ350 руб.
1213268-96111-000

   (актуальный код замены) Пружина, Дроссель Винт - Spring, Throttle Screw

под заказ350 руб.
1213268-96111-000

Пружина, Дроссель Винт - Spring, Throttle Screw (Spring, throttle screw ) (Spring, Throttle Screw)

под заказ350 руб.
1301411-08208-000

Болт под шпильку - Bolt, Stud (Bolt, Stud)

под заказ170 руб.
1301411-0820B-000

   (актуальный код замены) Болт под шпильку - Bolt, Stud

под заказ170 руб.
1301411-0820B-000

Болт под шпильку - Bolt, Stud (Bolt, Stud)

под заказ170 руб.
1413651-94350-000

Шланг - Hose (L:175 ) (Hose)

под заказ870 руб.
1413651-94351-000

   (актуальный код замены) Шланг - Hose

под заказ870 руб.
1513651-94350-000

Шланг - Hose (L:175->70 ) (Hose)

под заказ870 руб.
1513651-94351-000

   (актуальный код замены) Шланг - Hose

под заказ870 руб.
1613651-94350-000

Шланг - Hose (L:175->28 ) (Hose)

под заказ870 руб.
1613651-94351-000

   (актуальный код замены) Шланг - Hose

под заказ870 руб.
1713531-94350-000

Винт стопора - Screw, Stop (Screw, Stop)

под заказ390 руб.
1713534-96300-000

   (актуальный код замены) Винт стопора - Screw, Stop

под заказ390 руб.
1713534-96300-000

Винт стопора - Screw, Stop (Screw, throttle stop ) (Screw, Stop)

под заказ390 руб.
1813580-94351-000

Запчасть снята с производства - The Spare Part Is Laid Off (The Spare Part Is Laid Off)

под заказ0 руб.
1913245-94350-000

Прокладка поплавковой камеры - Gasket, Float Cahmber (Gasket, float chamber ) (Gasket, Float Cahmber)

под заказ760 руб.
2013415-94350-000

Диск в сборе - Disc Assy (Disc Assy)

под заказ3460 руб.
2113418-67110-000

Прокладка карбюратора Disk - Gasket, Carburetor Disk (Gasket, Carburetor Disk)

под заказ490 руб.
2113418-94360-000

   (актуальный код замены) Прокладка карбюратора Disk - Gasket, Carburetor Disk

под заказ490 руб.
2113418-94360-000

Прокладка карбюратора Disk - Gasket, Carburetor Disk (Gasket, Carburetor Disk)

под заказ490 руб.
2213265-94350-000

Прокладка поплавковой камеры - Gasket, Float Cahmber (Gasket, Float Cahmber)

под заказ650 руб.
2213265-94360-000

   (актуальный код замены) Прокладка поплавковой камеры - Gasket, Float Cahmber

под заказ650 руб.
2213265-94360-000

Прокладка поплавковой камеры - Gasket, Float Cahmber (Gasket, Float Cahmber)

под заказ650 руб.
2313392-58600-000

Прокладка седла клапана - Gasket, Valve Seat (Gasket, valve seat ) (Gasket, Valve Seat)

1 шт150 руб.
2413450-94350-000

Membrane в сборе - Membrane Assy (Membrane assy ) (Membrane Assy)

под заказ2430 руб.
2513441-94350-000

Пружина - Spring (Spring)

под заказ340 руб.
2613521-78100-000

Уплотнительное кольцо - O-ring (O-ring)

под заказ220 руб.
2713282-94350-000

Рычаг - Arm (Arm)

под заказ590 руб.
2813461-94350-000

Гайка - Nut (Nut)

под заказ2310 руб.
2913443-94350-000

Клапан в сборе - Valve Assy (Valve Assy)

под заказ2740 руб.
3013462-94351-000

Тяга, Accelerator - Rod, Accelerator (Rod, Accelerator)

под заказ4760 руб.
3113464-96350-000

Стопор пружины - Spring Pin (Spring Pin)

под заказ150 руб.
3209491-36005-000

Главная форсунка (180) - Jet, Main (180) (Jet, main (180) # 705609~:E17 ) (Jet, Main (180))

под заказ970 руб.
3209491-37004-000

Главная форсунка (185) - Jet, Main (185) (Jet, main (185) ) (Jet, Main (185))

под заказ900 руб.
3309491-35004-000

Главная форсунка (175) - Jet, Main (175) (OPT) (Jet, Main (175))

под заказ0 руб.
3309491-35008-000

   (актуальный код замены) Запчасть снята с производства - The Spare Part Is Laid Off

под заказ0 руб.
3309491-35008-000

Главная форсунка (175) - Jet, Main (175) (Jet, Main (175))

под заказ0 руб.
3309491-36005-000

Главная форсунка (180) - Jet, Main (180) (Jet, main (180) # OPT ) (Jet, Main (180))

под заказ970 руб.
3309491-38007-000

Главная форсунка (190) - Jet, Main (190) (Jet, main (190) # OPT ) (Jet, Main (190))

под заказ730 руб.
3413631-93500-000

Рукоятка стартера - Knob, Starter (Knob, Starter)

под заказ460 руб.
3413631-93501-000

   (актуальный код замены) Рукоятка стартера - Knob, Starter

2 шт460 руб.
3413631-93501-000

Рукоятка стартера - Knob, Starter (Knob, Starter)

2 шт460 руб.
3509305-04005-000

Втулка - Bush (Bush)

под заказ160 руб.
3509320-04013-000

   (актуальный код замены) Подушка, Muf Cov - Cushion, Muf Cov

под заказ160 руб.
3509320-04009-000

Втулка - Bush (Bush)

под заказ160 руб.
3509320-04013-000

   (актуальный код замены) Подушка, Muf Cov - Cushion, Muf Cov

под заказ160 руб.


Время выполнения запроса 1.544429063797 сек.

 
 

данный сайт носит информационный характер и не является публичной офертой

склад запчастей для водомоторной техники