Купить запчасти на лодочный мотор SUZUKI DT40CS/L/L2 модель 1985 года - Exhaust tube
вконтакте

Контактный телефон: +7 (981) 121-46-93, +7 (800) 200-90-76 , Email: parts-katalog@yandex.ru, где купить

 
 

  Логин:

Пароль:

Регистрация

www.partskatalog.ru Все каталоги Запчасти Mercury Запчасти Suzuki Запчасти Tohatsu Запчасти Honda Контакты

назад Раздел:   вперёд

Вернуться к выбору узлов мотора


ДЕТАЛИРОВКА ДЛЯ МОДЕЛИ: SUZUKI DT40CVF(VE/VF) F

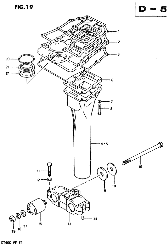
Выхлоп Трубка


Код модели двигателя: DT40CS/L/L2

Год выпуска двигателя: 1985

Регион: General Export No.1 ,Код региона: P01

Номер на
рисунке
АртикулНаименованиеQTYКол-во
на складе
Цена
111433-94400-000

Прокладка нижнего корпуса сальника - Gasket, Under Oil Seal Hsg (Gasket, Under Oil Seal Hsg)

под заказ3700 руб.
111433-94412-000

   (актуальный код замены) Прокладка нижнего корпуса сальника - Gasket, Under Oil Seal Hsg

15 шт4600 руб.
111433-94412-000

Прокладка нижнего корпуса сальника - Gasket, Under Oil Seal Hsg (Gasket, Under Oil Seal Hsg)

15 шт4600 руб.
1SK11433-94412

   (не оригинальный аналог) Прокладка под блок двигателя Skipper для Suzuki Модели техники: DT40

1 шт710 руб.
211431-94400-000

Корпус нижнего сальника - Housing, Under Oil Seal (Housing, Under Oil Seal)

под заказ16370 руб.
211431-94406-000

   (актуальный код замены) Корпус нижнего сальника - Housing, Under Oil Seal

под заказ16370 руб.
211431-94406-000

Корпус нижнего сальника - Housing, Under Oil Seal (Housing, Under Oil Seal)

под заказ16370 руб.
311434-94400-000

Прокладка нижнего сальника под корпусом - Gskt, Under Oil Seal Hsg Lwr (Gskt, Under Oil Seal Hsg Lwr)

под заказ3000 руб.
311434-94411-000

   (актуальный код замены) Прокладка нижнего сальника под корпусом - Gskt, Under Oil Seal Hsg Lwr

7 шт3000 руб.
311434-94411-000

Прокладка нижнего сальника под корпусом - Gskt, Under Oil Seal Hsg Lwr (Gasket, under oil seal lower ) (Gskt, Under Oil Seal Hsg Lwr)

7 шт3000 руб.
3SK11434-94411

   (не оригинальный аналог) Прокладка проставки блока цилиндров Skipper для Suzuki Модели техники: DT40;DT40C

0 шт473 руб.
414211-94400-000

Выхлопная труба - Tube, Exhaust (Tube, Exhaust)

под заказ10760 руб.
414211-94451-000

   (актуальный код замены) Выхлопная труба - Tube, Exhaust

под заказ10760 руб.
414211-94451-000

Выхлопная труба - Tube, Exhaust (Tube, exhaust (s/l) ) (Tube, Exhaust)

под заказ10760 руб.
514211-94410-000

Выхлопная труба - Tube, Exhaust (Tube, exhaust (l2);) (Tube, Exhaust)

под заказ14260 руб.
514211-94461-000

   (актуальный код замены) Выхлопная труба - Tube, Exhaust

4 шт14260 руб.
514211-94461-000

Выхлопная труба - Tube, Exhaust (Tube, exhaust (l2/ll/ul) ) (Tube, Exhaust)

4 шт14260 руб.
614212-94400-000

Прокладка выхлопной трубы - Gasket, Exhaust Tube (Gasket, Exhaust Tube)

под заказ580 руб.
614212-94413-000

   (актуальный код замены) Прокладка выхлопной трубы - Gasket, Exhaust Tube

6 шт640 руб.
614212-94413-000

Прокладка выхлопной трубы - Gasket, Exhaust Tube (Gasket, Exhaust Tube)

6 шт640 руб.
6SK14212-94413

   (не оригинальный аналог) Прокладка выхлопной трубы Skipper для Suzuki DT40

0 шт164 руб.
709160-06015-000

Шайба (6.5x13x1.0) - Washer (65x13x10) (Washer (6.5x13x1.0))

под заказ120 руб.
709160-06082-000

   (актуальный код замены) Шайба (6.5x13x1.0) - Washer (6.5x13x1.0)

6 шт150 руб.
709160-06082-000

Шайба (6.5x13x1.0) - Washer (65x13x10) (Washer (6.5x13x1.0))

6 шт150 руб.
809100-06117-000

Болт (6x35) - Bolt (6x35) (Bolt (6x35))

под заказ0 руб.
809117-06037-XC0

   (актуальный код замены) Запчасть снята с производства - The Spare Part Is Laid Off

под заказ0 руб.
809117-06037-XC0

Болт (6x35) - Bolt (6x35) (Bolt (6x35))

под заказ0 руб.
954121-94400-000

Стопор, вышеr Thrust - Stopper, Upr Thrust (Stopper, upper thrust ) (Stopper, Upr Thrust)

под заказ460 руб.
1009160-10080-000

Шайба (10.2x44x3) - Washer (102x44x3) (Washer (10x44x3) ) (Washer (10.2x44x3))

под заказ390 руб.
1109100-08216-000

Болт (8x45) - Bolt (8x45) (Bolt (8x45))

под заказ390 руб.
1109100-08160-000

   (актуальный код замены) Болт (8x45) - Bolt (8x45)

под заказ390 руб.
1109100-08160-000

Болт (8x45) - Bolt (8x45) (Bolt (8*45) ) (Bolt (8x45))

под заказ390 руб.
1209162-08003-000

Шайба с блокировкой - Washer, Lock (Washer, Lock)

под заказ160 руб.
1209162-08007-000

   (актуальный код замены) Шайба с блокировкой - Washer, Lock

под заказ160 руб.
1209162-08007-000

Шайба с блокировкой - Washer, Lock (Lock washer ) (Washer, Lock)

под заказ160 руб.
1354137-94400-000

под заказнет сведений
1354146-94400-000

Направляющая, вышеr Крепёж корпуса - Guide, Upr Mount Case (Guide, upper mount case ) (Guide, Upr Mount Case)

под заказ580 руб.
1409202-07001-000

Штифт (7x10) - Pin (7x10) (Pin, dowel ) (Pin (7x10))

под заказ160 руб.
1409202-07006-000

   (актуальный код замены) Штифт (7x10) - Pin (7x10)

под заказ160 руб.
1554130-94400-000

Крепление Set, вышеr - Mount Set, Upr (Mount Set, Upr)

под заказ0 руб.
1554100-94800-000

   (актуальный код замены) Запчасть снята с производства - The Spare Part Is Laid Off

под заказ0 руб.
1554100-94800-000

Крепление Set, вышеr - Mount Set, Upr (Mount Set, Upr)

под заказ0 руб.
1609100-10217-000

Болт (10x150) - Bolt (10x150) (Bolt (10x150))

под заказ1870 руб.
1709160-10081-000

Шайба (10x20x3) - Washer (10x20x3) (Washer (10x20x3.0) ) (Washer (10x20x3))

под заказ240 руб.
1809160-10082-000

Шайба (10.5x19x2) - Washer (105x19x2) (Washer ) (Washer (10.5x19x2))

19 шт120 руб.
1909159-10050-000

Гайка - Nut (Nut)

8 шт250 руб.
2009280-50008-000

Уплотнительное кольцо (d: 3.1, Id: 49.4) - O Ring (d:31, Id:494) (O ring (id:49.4, od:3.10) # O ring; ) (O Ring (d:3.1, Id:49.4))

8 шт220 руб.
2109282-17004-000

Сальник (17x28x6) - Seal, Oil (17x28x6) (Seal, Oil (17x28x6))

под заказ810 руб.
2109282-17009-000

   (актуальный код замены) Сальник (17x28x6) - Seal, Oil (17x28x6)

33 шт980 руб.
2109282-17009-000

Сальник (17x28x6) - Seal, Oil (17x28x6) (Oil seal (17x28x6) ) (Seal, Oil (17x28x6))

33 шт980 руб.
21SK09282-17009

   (не оригинальный аналог) Сальник ведущего вала Skipper для Suzuki Модели техники: DT40-65HP, DF25-50HP

0 шт150 руб.


Время выполнения запроса 1.5491259098053 сек.

 
 

данный сайт носит информационный характер и не является публичной офертой

склад запчастей для водомоторной техники