Комплектующие на подвесной двигатель Suzuki DT40CS/L/L2 - Нижняя часть корпуса
вконтакте

Контактный телефон: +7 (981) 121-46-93, +7 (800) 200-90-76 , Email: parts-katalog@yandex.ru, где купить

 
 

  Логин:

Пароль:

Регистрация

www.partskatalog.ru Все каталоги Запчасти Mercury Запчасти Suzuki Запчасти Tohatsu Запчасти Honda Контакты



УВАЖАЕМЫЕ КЛИЕНТЫ!
C 19 ДЕКАБРЯ 2025 ПО 02 МАРТА 2026 ГОДА ОТДЕЛ ЗАПЧАСТЕЙ И СЕРВИС РАБОТАТЬ НЕ БУДУТ
ПРОДАЖА ЛОДОЧНЫХ МОТОРОВ В ШТАТНОМ РЕЖИМЕ
ОБ ИЗМЕНЕНИЯХ В ГРАФИКЕ РАБОТЫ ЧИТАЙТЕ НА САЙТА



назад Раздел:   вперёд

Вернуться к выбору узлов мотора


ДЕТАЛИРОВКА ДЛЯ МОДЕЛИ: SUZUKI DT40C VF/DT40RC VF

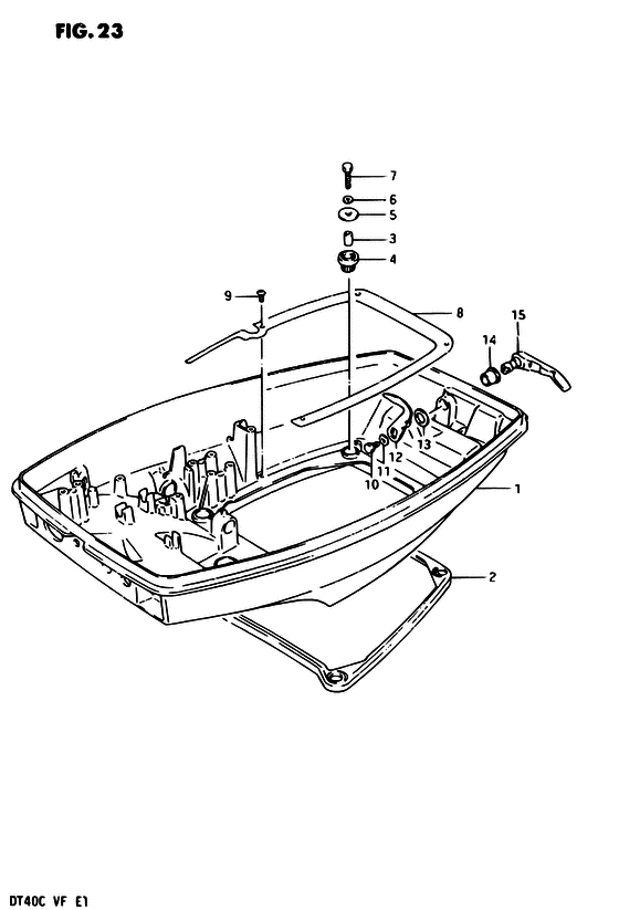
Нижняя часть корпуса


Код модели двигателя: DT40CS/L/L2

Год выпуска двигателя: 1985

Регион: General Export No.1 ,Код региона: P01

Номер на
рисунке
АртикулНаименованиеQTYКол-во
на складе
Цена
161111-94400-02M

Запчасть снята с производства - The Spare Part Is Laid Off (The Spare Part Is Laid Off)

под заказ0 руб.
161111-94402-02M

   (актуальный код замены) Запчасть снята с производства - The Spare Part Is Laid Off

под заказ0 руб.
261113-94400-000

Сальник нижнего кожуха двигателя - Seal, Engine Lwr Cover (Seal, Engine Lwr Cover)

под заказ2840 руб.
261113-92L00-000

   (актуальный код замены) Сальник нижнего кожуха двигателя - Seal, Engine Lwr Cover

под заказ2840 руб.
261113-92L00-000

Сальник нижнего кожуха двигателя - Seal, Engine Lwr Cover (Seal, Engine Lwr Cover)

под заказ2840 руб.
309180-06128-000

Проставка (6.5x10x16) - Spacer (65x10x16) (Spacer (6.5x10x16))

под заказ220 руб.
309180-06295-000

   (актуальный код замены) Проставка (6.5x10x16) - Spacer (6.5x10x16)

под заказ220 руб.
309180-06295-000

Проставка (6.5x10x16) - Spacer (65x10x16) (Spacer (6.5x10x16))

под заказ220 руб.
409320-10035-000

Подушка - Cushion (Cushion)

под заказ230 руб.
509160-06078-000

Шайба (6.5x24x2) - Washer (65x24x2) (Washer (6.5x24x2))

под заказ220 руб.
509160-06104-000

   (актуальный код замены) Шайба (6.5x24x2) - Washer (6.5x24x2)

под заказ220 руб.
509160-06104-000

Шайба (6.5x24x2) - Washer (65x24x2) (Washer (6.5x24x2))

под заказ220 руб.
609162-06001-000

Шайба с блокировкой - Washer, Lock (Washer, Lock)

под заказ160 руб.
609162-06006-000

   (актуальный код замены) Шайба с блокировкой - Washer, Lock

под заказ160 руб.
609162-06006-000

Шайба с блокировкой - Washer, Lock (Lock washer ) (Washer, Lock)

под заказ160 руб.
709100-06121-000

Болт (6x30) - Bolt (6x30) (Bolt (6x30))

под заказ210 руб.
709116-06232-000

   (актуальный код замены) Болт (6x30) - Bolt (6x30)

6 шт270 руб.
709116-06232-000

Болт (6x30) - Bolt (6x30) (Bolt (6x30))

6 шт270 руб.
861138-94400-000

Крышка, Water - Cover, Water (Cover, Water)

под заказ0 руб.
861138-94402-000

   (актуальный код замены) Запчасть снята с производства - The Spare Part Is Laid Off

под заказ0 руб.
861138-94402-000

Крышка, Water - Cover, Water (Cover, Water)

под заказ0 руб.
903242-05109-000

Винт - Screw (Screw)

под заказ180 руб.
903242-0510B-000

   (актуальный код замены) Винт - Screw

под заказ180 руб.
903242-0510B-000

Винт - Screw (Screw)

под заказ180 руб.
1001107-06108-000

Болт - Bolt (Bolt)

под заказ150 руб.
1001500-06107-000

   (актуальный код замены) Болт - Bolt

под заказ150 руб.
1001500-06107-000

Болт - Bolt (Bolt)

под заказ150 руб.
1108322-21068-000

Шайба - Washer (Washer)

под заказ140 руб.
1108322-01067-000

   (актуальный код замены) Шайба - Washer

10 шт160 руб.
1108322-01067-000

Шайба - Washer (Washer)

10 шт160 руб.
1261631-94400-000

Крючок, Lwr Крышка двигателя (капот) - Hook, Lwr Engine Cover (Hook, Lwr Engine Cover)

под заказ0 руб.
1261631-94410-000

   (актуальный код замены) Запчасть снята с производства - The Spare Part Is Laid Off

под заказ0 руб.
1261631-94410-000

Крючок, Lwr Крышка двигателя (капот) - Hook, Lwr Engine Cover (Rack, under cover ) (Hook, Lwr Engine Cover)

под заказ0 руб.
1309164-13005-000

Шайба - Washer (Washer)

под заказ310 руб.
1409306-13002-000

Втулка - Bush (Bush)

под заказ290 руб.
1409306-13007-000

   (актуальный код замены) Втулка - Bush

9 шт290 руб.
1409306-13007-000

Втулка - Bush (Bush)

9 шт290 руб.
1561633-93900-02M

Рычаг, Крючок - Lever, Hook (Lever, Hook)

под заказ13880 руб.
1561633-93930-0ED

   (актуальный код замены) Рычаг, Крючок - Lever, Hook

под заказ13880 руб.
1561633-93930-0ED

Рычаг, Крючок - Lever, Hook (Lever, Hook)

под заказ13880 руб.


Время выполнения запроса 1.8684270381927 сек.

 
 

данный сайт носит информационный характер и не является публичной офертой

склад запчастей для водомоторной техники