Подобрать запчасти на лодочный мотор Suzuki DT40(R)S/L/LL/L2/UL; модель 1986 года - Fuel gauge
вконтакте

Контактный телефон: +7 (981) 121-46-93, +7 (800) 200-90-76 , Email: parts-katalog@yandex.ru, где купить

 
 

  Логин:

Пароль:

Регистрация

www.partskatalog.ru Все каталоги Запчасти Mercury Запчасти Suzuki Запчасти Tohatsu Запчасти Honda Контакты



УВАЖАЕМЫЕ КЛИЕНТЫ!
C 19 ДЕКАБРЯ 2025 ПО 02 МАРТА 2026 ГОДА ОТДЕЛ ЗАПЧАСТЕЙ И СЕРВИС РАБОТАТЬ НЕ БУДУТ
ПРОДАЖА ЛОДОЧНЫХ МОТОРОВ В ШТАТНОМ РЕЖИМЕ
ОБ ИЗМЕНЕНИЯХ В ГРАФИКЕ РАБОТЫ ЧИТАЙТЕ НА САЙТА



назад Раздел:   вперёд

Вернуться к выбору узлов мотора


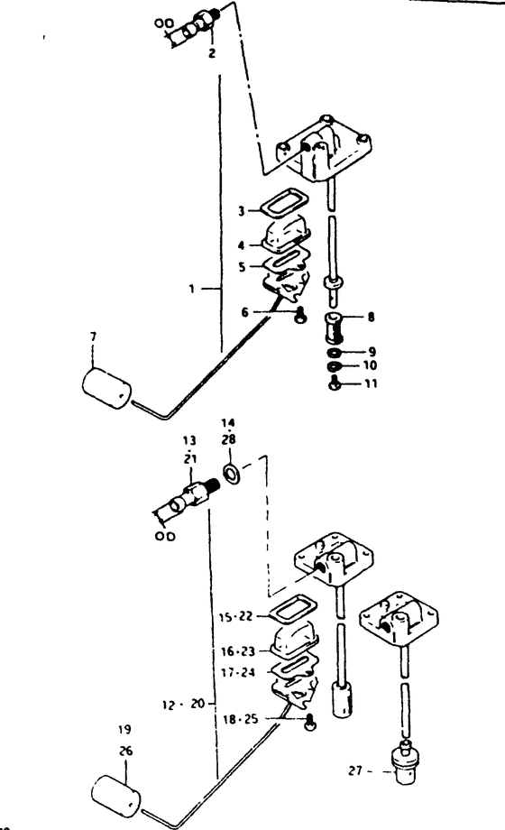
ДЕТАЛИРОВКА ДЛЯ МОДЕЛИ: SUZUKI DT40G(G/J/VZ) G

Fuel gauge


Код модели двигателя: DT40(R)S/L/LL/L2/UL;

Год выпуска двигателя: 1986

Номер на
рисунке
АртикулНаименованиеQTYКол-во
на складе
Цена
165850-95212-000

Запчасть снята с производства - The Spare Part Is Laid Off (Model g) (The Spare Part Is Laid Off)

под заказ0 руб.
265720-98511-000

Запчасть снята с производства - The Spare Part Is Laid Off (Model g) (The Spare Part Is Laid Off)

под заказ0 руб.
365854-93001-000

Прокладка - Gasket (Gasket, strainer; Model g ) (Gasket)

под заказ0 руб.
465853-93001-000

Топливный фильтр Gauge - Strainer, Fuel Gauge (Strainer; Model g ) (Strainer, Fuel Gauge)

под заказ0 руб.
565862-93000-000

Запчасть снята с производства - The Spare Part Is Laid Off (Model g) (The Spare Part Is Laid Off)

под заказ0 руб.
565862-93060-000

   (актуальный код замены) Запчасть снята с производства - The Spare Part Is Laid Off

под заказ0 руб.
602112-04108-000

Винт - Screw (Model g) (Screw)

под заказ120 руб.
602112-04107-000

   (актуальный код замены) Винт - Screw

под заказ120 руб.
602112-04107-000

Винт - Screw (Screw)

под заказ120 руб.
765864-93000-000

Запчасть снята с производства - The Spare Part Is Laid Off (Model g) (The Spare Part Is Laid Off)

под заказ0 руб.
865830-93301-000

Запчасть снята с производства - The Spare Part Is Laid Off (Filter assy; Model g) (The Spare Part Is Laid Off)

под заказ0 руб.
908322-21058-000

Шайба - Washer (Model g) (Washer)

под заказ140 руб.
908322-01057-000

   (актуальный код замены) Шайба - Washer

под заказ140 руб.
908322-01057-000

Шайба - Washer (Washer, front hook holder ) (Washer)

под заказ140 руб.
1008321-21058-000

Шайба с блокировкой - Washer, Lock (Model g) (Washer, Lock)

под заказ140 руб.
1008321-0105A-000

   (актуальный код замены) Шайба с блокировкой - Washer, Lock

под заказ140 руб.
1008321-0105A-000

Шайба с блокировкой - Washer, Lock (Washer, Lock)

под заказ140 руб.
1102112-05088-000

Винт - Screw (Model g) (Screw)

под заказ120 руб.
1102112-05087-000

   (актуальный код замены) Винт - Screw

под заказ120 руб.
1102112-05087-000

Винт - Screw (Screw)

под заказ120 руб.
1265850-95501-000

(Model g)

под заказ0 руб.
1265740-95500-000

Разъем топливного коннектора - Plug, Fuel Connector (Connector, fuel ) (Plug, Fuel Connector)

под заказ2720 руб.
1265740-95501-000

   (актуальный код замены) Разъем топливного коннектора - Plug, Fuel Connector

под заказ2720 руб.
1265850-95X50-000

Прибор - измеритель уровня топлива - Gauge Assy, Fuel (Gauge Assy, Fuel)

под заказ0 руб.
1209168-12015-XC0

Прокладка (12.2x21x0.8) - Gasket (122x21x08) (Gasket (12.2x21x0.8))

под заказ350 руб.
1209168-12015-XC0

Прокладка (12.2x21x0.8) - Gasket (122x21x08) (Gasket (12.2x21x0.8))

под заказ350 руб.
1209168-12015-XC0

Прокладка (12.2x21x0.8) - Gasket (122x21x08) (Gasket (12.2x21x0.8))

под заказ350 руб.
1409168-12001-000

Прокладка (12.5x20x1) - Gasket (125x20x1) (Gasket # Model g ) (Gasket (12.5x20x1))

под заказ220 руб.
1565854-93001-000

Прокладка - Gasket (Gasket, strainer; Model g ) (Gasket)

под заказ0 руб.
1665853-93001-000

Топливный фильтр Gauge - Strainer, Fuel Gauge (Strainer; Model g ) (Strainer, Fuel Gauge)

под заказ0 руб.
1765862-93000-000

Запчасть снята с производства - The Spare Part Is Laid Off (Model g) (The Spare Part Is Laid Off)

под заказ0 руб.
1765862-93060-000

   (актуальный код замены) Запчасть снята с производства - The Spare Part Is Laid Off

под заказ0 руб.
1802112-04108-000

Винт - Screw (Model g) (Screw)

под заказ120 руб.
1802112-04107-000

   (актуальный код замены) Винт - Screw

под заказ120 руб.
1802112-04107-000

Винт - Screw (Screw)

под заказ120 руб.
1965864-93000-000

Запчасть снята с производства - The Spare Part Is Laid Off (Model g) (The Spare Part Is Laid Off)

под заказ0 руб.
2065850-95503-000

(Model j, vz)

под заказ0 руб.
2065740-95500-000

Разъем топливного коннектора - Plug, Fuel Connector (Connector, fuel ) (Plug, Fuel Connector)

под заказ2720 руб.
2065740-95501-000

   (актуальный код замены) Разъем топливного коннектора - Plug, Fuel Connector

под заказ2720 руб.
2065850-95X50-000

Прибор - измеритель уровня топлива - Gauge Assy, Fuel (Gauge Assy, Fuel)

под заказ0 руб.
2009168-12015-XC0

Прокладка (12.2x21x0.8) - Gasket (122x21x08) (Gasket (12.2x21x0.8))

под заказ350 руб.
2009168-12015-XC0

Прокладка (12.2x21x0.8) - Gasket (122x21x08) (Gasket (12.2x21x0.8))

под заказ350 руб.
2009168-12015-XC0

Прокладка (12.2x21x0.8) - Gasket (122x21x08) (Gasket (12.2x21x0.8))

под заказ350 руб.
2265854-93001-000

Прокладка - Gasket (Gasket, strainer; Model j, vz ) (Gasket)

под заказ0 руб.
2365853-93001-000

Топливный фильтр Gauge - Strainer, Fuel Gauge (Strainer; Model j, vz ) (Strainer, Fuel Gauge)

под заказ0 руб.
2465862-93000-000

Запчасть снята с производства - The Spare Part Is Laid Off (Model j, vz) (The Spare Part Is Laid Off)

под заказ0 руб.
2465862-93060-000

   (актуальный код замены) Запчасть снята с производства - The Spare Part Is Laid Off

под заказ0 руб.
2502112-04108-000

Винт - Screw (Model j, vz) (Screw)

под заказ120 руб.
2502112-04107-000

   (актуальный код замены) Винт - Screw

под заказ120 руб.
2502112-04107-000

Винт - Screw (Screw)

под заказ120 руб.
2665864-95200-000

Запчасть снята с производства - The Spare Part Is Laid Off (Float; Model j, vz) (The Spare Part Is Laid Off)

под заказ0 руб.
2765830-95500-000

Фильтр - Filter (Filter assy; Model j, vz ) (Filter)

под заказ1180 руб.
2809168-12001-000

Прокладка (12.5x20x1) - Gasket (125x20x1) (Gasket # Model j, vz ) (Gasket (12.5x20x1))

под заказ220 руб.


Время выполнения запроса 1.6417407989502 сек.

 
 

данный сайт носит информационный характер и не является публичной офертой

склад запчастей для водомоторной техники