Найти запчасти на подвесной лодочный мотор Suzuki DT40К(R)S/L/LL/L2/UL; модель 1987 года - Кожух выхлопной трубы
вконтакте

Контактный телефон: +7 (981) 121-46-93, +7 (800) 200-90-76 , Email: parts-katalog@yandex.ru, где купить

 
 

  Логин:

Пароль:

Регистрация

www.partskatalog.ru Все каталоги Запчасти Mercury Запчасти Suzuki Запчасти Tohatsu Запчасти Honda Контакты



УВАЖАЕМЫЕ КЛИЕНТЫ!
C 19 ДЕКАБРЯ 2025 ПО 02 МАРТА 2026 ГОДА ОТДЕЛ ЗАПЧАСТЕЙ И СЕРВИС РАБОТАТЬ НЕ БУДУТ
ПРОДАЖА ЛОДОЧНЫХ МОТОРОВ В ШТАТНОМ РЕЖИМЕ
ОБ ИЗМЕНЕНИЯХ В ГРАФИКЕ РАБОТЫ ЧИТАЙТЕ НА САЙТА



назад Раздел:   вперёд

Вернуться к выбору узлов мотора


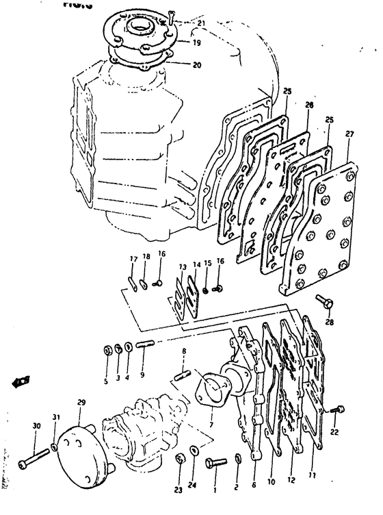
ДЕТАЛИРОВКА ДЛЯ МОДЕЛИ: SUZUKI DT40KVH(Z-K) H

вход case - Кожух выхлопной трубы


Код модели двигателя: DT40К(R)S/L/LL/L2/UL;

Год выпуска двигателя: 1987

Номер на
рисунке
АртикулНаименованиеQTYКол-во
на складе
Цена
101107-06302-000

Болт - Bolt (Bolt)

под заказ190 руб.
101500-06307-000

   (актуальный код замены) Болт - Bolt

под заказ190 руб.
101500-06307-000

Болт - Bolt (Bolt)

под заказ190 руб.
208322-21062-000

Шайба - Washer (Washer)

под заказ140 руб.
208322-01067-000

   (актуальный код замены) Шайба - Washer

10 шт160 руб.
208322-01067-000

Шайба - Washer (Washer)

10 шт160 руб.
308321-21062-000

Шайба с блокировкой - Washer, Lock (Washer, Lock)

под заказ140 руб.
308321-01067-000

   (актуальный код замены) Шайба с блокировкой - Washer, Lock

под заказ140 руб.
308321-01067-000

Шайба с блокировкой - Washer, Lock (Washer, Lock)

под заказ140 руб.
408322-21062-000

Шайба - Washer (Washer)

под заказ140 руб.
408322-01067-000

   (актуальный код замены) Шайба - Washer

10 шт160 руб.
408322-01067-000

Шайба - Washer (Washer)

10 шт160 руб.
508310-11062-000

Гайка - Nut (Nut)

под заказ140 руб.
508310-00067-000

   (актуальный код замены) Гайка - Nut

под заказ140 руб.
508310-00067-000

Гайка - Nut (Nut)

под заказ140 руб.
612480-94350-01J

Запчасть снята с производства - The Spare Part Is Laid Off (Case, inlet (blue);) (The Spare Part Is Laid Off)

под заказ0 руб.
612480-94350-0ED

   (актуальный код замены) Запчасть снята с производства - The Spare Part Is Laid Off

под заказ0 руб.
612480-94350-02M

Запчасть снята с производства - The Spare Part Is Laid Off (Case, inlet (silver);) (The Spare Part Is Laid Off)

под заказ0 руб.
612480-94350-0ED

   (актуальный код замены) Запчасть снята с производства - The Spare Part Is Laid Off

под заказ0 руб.
612480-94350-01T

Запчасть снята с производства - The Spare Part Is Laid Off (Case, inlet (white);) (The Spare Part Is Laid Off)

под заказ0 руб.
612480-94350-0ED

   (актуальный код замены) Запчасть снята с производства - The Spare Part Is Laid Off

под заказ0 руб.
612480-94350-0ED

Запчасть снята с производства - The Spare Part Is Laid Off (Case, inlet (gray);) (The Spare Part Is Laid Off)

под заказ0 руб.
713125-95200-000

Прокладка карбюратора - Gasket, Carburetor (Asb) (Gasket, Carburetor)

под заказ430 руб.
713125-95210-000

   (актуальный код замены) Прокладка карбюратора - Gasket, Carburetor

7 шт480 руб.
713125-95210-000

Прокладка карбюратора - Gasket, Carburetor (Gasket, carburetor ) (Gasket, Carburetor)

7 шт480 руб.
713125-95200-H17

Прокладка карбюратора - Gasket, Carburetor (Opt:nasb) (Gasket, Carburetor)

под заказ430 руб.
713125-95210-000

   (актуальный код замены) Прокладка карбюратора - Gasket, Carburetor

7 шт480 руб.
713125-95210-000

Прокладка карбюратора - Gasket, Carburetor (Gasket, carburetor ) (Gasket, Carburetor)

7 шт480 руб.
801411-08202-000

Болт под шпильку - Bolt, Stud (Bolt, Stud)

под заказ130 руб.
801411-0820A-000

   (актуальный код замены) Болт под шпильку - Bolt, Stud

под заказ130 руб.
801411-0820A-000

Болт под шпильку - Bolt, Stud (Bolt, Stud)

под заказ130 руб.
901421-06252-000

Болт под шпильку - Bolt, Stud (Bolt, Stud)

под заказ190 руб.
901421-06257-000

   (актуальный код замены) Болт под шпильку - Bolt, Stud

под заказ190 руб.
901421-06257-000

Болт под шпильку - Bolt, Stud (Stud bolt ) (Bolt, Stud)

под заказ190 руб.
1013121-94350-000

Прокладка, вход Case - Gasket, Inlet Case (Gasket, Inlet Case)

под заказ0 руб.
1013121-94360-000

   (актуальный код замены) Запчасть снята с производства - The Spare Part Is Laid Off

под заказ0 руб.
1013121-94360-000

Прокладка, вход Case - Gasket, Inlet Case (Gasket, Inlet Case)

под заказ0 руб.
1113122-94300-000

Прокладка седла клапана - Gasket, Valve Seat (Asb) (Gasket, Valve Seat)

под заказ0 руб.
1113122-94360-000

   (актуальный код замены) Запчасть снята с производства - The Spare Part Is Laid Off

под заказ0 руб.
1113122-94360-000

Прокладка седла клапана - Gasket, Valve Seat (Gasket, Valve Seat)

под заказ0 руб.
1113122-94300-H17

Прокладка седла клапана - Gasket, Valve Seat (Opt:nasb) (Gasket, Valve Seat)

под заказ0 руб.
1113122-94360-000

   (актуальный код замены) Запчасть снята с производства - The Spare Part Is Laid Off

под заказ0 руб.
1113122-94360-000

Прокладка седла клапана - Gasket, Valve Seat (Gasket, Valve Seat)

под заказ0 руб.
1213150-94301-000

Язычковый клапан, в сборе - Valve Assy, Reed (Valve Assy, Reed)

под заказ0 руб.
1313153-94301-000

Запчасть снята с производства - The Spare Part Is Laid Off (The Spare Part Is Laid Off)

под заказ0 руб.
1413152-94300-000

Запчасть снята с производства - The Spare Part Is Laid Off (The Spare Part Is Laid Off)

под заказ0 руб.
1508321-21032-000

Шайба с блокировкой - Washer, Lock (Washer, Lock)

под заказ110 руб.
1508321-2103B-000

   (актуальный код замены) Шайба с блокировкой - Washer, Lock

под заказ110 руб.
1508321-2103B-000

Шайба с блокировкой - Washer, Lock (Washer, Lock)

под заказ110 руб.
1609126-06008-000

Винт (6x16) - Screw (6x16) (Screw (6x16))

под заказ220 руб.
1716411-93010-000

Запчасть снята с производства - The Spare Part Is Laid Off (Valve, lubrication reed;) (The Spare Part Is Laid Off)

под заказ0 руб.
1816421-93010-000

Запчасть снята с производства - The Spare Part Is Laid Off (The Spare Part Is Laid Off)

под заказ0 руб.
1911411-94351-01J

Запчасть снята с производства - The Spare Part Is Laid Off (Hsg, upper oil seal (blue);) (The Spare Part Is Laid Off)

под заказ0 руб.
1911411-94351-02M

Запчасть снята с производства - The Spare Part Is Laid Off (Hsg, upper oil seal (silver);) (The Spare Part Is Laid Off)

под заказ0 руб.
1911411-94351-0ED

   (актуальный код замены) Запчасть снята с производства - The Spare Part Is Laid Off

под заказ0 руб.
1911411-94351-01T

Запчасть снята с производства - The Spare Part Is Laid Off (Hsg, upper oil seal (white);) (The Spare Part Is Laid Off)

под заказ0 руб.
1911411-94351-0ED

   (актуальный код замены) Запчасть снята с производства - The Spare Part Is Laid Off

под заказ0 руб.
1911411-94351-0ED

Запчасть снята с производства - The Spare Part Is Laid Off (Hsg, upper oil seal (gray);) (The Spare Part Is Laid Off)

под заказ0 руб.
2011413-94300-000

Прокладка верхнего корпуса сальника (na) - Gasket, Upr Oil Seal Hsg (na) (Asb) (Gasket, Upr Oil Seal Hsg (na))

под заказ0 руб.
2011413-94360-000

   (актуальный код замены) Запчасть снята с производства - The Spare Part Is Laid Off

под заказ0 руб.
2011413-94360-000

Прокладка верхнего корпуса сальника (na) - Gasket, Upr Oil Seal Hsg (na) (Gasket, Upr Oil Seal Hsg (na))

под заказ0 руб.
2011413-94300-H17

Прокладка верхнего корпуса сальника (na) - Gasket, Upr Oil Seal Hsg (na) (Opt:nasb) (Gasket, Upr Oil Seal Hsg (na))

под заказ0 руб.
2011413-94360-000

   (актуальный код замены) Запчасть снята с производства - The Spare Part Is Laid Off

под заказ0 руб.
2011413-94360-000

Прокладка верхнего корпуса сальника (na) - Gasket, Upr Oil Seal Hsg (na) (Gasket, Upr Oil Seal Hsg (na))

под заказ0 руб.
2102122-06202-000

Винт - Screw (Screw)

под заказ140 руб.
2102122-0620B-000

   (актуальный код замены) Винт - Screw

под заказ140 руб.
2102122-0620B-000

Винт - Screw (Screw)

под заказ140 руб.
2209126-06008-000

Винт (6x16) - Screw (6x16) (Screw (6x16))

под заказ220 руб.
2308310-22082-000

Гайка - Nut (Nut)

под заказ140 руб.
2308310-00087-000

   (актуальный код замены) Гайка - Nut

под заказ140 руб.
2308310-00087-000

Гайка - Nut (Nut)

под заказ140 руб.
2408322-11082-000

Шайба - Washer (Washer)

под заказ140 руб.
2408322-01087-000

   (актуальный код замены) Шайба - Washer

под заказ140 руб.
2408322-01087-000

Шайба - Washer (Lock washer ) (Washer)

под заказ140 руб.
2514151-94300-000

Прокладка кожуха выхлопной трубы - Gasket, Exhaust Cover (Asb) (Gasket, Exhaust Cover)

под заказ1960 руб.
2514151-94361-000

   (актуальный код замены) Прокладка кожуха выхлопной трубы - Gasket, Exhaust Cover

под заказ1960 руб.
2514151-94361-000

Прокладка кожуха выхлопной трубы - Gasket, Exhaust Cover (Gasket, Exhaust Cover)

под заказ1960 руб.
2514151-94300-H17

Прокладка кожуха выхлопной трубы - Gasket, Exhaust Cover (Opt:nasb) (Gasket, Exhaust Cover)

под заказ1960 руб.
2514151-94361-000

   (актуальный код замены) Прокладка кожуха выхлопной трубы - Gasket, Exhaust Cover

под заказ1960 руб.
2514151-94361-000

Прокладка кожуха выхлопной трубы - Gasket, Exhaust Cover (Gasket, Exhaust Cover)

под заказ1960 руб.
2614131-94300-000

Запчасть снята с производства - The Spare Part Is Laid Off (The Spare Part Is Laid Off)

под заказ0 руб.
2714141-94300-01J

Запчасть снята с производства - The Spare Part Is Laid Off (The Spare Part Is Laid Off)

под заказ0 руб.
2714141-94300-0ED

   (актуальный код замены) Запчасть снята с производства - The Spare Part Is Laid Off

под заказ0 руб.
2714141-94300-02M

Запчасть снята с производства - The Spare Part Is Laid Off (The Spare Part Is Laid Off)

под заказ0 руб.
2714141-94300-0ED

   (актуальный код замены) Запчасть снята с производства - The Spare Part Is Laid Off

под заказ0 руб.
2714141-94300-01T

Запчасть снята с производства - The Spare Part Is Laid Off (Cover, exhaust (white);) (The Spare Part Is Laid Off)

под заказ0 руб.
2714141-94300-0ED

   (актуальный код замены) Запчасть снята с производства - The Spare Part Is Laid Off

под заказ0 руб.
2714141-94300-0ED

Запчасть снята с производства - The Spare Part Is Laid Off (Cover, exhaust (gray);) (The Spare Part Is Laid Off)

под заказ0 руб.
2801517-06252-000

Болт - Bolt (Bolt)

под заказ180 руб.
2801550-06257-000

   (актуальный код замены) Болт - Bolt

под заказ180 руб.
2801550-06257-000

Болт - Bolt (Bolt)

под заказ180 руб.
2913811-94300-000

(Model:82, 83)

под заказнет сведений
2913811-96351-000

Корпус глушителя - Case, Silencer (Case, Silencer)

под заказ870 руб.
2902112-06407-000

Винт - Screw (Screw)

под заказ130 руб.
2908322-01067-000

Шайба - Washer (Washer)

10 шт160 руб.
2902112-06407-000

Винт - Screw (Screw)

под заказ130 руб.
2908322-01067-000

Шайба - Washer (Washer)

10 шт160 руб.
2908322-01067-000

Шайба - Washer (Washer)

10 шт160 руб.
2902112-06407-000

Винт - Screw (Screw)

под заказ130 руб.
2913811-94301-000

Корпус глушителя - Case, Silencer (Model:84~) (Case, Silencer)

под заказ870 руб.
2913811-96351-000

   (актуальный код замены) Корпус глушителя - Case, Silencer

под заказ870 руб.
2913811-96351-000

Корпус глушителя - Case, Silencer (Case, Silencer)

под заказ870 руб.
3002112-06452-000

Винт - Screw (For 13811-94300) (Screw)

под заказ130 руб.
3002112-06457-000

   (актуальный код замены) Винт - Screw

под заказ130 руб.
3002112-06457-000

Винт - Screw (Screw)

под заказ130 руб.
3002112-06402-000

Винт - Screw (For 13811-94301) (Screw)

под заказ130 руб.
3002112-06407-000

   (актуальный код замены) Винт - Screw

под заказ130 руб.
3002112-06407-000

Винт - Screw (Screw)

под заказ130 руб.
3108322-21062-000

Шайба - Washer (Washer)

под заказ140 руб.
3108322-01067-000

   (актуальный код замены) Шайба - Washer

10 шт160 руб.
3108322-01067-000

Шайба - Washer (Washer)

10 шт160 руб.


Время выполнения запроса 3.7111899852753 сек.

 
 

данный сайт носит информационный характер и не является публичной офертой

склад запчастей для водомоторной техники