Подобрать оригинальные запчасти на подвесной двигатель Suzuki DT40К(R)S/L/LL/L2/UL; модель 1988 года - Коленвал
вконтакте

Контактный телефон: +7 (981) 121-46-93, +7 (800) 200-90-76 , Email: parts-katalog@yandex.ru, где купить

 
 

  Логин:

Пароль:

Регистрация

www.partskatalog.ru Все каталоги Запчасти Mercury Запчасти Suzuki Запчасти Tohatsu Запчасти Honda Контакты



УВАЖАЕМЫЕ КЛИЕНТЫ!
C 19 ДЕКАБРЯ 2025 ПО 02 МАРТА 2026 ГОДА ОТДЕЛ ЗАПЧАСТЕЙ И СЕРВИС РАБОТАТЬ НЕ БУДУТ
ПРОДАЖА ЛОДОЧНЫХ МОТОРОВ В ШТАТНОМ РЕЖИМЕ
ОБ ИЗМЕНЕНИЯХ В ГРАФИКЕ РАБОТЫ ЧИТАЙТЕ НА САЙТА



назад Раздел:   вперёд

Вернуться к выбору узлов мотора


ДЕТАЛИРОВКА ДЛЯ МОДЕЛИ: SUZUKI DT40KVJ(Z-K) J

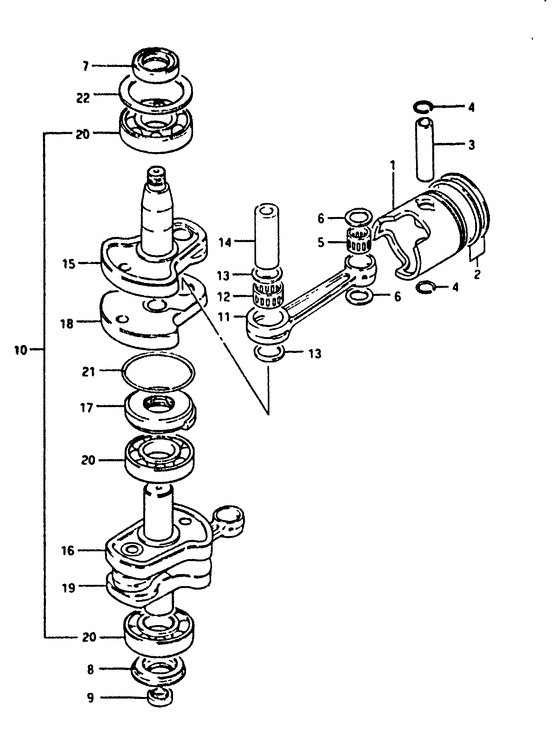
Коленвал


Код модели двигателя: DT40К(R)S/L/LL/L2/UL;

Год выпуска двигателя: 1988

Номер на
рисунке
АртикулНаименованиеQTYКол-во
на складе
Цена
112110-94354-000

Поршень (76.00 мм) - Piston (7600mm) (Piston (std) # Piston (std); ) (Piston (76.00mm))

под заказ9890 руб.
112110-94354-025

Запчасть снята с производства - The Spare Part Is Laid Off (Opt) (The Spare Part Is Laid Off)

под заказ0 руб.
112103-94810-025

   (актуальный код замены) Запчасть снята с производства - The Spare Part Is Laid Off

под заказ0 руб.
112110-94354-050

Комплект поршня (os: 0.5) - Piston Set (os:05) (Opt) (Piston Set (os:0.5))

под заказ0 руб.
112103-94810-050

   (актуальный код замены) Запчасть снята с производства - The Spare Part Is Laid Off

под заказ0 руб.
1SC-PS066

   (не оригинальный аналог) Поршневой комплект Suzuki +0,5 SC-PS066

под заказ4390 руб.
112103-94810-050

Комплект поршня (os: 0.5) - Piston Set (os:05) (Piston Set (os:0.5))

под заказ0 руб.
212140-94351-000

Поршневые кольца - Ring Set, Piston (Ring set, piston (std) # Ring set, piston (std); ) (Ring Set, Piston)

под заказ0 руб.
212140-94351-025

Запчасть снята с производства - The Spare Part Is Laid Off (Opt) (The Spare Part Is Laid Off)

под заказ0 руб.
212140-94351-050

Запчасть снята с производства - The Spare Part Is Laid Off (Opt) (The Spare Part Is Laid Off)

под заказ0 руб.
312151-97500-000

Поршневой палец - Pin, Piston (Pin, piston ) (Pin, Piston)

под заказ0 руб.
409381-18002-000

Стопорное кольцо - Circlip (Circlip)

17 шт150 руб.
4SK09381-18002

   (не оригинальный аналог) Кольцо стопорное пальца поршня Skipper для Suzuki Модели техники: DT20-40 HP, DF4-6 HP, DF40A-90A HP

0 шт57 руб.
409381-18002

   (не оригинальный аналог) Комплект стопорных колец (2 шт.) поршневого пальца Suzuki 09381-18002

под заказ80 руб.
509263-18015-000

Подшипник (18x24x24) - Bearing (18x24x24) (Bearing, piston pin ) (Bearing (18x24x24))

под заказ1610 руб.
609169-18004-000

Запчасть снята с производства - The Spare Part Is Laid Off (The Spare Part Is Laid Off)

под заказ0 руб.
709283-30011-000

Сальник (30x55x10) - Seal, Oil (30x55x10) (30x55x10) (Seal, Oil (30x55x10))

под заказ2100 руб.
709283-30L03-000

   (актуальный код замены) Сальник (30x55x10) - Seal, Oil (30x55x10)

15 шт4300 руб.
709283-30064

   (не оригинальный аналог) Сальник коленвала Suzuki 09283-30064

под заказ750 руб.
7SC-OL143

   (не оригинальный аналог) Сальник коленвала Suzuki SC-OL143

1 шт620 руб.
709283-30L03-000

Сальник (30x55x10) - Seal, Oil (30x55x10) (Seal, Oil (30x55x10))

15 шт4300 руб.
809283-30042-000

Сальник (30x55x8) - Seal, Oil (30x55x8) (Seal, Oil (30x55x8))

под заказ1310 руб.
809283-30077-000

   (актуальный код замены) Сальник (30x55x8) - Seal, Oil (30x55x8)

77 шт1450 руб.
809283-30062-000

Сальник (30x55x8) - Seal, Oil (30x55x8) (Seal, Oil (30x55x8))

1 шт1450 руб.
809283-30077-000

   (актуальный код замены) Сальник (30x55x8) - Seal, Oil (30x55x8)

77 шт1450 руб.
8SK09283-30062

   (не оригинальный аналог) Сальник коленвала Skipper для Suzuki Модели техники: DT20-40, нижний

0 шт398 руб.
909282-17004-000

Сальник (17x28x6) - Seal, Oil (17x28x6) (17x28x6) (Seal, Oil (17x28x6))

под заказ810 руб.
909282-17009-000

   (актуальный код замены) Сальник (17x28x6) - Seal, Oil (17x28x6)

33 шт980 руб.
909282-17009-000

Сальник (17x28x6) - Seal, Oil (17x28x6) (Oil seal (17x28x6) ) (Seal, Oil (17x28x6))

33 шт980 руб.
9SK09282-17009

   (не оригинальный аналог) Сальник ведущего вала Skipper для Suzuki Модели техники: DT40-65HP, DF25-50HP

0 шт150 руб.
1012200-94355-000

Запчасть снята с производства - The Spare Part Is Laid Off (Model:82~88) (The Spare Part Is Laid Off)

под заказ0 руб.
1012200-94361-000

   (актуальный код замены) Запчасть снята с производства - The Spare Part Is Laid Off

под заказ0 руб.
1012200-94360-000

Запчасть снята с производства - The Spare Part Is Laid Off (Model:89) (The Spare Part Is Laid Off)

под заказ0 руб.
1012200-94361-000

   (актуальный код замены) Запчасть снята с производства - The Spare Part Is Laid Off

под заказ0 руб.
1112161-94350-000

Запчасть снята с производства - The Spare Part Is Laid Off (The Spare Part Is Laid Off)

под заказ0 руб.
1209263-25036-000

Запчасть снята с производства - The Spare Part Is Laid Off (The Spare Part Is Laid Off)

под заказ0 руб.
1308211-25321-000

Шайба - Washer (Washer ) (Washer)

под заказ230 руб.
1412211-94302-000

Запчасть снята с производства - The Spare Part Is Laid Off (The Spare Part Is Laid Off)

под заказ0 руб.
1512221-94300-000

Запчасть снята с производства - The Spare Part Is Laid Off (The Spare Part Is Laid Off)

под заказ0 руб.
1612232-94300-000

Запчасть снята с производства - The Spare Part Is Laid Off (The Spare Part Is Laid Off)

под заказ0 руб.
1712321-94301-000

(Model:82, 83)

под заказнет сведений
1709280-61002-000

Уплотнительное кольцо (d: 3.5, Id: 61) - O Ring (d:35, Id:61) (O ring ) (O Ring (d:3.5, Id:61))

под заказ340 руб.
1709280-61004-000

   (актуальный код замены) Уплотнительное кольцо (d: 3.5, Id: 61) - O Ring (d:3.5, Id:61)

под заказ340 руб.
1712321-94303-000

Сальник лабиринта - Seal, Labyrinth (Seal, labyrinty ) (Seal, Labyrinth)

под заказ0 руб.
1712321-94302-000

Сальник лабиринта - Seal, Labyrinth (Model:84) (Seal, Labyrinth)

под заказ0 руб.
1712321-94303-000

   (актуальный код замены) Запчасть снята с производства - The Spare Part Is Laid Off

под заказ0 руб.
1712321-94303-000

Сальник лабиринта - Seal, Labyrinth (Seal, labyrinty ) (Seal, Labyrinth)

под заказ0 руб.
1712321-94303-000

Сальник лабиринта - Seal, Labyrinth (Seal, labyrinty # Model:85~88 ) (Seal, Labyrinth)

под заказ0 руб.
1709289-43001-000

Запчасть снята с производства - The Spare Part Is Laid Off (Model:89) (The Spare Part Is Laid Off)

под заказ0 руб.
1812231-94300-000

Запчасть снята с производства - The Spare Part Is Laid Off (The Spare Part Is Laid Off)

под заказ0 руб.
1912240-94302-000

Запчасть снята с производства - The Spare Part Is Laid Off (The Spare Part Is Laid Off)

под заказ0 руб.
2009262-30055-000

Подшипник (30x72x19) - Bearing (30x72x19) (Bearing, crankshaft; 30x72x19 ) (Bearing (30x72x19))

29 шт5500 руб.
20SC-BR031

   (не оригинальный аналог) Подшипник коленвала Suzuki SC-BR031

под заказ2870 руб.
2083516CKOYO

   (подбор по маркировке) Подшипник KOYO 83516C(30*72*19 мм)

под заказ0
2109280-63001-000

Уплотнительное кольцо (d: 1.9, Id: 63.1) - O Ring (d:19, Id:631) (O ring (d:1.9 id:63.1) # Model:82, 83 ) (O Ring (d:1.9, Id:63.1))

под заказ220 руб.
2109280-63005-000

   (актуальный код замены) Уплотнительное кольцо - O Ring

под заказ220 руб.
2109280-61002-000

Уплотнительное кольцо (d: 3.5, Id: 61) - O Ring (d:35, Id:61) (O ring # Model:84 ) (O Ring (d:3.5, Id:61))

под заказ340 руб.
2109280-61004-000

   (актуальный код замены) Уплотнительное кольцо (d: 3.5, Id: 61) - O Ring (d:3.5, Id:61)

под заказ340 руб.
2209181-62005-000

Регулировочная шайба (62x71x0.5) - Shim (62x71x05) (302649~ ) (Shim (62x71x0.5))

под заказ160 руб.


Время выполнения запроса 3.1904900074005 сек.

 
 

данный сайт носит информационный характер и не является публичной офертой

склад запчастей для водомоторной техники