| |
 |
|
 |
Вернуться к выбору узлов мотора
ДЕТАЛИРОВКА ДЛЯ МОДЕЛИ: SUZUKI DT40CL L
Power unit
Код модели двигателя: DT40CS/L/L2
Год выпуска двигателя: 1990
Регион: General Export No.1 ,Код региона: P01
Цвет: California Gray Metallic
Номер на рисунке | Артикул | Наименование | QTY | Кол-во на складе | Цена |
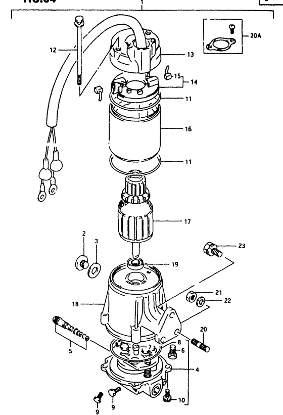
| 1 | 48500-94420-0ED | Power Unit в сборе, Ptt (gray) - Power Unit Assy, Ptt (gray) (Power unit assy, ptt ) (Power Unit Assy, Ptt (gray)) | | под заказ | 0 руб. |
| 2 | 48511-95500-000 | Заглушка - Plug (Plug, oil filler; ) (Plug) | | под заказ | 0 руб. |
| 3 | 09280-09005-000 | Уплотнительное кольцо (d: 1.9, Id: 8.6) - O Ring (d:19, Id:86) (O ring (d:1.9 id:8.6); ) (O Ring (d:1.9, Id:8.6)) | | 9 шт | 390 руб. |
| 4 | 48502-94410-000 | Помпа & Клапан Корпус в сборе - Pump & Valve Body Assy (Pump/valve body assy ) (Pump & Valve Body Assy) | | под заказ | 130560 руб. |
| 5 | 48550-94600-000 | Ручной клапан - Valve, Manual (Valve, manual ) (Valve, Manual) | | под заказ | 0 руб. |
| 6 | 48581-94500-000 | Фильтр - Filter (Filter) | | под заказ | 0 руб. |
| 6 | 48581-87D00-000 | (актуальный код замены) Запчасть снята с производства - The Spare Part Is Laid Off | | под заказ | 0 руб. |
| 6 | 48581-87D00-000 | Фильтр - Filter (Filter, valve case ) (Filter) | | под заказ | 0 руб. |
| 7 | 48583-94520-000 | Соединение привода - Joint, Drive (Joint, drive # Joint, drive; ) (Joint, Drive) | | под заказ | 0 руб. |
| 8 | 48585-94520-000 | Уплотнительное кольцо - O Ring (O ring, valve body # O ring, valve body; ) (O Ring) | | под заказ | 0 руб. |
| 9 | 48586-94500-000 | Заглушка, Клапан Корпус Port - Plug, Valve Body Port (Plug, valve body # Plug, valve body port; ) (Plug, Valve Body Port) | | под заказ | 0 руб. |
| 10 | 48593-94500-000 | Винт (5x20) - Screw (5x20) (Screw, valve body;) (Screw (5x20)) | | под заказ | 150 руб. |
| 10 | 09136-05041-000 | (актуальный код замены) Винт (5x20) - Screw (5x20) | | 4 шт | 150 руб. |
| 10 | 09136-05041-000 | Винт (5x20) - Screw (5x20) (Screw, rod adjuster ) (Screw (5x20)) | | 4 шт | 150 руб. |
| 11 | 09280-70010-000 | Уплотнительное кольцо (d: 2, Id: 69.5) - O Ring (d:2, Id:695) (O ring (d:2, id:69.5); ) (O Ring (d:2, Id:69.5)) | | под заказ | 310 руб. |
| 12 | 31281-94610-000 | Запчасть снята с производства - The Spare Part Is Laid Off (Through bolt;) (The Spare Part Is Laid Off) | | под заказ | 0 руб. |
| 13 | 31170-94610-0ED | Запчасть снята с производства - The Spare Part Is Laid Off (The Spare Part Is Laid Off) | | под заказ | 0 руб. |
| 14 | 31173-94620-000 | Держатель, Щётка - Holder, Brush (Holder, Brush) | | под заказ | 25200 руб. |
| 15 | 31133-94610-000 | Щётка - Brush (Brush) | | под заказ | 1370 руб. |
| 16 | 31110-94610-0ED | Запчасть снята с производства - The Spare Part Is Laid Off (The Spare Part Is Laid Off) | | под заказ | 0 руб. |
| 17 | 31311-94610-000 | Запчасть снята с производства - The Spare Part Is Laid Off (Armature assy;) (The Spare Part Is Laid Off) | | под заказ | 0 руб. |
| 18 | 48570-94610-0ED | Резервуар - Reservoir (Reservsir; ) (Reservoir) | | под заказ | 0 руб. |
| 19 | 33799-94610-000 | Сальник - Seal, Oil (Seal, oil; ) (Seal, Oil) | | под заказ | 3080 руб. |
| 20 | 33899-94600-000 | Запчасть снята с производства - The Spare Part Is Laid Off (The Spare Part Is Laid Off) | | под заказ | 0 руб. |
| 20 | 09108-08130-000 | Болт под шпильку - Bolt, Stud (Stud bolt; ) (Bolt, Stud) | | 7 шт | 710 руб. |
| 21 | 09140-08016-000 | Гайка - Nut (Nut) | | под заказ | 190 руб. |
| 21 | 09140-08023-XC0 | Гайка - Nut (Nut) | | 14 шт | 190 руб. |
| 22 | 09162-08007-000 | Шайба с блокировкой - Washer, Lock (Lock washer ) (Washer, Lock) | | под заказ | 160 руб. |
| 23 | 09117-08046-000 | Болт (8x22) - Bolt (8x22) (Bolt (8x22)) | | под заказ | 730 руб. |
| 23 | 09116-08149-000 | (актуальный код замены) Болт (8x22) - Bolt (8x22) | | под заказ | 730 руб. |
| 23 | 09116-08149-000 | Болт (8x22) - Bolt (8x22) (Bolt (8x22)) | | под заказ | 730 руб. |
| 23 | 09116-08149-000 | Болт (8x22) - Bolt (8x22) (Bolt (8x22)) | | под заказ | 730 руб. |
Время выполнения запроса 1.6735088825226 сек. |
|