Оригинальные запчасти на подвесной двигатель Suzuki DT40W(R)S/L/LL/L2/UL; модель 1990 года - Power unit
вконтакте

Контактный телефон: +7 (981) 121-46-93, +7 (800) 200-90-76 , Email: parts-katalog@yandex.ru, где купить

 
 

  Логин:

Пароль:

Регистрация

www.partskatalog.ru Все каталоги Запчасти Mercury Запчасти Suzuki Запчасти Tohatsu Запчасти Honda Контакты

назад Раздел:   вперёд

Вернуться к выбору узлов мотора


ДЕТАЛИРОВКА ДЛЯ МОДЕЛИ: SUZUKI DT40W L/DT40WR L

Power unit


Код модели двигателя: DT40W(R)S/L/LL/L2/UL;

Год выпуска двигателя: 1990

Номер на
рисунке
АртикулНаименованиеQTYКол-во
на складе
Цена
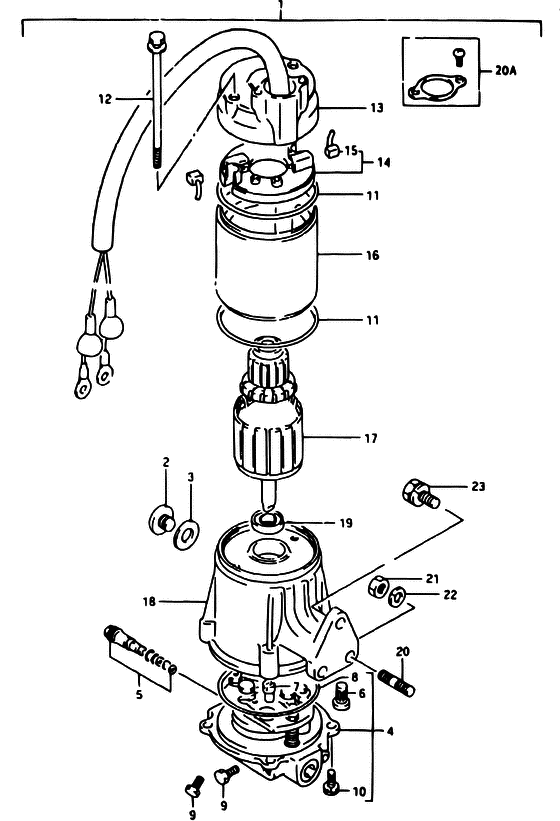
148500-94420-0ED

Power Unit в сборе, Ptt (gray) - Power Unit Assy, Ptt (gray) (Power unit assy, ptt ) (Power Unit Assy, Ptt (gray))

под заказ0 руб.
248511-95500-000

Заглушка - Plug (<-48511-94610 ) (Plug)

под заказ0 руб.
309280-09005-000

Уплотнительное кольцо (d: 1.9, Id: 8.6) - O Ring (d:19, Id:86) (O Ring (d:1.9, Id:8.6))

9 шт390 руб.
448502-94410-000

Помпа & Клапан Корпус в сборе - Pump & Valve Body Assy (Pump/valve body assy ) (Pump & Valve Body Assy)

под заказ130560 руб.
548550-94600-000

Ручной клапан - Valve, Manual (Valve, manual ) (Valve, Manual)

под заказ0 руб.
648581-94500-000

Фильтр - Filter (Filter)

под заказ0 руб.
648581-87D00-000

   (актуальный код замены) Запчасть снята с производства - The Spare Part Is Laid Off

под заказ0 руб.
648581-87D00-000

Фильтр - Filter (Filter, valve case ) (Filter)

под заказ0 руб.
748583-94520-000

Соединение привода - Joint, Drive (Joint, drive ) (Joint, Drive)

под заказ0 руб.
848585-94520-000

Уплотнительное кольцо - O Ring (O ring, valve body ) (O Ring)

под заказ0 руб.
948586-94500-000

Заглушка, Клапан Корпус Port - Plug, Valve Body Port (Plug, valve body ) (Plug, Valve Body Port)

под заказ0 руб.
1048593-94500-000

Винт (5x20) - Screw (5x20) (Screw (5x20))

под заказ150 руб.
1009136-05041-000

   (актуальный код замены) Винт (5x20) - Screw (5x20)

4 шт150 руб.
1009136-05041-000

Винт (5x20) - Screw (5x20) (Screw, rod adjuster ) (Screw (5x20))

4 шт150 руб.
1109280-70010-000

Уплотнительное кольцо (d: 2, Id: 69.5) - O Ring (d:2, Id:695) (<-09280-70011 ) (O Ring (d:2, Id:69.5))

под заказ310 руб.
1231281-94610-000

Запчасть снята с производства - The Spare Part Is Laid Off (The Spare Part Is Laid Off)

под заказ0 руб.
1331170-94610-0ED

Запчасть снята с производства - The Spare Part Is Laid Off (The Spare Part Is Laid Off)

под заказ0 руб.
1431173-94620-000

Держатель, Щётка - Holder, Brush (<-31173-94611 ) (Holder, Brush)

под заказ25200 руб.
1531133-94610-000

Щётка - Brush (Brush)

под заказ1370 руб.
1631110-94610-0ED

Запчасть снята с производства - The Spare Part Is Laid Off (The Spare Part Is Laid Off)

под заказ0 руб.
1731311-94610-000

Запчасть снята с производства - The Spare Part Is Laid Off (The Spare Part Is Laid Off)

под заказ0 руб.
1848570-94610-0ED

Резервуар - Reservoir (Reservoir)

под заказ0 руб.
1933799-94610-000

Сальник - Seal, Oil (Seal, Oil)

под заказ3080 руб.
2009108-08130-000

Болт под шпильку - Bolt, Stud (Bolt, Stud)

7 шт710 руб.
2033899-94600-000

Запчасть снята с производства - The Spare Part Is Laid Off (The Spare Part Is Laid Off)

под заказ0 руб.
2109140-08016-000

Гайка - Nut (Nut)

под заказ190 руб.
2109140-08023-XC0

Гайка - Nut (Nut)

14 шт190 руб.
2209162-08007-000

Шайба с блокировкой - Washer, Lock (Lock washer ) (Washer, Lock)

под заказ160 руб.
2309117-08046-000

Болт (8x22) - Bolt (8x22) (Bolt (8x22))

под заказ730 руб.
2309116-08149-000

   (актуальный код замены) Болт (8x22) - Bolt (8x22)

под заказ730 руб.
2309116-08149-000

Болт (8x22) - Bolt (8x22) (Bolt (8x22))

под заказ730 руб.
2309116-08149-000

Болт (8x22) - Bolt (8x22) (Bolt (8x22))

под заказ730 руб.


Время выполнения запроса 0.80073690414429 сек.

 
 

данный сайт носит информационный характер и не является публичной офертой

склад запчастей для водомоторной техники