Найти запчасти на лодочный подвесной мотор Сузуки DT40CS/L/L2 модель 1992 года - Power unit
вконтакте

Контактный телефон: +7 (981) 121-46-93, +7 (800) 200-90-76 , Email: parts-katalog@yandex.ru, где купить

 
 

  Логин:

Пароль:

Регистрация

www.partskatalog.ru Все каталоги Запчасти Mercury Запчасти Suzuki Запчасти Tohatsu Запчасти Honda Контакты

назад Раздел:   вперёд

Вернуться к выбору узлов мотора


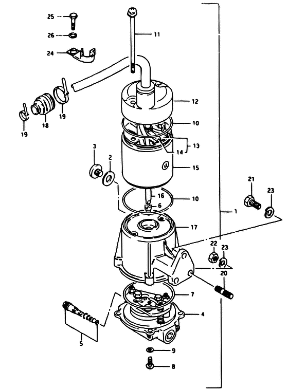
ДЕТАЛИРОВКА ДЛЯ МОДЕЛИ: SUZUKI DT40C N/DT40TC N/DT40RC N

Power unit


Код модели двигателя: DT40CS/L/L2

Год выпуска двигателя: 1992

Цвет: California Gray Metallic

Номер на
рисунке
АртикулНаименованиеQTYКол-во
на складе
Цена
148500-94411-02M

(->48500-94420-0ED USED WITH 38410-94550 (2) 33832-94400 (1))

под заказнет сведений
133832-94400-000

Кабели, Реле двигателя гидроподъёма Заземление - Cable, Ptt Relay Ground (Cable assy, pt relay ground ) (Cable, Ptt Relay Ground)

под заказ0 руб.
138410-94552-000

Реле трима, в сборе - Relay Assy, Trim (Relay Assy, Trim)

5 шт17090 руб.
148500-94420-0ED

Power Unit в сборе, Ptt (gray) - Power Unit Assy, Ptt (gray) (Power unit assy, ptt ) (Power Unit Assy, Ptt (gray))

под заказ0 руб.
148500-94411-0ED

(->48500-94420-0ED USED WITH 38410-94450 (2) 33832-94400 (1))

под заказнет сведений
133832-94400-000

Кабели, Реле двигателя гидроподъёма Заземление - Cable, Ptt Relay Ground (Cable assy, pt relay ground ) (Cable, Ptt Relay Ground)

под заказ0 руб.
138410-94552-000

Реле трима, в сборе - Relay Assy, Trim (Relay Assy, Trim)

5 шт17090 руб.
148500-94420-0ED

Power Unit в сборе, Ptt (gray) - Power Unit Assy, Ptt (gray) (Power unit assy, ptt ) (Power Unit Assy, Ptt (gray))

под заказ0 руб.
209280-08014-000

Уплотнительное кольцо (d: 1.5, Id: 8.5) - O Ring (d:15, Id:85) (O ring (d:1.5 id:8.5) ) (O Ring (d:1.5, Id:8.5))

10 шт200 руб.
309248-10008-000

Заглушка (10x7.5) - Plug (10x75) (<-09248-10005 ) (Plug (10x7.5))

105 шт500 руб.
448502-94410-000

Помпа & Клапан Корпус в сборе - Pump & Valve Body Assy (Pump/valve body assy # <-48502-94400 ) (Pump & Valve Body Assy)

под заказ130560 руб.
548550-94600-000

Ручной клапан - Valve, Manual (Valve, manual ) (Valve, Manual)

под заказ0 руб.
648583-94520-000

Соединение привода - Joint, Drive (Joint, drive ) (Joint, Drive)

под заказ0 руб.
748585-94520-000

Уплотнительное кольцо - O Ring (O ring, valve body ) (O Ring)

под заказ0 руб.
848593-94500-000

Винт (5x20) - Screw (5x20) (<-48591-94500) (Screw (5x20))

под заказ150 руб.
809136-05041-000

   (актуальный код замены) Винт (5x20) - Screw (5x20)

4 шт150 руб.
809136-05041-000

Винт (5x20) - Screw (5x20) (Screw, rod adjuster ) (Screw (5x20))

4 шт150 руб.
909282-08003-000

Запчасть снята с производства - The Spare Part Is Laid Off (The Spare Part Is Laid Off)

под заказ0 руб.
1009280-70005-000

Уплотнительное кольцо (d: 3.1, Id: 69.4) - O Ring (d:31, Id:694) (Band (d:3.1 id:69.4) # <-09280-70006 ) (O Ring (d:3.1, Id:69.4))

под заказ520 руб.
1131281-94520-000

Сквозной болт - Bolt, Through (Bolt, Through)

под заказ1440 руб.
1131281-94510-000

   (актуальный код замены) Сквозной болт - Bolt, Through

под заказ1440 руб.
1131281-94510-000

Сквозной болт - Bolt, Through (Bolt, housing ) (Bolt, Through)

под заказ1440 руб.
1231170-94520-0ED

Запчасть снята с производства - The Spare Part Is Laid Off (<-31170-94520-02M) (The Spare Part Is Laid Off)

под заказ0 руб.
1331173-94521-000

Запчасть снята с производства - The Spare Part Is Laid Off (<-31173-94520) (The Spare Part Is Laid Off)

под заказ0 руб.
1431133-94521-000

Запчасть снята с производства - The Spare Part Is Laid Off (<-31133-94520) (The Spare Part Is Laid Off)

под заказ0 руб.
1531110-94520-0ED

Запчасть снята с производства - The Spare Part Is Laid Off (<-31110-94520-02M) (The Spare Part Is Laid Off)

под заказ0 руб.
1631311-94520-000

Запчасть снята с производства - The Spare Part Is Laid Off (FOR 48500-94400-02M) (The Spare Part Is Laid Off)

под заказ0 руб.
1748570-94521-02M

(FOR 48500-94400-02M ->48570-94600-0ED USED WITH 48583-94590)

под заказнет сведений
1748570-94600-0ED

Запчасть снята с производства - The Spare Part Is Laid Off (<-48570-94600-02M) (The Spare Part Is Laid Off)

под заказ0 руб.
1833899-95500-000

Запчасть снята с производства - The Spare Part Is Laid Off (The Spare Part Is Laid Off)

под заказ0 руб.
1909407-25402-000

Струбцина (l: 250) - Clamp (l:250) (Clamp, tilt sw # <-36632-95501 ) (Clamp (l:250))

под заказ350 руб.
2009108-08130-000

Болт под шпильку - Bolt, Stud (Bolt, Stud)

7 шт710 руб.
2109100-08219-000

Болт (8x22) - Bolt (8x22) (Bolt (8x22) ) (Bolt (8x22))

под заказ0 руб.
2209140-08016-000

Гайка - Nut (Nut)

под заказ190 руб.
2209140-08023-XC0

Гайка - Nut (Nut)

14 шт190 руб.
2309162-08007-000

Шайба с блокировкой - Washer, Lock (Lock washer ) (Washer, Lock)

под заказ160 руб.
2409403-12308-000

Струбцина - Clamp (Clamp)

под заказ290 руб.
2409403-12322-000

   (актуальный код замены) Струбцина - Clamp

под заказ290 руб.
2509100-06106-000

Болт (6x9) - Bolt (6x9) (Bolt (6x9) ) (Bolt (6x9))

под заказ160 руб.
2609160-06082-000

Шайба (6.5x13x1.0) - Washer (65x13x10) (Washer (6.5x13x1.0))

6 шт150 руб.


Время выполнения запроса 3.7185800075531 сек.

 
 

данный сайт носит информационный характер и не является публичной офертой

склад запчастей для водомоторной техники