Комплектующие на лодочный подвесной мотор Suzuki DT40W(R)S/L/LL/L2/UL;DT40WK(R)S/L/LL/L2/UL; модель 1995 года - Поворотный кронштейн
вконтакте

Контактный телефон: +7 (981) 121-46-93, +7 (800) 200-90-76 , Email: parts-katalog@yandex.ru, где купить

 
 

  Логин:

Пароль:

Регистрация

www.partskatalog.ru Все каталоги Запчасти Mercury Запчасти Suzuki Запчасти Tohatsu Запчасти Honda Контакты



УВАЖАЕМЫЕ КЛИЕНТЫ!
C 19 ДЕКАБРЯ 2025 ПО 02 МАРТА 2026 ГОДА ОТДЕЛ ЗАПЧАСТЕЙ И СЕРВИС РАБОТАТЬ НЕ БУДУТ
ПРОДАЖА ЛОДОЧНЫХ МОТОРОВ В ШТАТНОМ РЕЖИМЕ
ОБ ИЗМЕНЕНИЯХ В ГРАФИКЕ РАБОТЫ ЧИТАЙТЕ НА САЙТА



назад Раздел:   вперёд

Вернуться к выбору узлов мотора


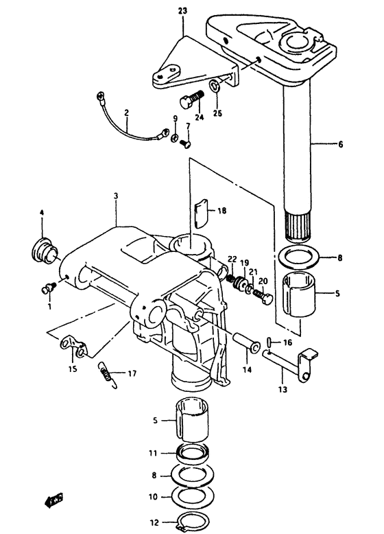
ДЕТАЛИРОВКА ДЛЯ МОДЕЛИ: SUZUKI DT40WKS S

Поворотный кронштейн


Код модели двигателя: DT40W(R)S/L/LL/L2/UL;DT40WK(R)S/L/LL/L2/UL;

Год выпуска двигателя: 1995

Регион: General Export No.1 ,Код региона: P01

Цвет: California Gray Metallic

Номер на
рисунке
АртикулНаименованиеQTYКол-во
на складе
Цена
122511-99010-000

Ниппель смазки - Nipple, Grease (Nipple, grease;) (Nipple, Grease)

под заказ340 руб.
122511-99011-000

   (актуальный код замены) Ниппель смазки - Nipple, Grease

9 шт400 руб.
122511-99011-000

Ниппель смазки - Nipple, Grease (Nipple, Grease)

9 шт400 руб.
243412-93900-000

Крышка регулировки рулевой системыer - Cover, Steering Adjuster (Cover, steering adjust # Cover, strg adj; ) (Cover, Steering Adjuster)

под заказ340 руб.
243412-93901-000

   (актуальный код замены) Крышка регулировки рулевой системыer - Cover, Steering Adjuster

под заказ340 руб.
343111-97E50-0ED

Поворотный кронштейн - Bracket, Swivel (Bracket, Swivel)

под заказ0 руб.
343111-87J20-0ED

   (актуальный код замены) Запчасть снята с производства - The Spare Part Is Laid Off

под заказ0 руб.
343111-87J20-0ED

Поворотный кронштейн - Bracket, Swivel (Bracket, Swivel)

под заказ0 руб.
443211-95250-000

Втулка струбцины поворотного вала - Bush, Clamp Shaft Swivel (Bush, swivel ) (Bush, Clamp Shaft Swivel)

под заказ0 руб.
543711-97E00-000

Втулка рулевой системы - Bush, Steering (Bush, steering;) (Bush, Steering)

под заказ870 руб.
543711-97E11-000

   (актуальный код замены) Втулка рулевой системы - Bush, Steering

18 шт930 руб.
5SK43711-97E00

   (не оригинальный аналог) Втулка поворотного механизма Skipper для Suzuki DT40-200/DF40-300

0 шт254 руб.
543711-97E01-000

Втулка рулевой системы - Bush, Steering (Bush, Steering)

под заказ870 руб.
543711-97E11-000

   (актуальный код замены) Втулка рулевой системы - Bush, Steering

18 шт930 руб.
643750-97E03-0ED

Запчасть снята с производства - The Spare Part Is Laid Off (The Spare Part Is Laid Off)

под заказ0 руб.
643750-97E10-0ED

   (актуальный код замены) Запчасть снята с производства - The Spare Part Is Laid Off

под заказ0 руб.
643750-97E04-0ED

Запчасть снята с производства - The Spare Part Is Laid Off (The Spare Part Is Laid Off)

под заказ0 руб.
643750-97E10-0ED

   (актуальный код замены) Запчасть снята с производства - The Spare Part Is Laid Off

под заказ0 руб.
709125-05050-000

Винт (5x8) - Screw (5x8) (Screw (5x8))

под заказ150 руб.
809160-39001-000

Шайба (39.5x64x1) - Washer (395x64x1) (Washer (39.5x64x1.0) # Washer, pilot shaft; ) (Washer (39.5x64x1))

8 шт320 руб.
909161-05114-000

Шайба (5.2x11x1) - Washer (52x11x1) (Washer (5.2x11.0x1.0) # Washer, lead; ) (Washer (5.2x11x1))

под заказ290 руб.
1009181-39001-000

Регулировочная шайба (39.5x64x0.3) - Shim (395x64x03) (Shim (39.5x64x0.3) # Shim, swivel bracket (0.3); ) (Shim (39.5x64x0.3))

8 шт480 руб.
1109282-39001-000

Сальник (39x51x5) - Seal, Oil (39x51x5) (Seal, oil # Seal, swivel bracket; ) (Seal, Oil (39x51x5))

22 шт690 руб.
1209380-38003-000

Стопорное кольцо - Circlip (Circlip, pilot shaft lower; ) (Circlip)

5 шт600 руб.
1341220-97E00-0ED

Рычаг блокировки наклона (gray) - Lever, Tilt Lock (gray) (Lever, Tilt Lock (gray))

под заказ0 руб.
1441226-97E00-000

Втулка - Bush (Bush, tilt lock lever ) (Bush)

2 шт490 руб.
1541231-97E00-000

Запчасть снята с производства - The Spare Part Is Laid Off (The Spare Part Is Laid Off)

под заказ0 руб.
1609205-03012-000

Стопор пружины (3x16) - Pin, Spring (3x16) (Pin, gear # Pin, tilt link plate; ) (Pin, Spring (3x16))

12 шт190 руб.
1709443-08045-000

Пружина - Spring (Spring, tilt link plate; ) (Spring)

под заказ0 руб.
1843411-97E00-000

Регулировка рулевой системы - Adjuster, Steering (Adjuster, steering ) (Adjuster, Steering)

под заказ840 руб.
1943412-93900-000

Крышка регулировки рулевой системыer - Cover, Steering Adjuster (Cover, steering adjust # Cover, strg adj; ) (Cover, Steering Adjuster)

под заказ340 руб.
1943412-93901-000

   (актуальный код замены) Крышка регулировки рулевой системыer - Cover, Steering Adjuster

под заказ340 руб.
2009100-08224-000

Болт (8x35) - Bolt (8x35) (Bolt, steering adjuster;) (Bolt (8x35))

под заказ470 руб.
2009100-08224-XC0

   (актуальный код замены) Болт (8x35) - Bolt (8x35)

40 шт470 руб.
2009100-08224-XC0

Болт (8x35) - Bolt (8x35) (Bolt (8x35))

40 шт470 руб.
2109160-08082-000

Шайба (8.5x16x1.2) - Washer (85x16x12) (Washer, steering adjuster; ) (Washer (8.5x16x1.2))

13 шт120 руб.
2209440-11022-000

Пружина - Spring (Spring, steering adjuster; ) (Spring)

под заказ160 руб.
2343755-97E50-000

Соединитель кронштейна рулевой системы - Attachment, Steering Bracket (Attachment, strg brkt ) (Attachment, Steering Bracket)

под заказ7350 руб.
2409100-10270-000

Болт (10x25) - Bolt (10x25) (Bolt, strg brkt attachment (10x25) ) (Bolt (10x25))

под заказ1500 руб.
2509162-10005-000

Шайба с блокировкой - Washer, Lock (Lock washer ) (Washer, Lock)

под заказ130 руб.


Время выполнения запроса 1.192234992981 сек.

 
 

данный сайт носит информационный характер и не является публичной офертой

склад запчастей для водомоторной техники