| |
 |
|
 |
Вернуться к выбору узлов мотора
ДЕТАЛИРОВКА ДЛЯ МОДЕЛИ: SUZUKI DT40C S/DT40TC S/DT40RC S
Карбюратор
Код модели двигателя: DT40CS/L/L2
Год выпуска двигателя: 1995
Цвет: California Gray Metallic
Номер на рисунке | Артикул | Наименование | QTY | Кол-во на складе | Цена |
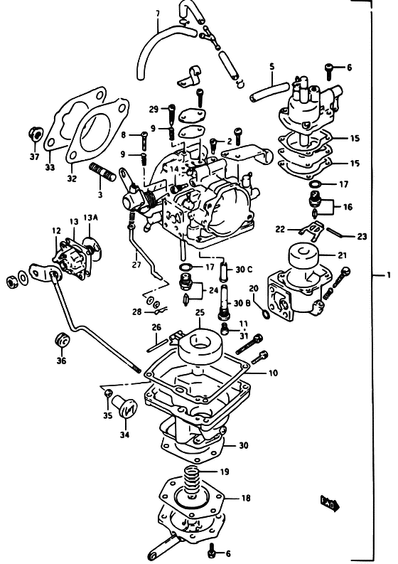
| 1 | 13200-944D0-000 | Карбюратор в сборе - Carburetor Assy (<-13200-94462 ) (Carburetor Assy) | | под заказ | 89760 руб. |
| 2 | 09492-60011-000 | Контрольная форсунка (60) - Jet, Pilot (60) (Jet, pilot (60) # FOR GASOLINE ) (Jet, Pilot (60)) | | под заказ | 1260 руб. |
| 2 | 09492-65002-000 | Контрольная форсунка (65) - Jet, Pilot (65) (Jet, pilot (65) # FOR GASOLINE, 131465 ) (Jet, Pilot (65)) | | под заказ | 960 руб. |
| 3 | 01411-08207-000 | Болт под шпильку - Bolt, Stud (Bolt, Stud) | | под заказ | 130 руб. |
| 3 | 01411-0820A-000 | (актуальный код замены) Болт под шпильку - Bolt, Stud | | под заказ | 130 руб. |
| 3 | 01411-0820A-000 | Болт под шпильку - Bolt, Stud (Bolt, Stud) | | под заказ | 130 руб. |
| 5 | 13652-93950-000 | Шланг - Hose (Hose) | | под заказ | 580 руб. |
| 5 | 13652-93951-000 | (актуальный код замены) Шланг - Hose | | под заказ | 580 руб. |
| 6 | 13249-93900-000 | Винт - Screw (Screw) | | под заказ | 350 руб. |
| 7 | 13651-95300-000 | Шланг - Hose (<-13653-94351 ) (Hose) | | под заказ | 870 руб. |
| 7 | 13651-95301-000 | (актуальный код замены) Шланг - Hose | | под заказ | 870 руб. |
| 8 | 13534-96300-000 | Винт стопора - Screw, Stop (Screw, throttle stop ) (Screw, Stop) | | под заказ | 390 руб. |
| 9 | 13268-96110-000 | Пружина, Дроссель Винт - Spring, Throttle Screw (Spring, Throttle Screw) | | под заказ | 350 руб. |
| 9 | 13268-96111-000 | (актуальный код замены) Пружина, Дроссель Винт - Spring, Throttle Screw | | под заказ | 350 руб. |
| 9 | 13268-96111-000 | Пружина, Дроссель Винт - Spring, Throttle Screw (Spring, throttle screw ) (Spring, Throttle Screw) | | под заказ | 350 руб. |
| 10 | 13245-94350-000 | Прокладка поплавковой камеры - Gasket, Float Cahmber (Gasket, float chamber ) (Gasket, Float Cahmber) | | под заказ | 760 руб. |
| 11 | 09491-37004-000 | Главная форсунка (185) - Jet, Main (185) (Jet, main (185) ) (Jet, Main (185)) | | под заказ | 900 руб. |
| 11 | 09491-38008-000 | Главная форсунка (195) - Jet, Main (195) (Jet, main (195) # 131465~ ) (Jet, Main (195)) | | под заказ | 730 руб. |
| 12 | 13419-94400-000 | Крышка, Disk Стартер - Cover, Disk Starter (Cover, disk ) (Cover, Disk Starter) | | под заказ | 960 руб. |
| 13 | 13418-94360-000 | Прокладка карбюратора Disk - Gasket, Carburetor Disk (<-13418-67110 ) (Gasket, Carburetor Disk) | | под заказ | 490 руб. |
| 13 | 13415-94350-000 | Диск в сборе - Disc Assy (Disc Assy) | | под заказ | 3460 руб. |
| 14 | 09492-75001-000 | Контрольная форсунка (75) - Jet, Pilot (75) (Pilot jet (75) # FOR KEROSENE ) (Jet, Pilot (75)) | | под заказ | 960 руб. |
| 15 | 13265-94360-000 | Прокладка поплавковой камеры - Gasket, Float Cahmber (<-13265-94350 FOR GASOLINE ) (Gasket, Float Cahmber) | | под заказ | 650 руб. |
| 16 | 13370-94350-000 | Игольчатый клапан, в сборе - Valve Assy, Needle (FOR GASOLINE ) (Valve Assy, Needle) | | под заказ | 4490 руб. |
| 17 | 13392-58600-000 | Прокладка седла клапана - Gasket, Valve Seat (Gasket, valve seat ) (Gasket, Valve Seat) | | 1 шт | 150 руб. |
| 18 | 13450-94350-000 | Membrane в сборе - Membrane Assy (Membrane assy ) (Membrane Assy) | | под заказ | 2430 руб. |
| 19 | 13441-94350-000 | Пружина - Spring (Spring) | | под заказ | 340 руб. |
| 20 | 13521-78100-000 | Уплотнительное кольцо - O-ring (O-ring) | | под заказ | 220 руб. |
| 21 | 13270-94350-000 | Поплавок - Float (FOR GASOLINE ) (Float) | | под заказ | 1720 руб. |
| 22 | 13282-94350-000 | Рычаг - Arm (Arm) | | под заказ | 590 руб. |
| 23 | 13254-98410-000 | Стопор поплавка - Pin, Float (FOR GASOLINE ) (Pin, Float) | | под заказ | 240 руб. |
| 24 | 13370-27310-000 | Игольчатый клапан, в сборе - Valve Assy, Needle (Needle valve assy # FOR KERONENE ) (Valve Assy, Needle) | | под заказ | 4130 руб. |
| 25 | 13250-93012-000 | Поплавок - Float (Float) | | под заказ | 1950 руб. |
| 26 | 13254-93010-000 | Стопор поплавка - Pin, Float (FOR KEROSENE) (Pin, Float) | | под заказ | 240 руб. |
| 26 | 13254-98300-000 | (актуальный код замены) Стопор поплавка - Pin, Float | | под заказ | 240 руб. |
| 26 | 13254-98300-000 | Стопор поплавка - Pin, Float (Pin, float ) (Pin, Float) | | под заказ | 240 руб. |
| 27 | 13462-94351-000 | Тяга, Accelerator - Rod, Accelerator (Rod, Accelerator) | | под заказ | 4760 руб. |
| 28 | 13464-96350-000 | Стопор пружины - Spring Pin (Spring Pin) | | под заказ | 150 руб. |
| 29 | 13269-98100-000 | Винт контроля воздуха - Screw, Pilot Air (Screw, pilot # <-13661-94350 ) (Screw, Pilot Air) | | под заказ | 620 руб. |
| 30 | 13446-94360-000 | Прокладка - Gasket (Gasket) | | под заказ | 530 руб. |
| 30 | 13236-94460-000 | Главная форсунка - Nozzle, Main (Nozzle, Main) | | под заказ | 2100 руб. |
| 30 | 13237-94460-000 | Nozzle - Nozzle (Nozzle) | | под заказ | 840 руб. |
| 31 | 09491-38007-000 | Главная форсунка (190) - Jet, Main (190) (Jet, main (190) # OPT ) (Jet, Main (190)) | | под заказ | 730 руб. |
| 31 | 09491-40007-000 | Запчасть снята с производства - The Spare Part Is Laid Off (OPT) (The Spare Part Is Laid Off) | | под заказ | 0 руб. |
| 32 | 13125-95210-000 | Прокладка карбюратора - Gasket, Carburetor (Gasket, carburetor ) (Gasket, Carburetor) | | 7 шт | 480 руб. |
| 33 | 13126-94450-000 | Пластина, Air Flow Управление - Plate, Air Flow Control (Plate, air flow caontrol ) (Plate, Air Flow Control) | | под заказ | 600 руб. |
| 34 | 13631-93501-000 | Рукоятка стартера - Knob, Starter (<-13631-93500 ) (Knob, Starter) | | 2 шт | 460 руб. |
| 35 | 09140-04007-000 | Гайка - Nut (Nut) | | под заказ | 170 руб. |
| 36 | 09305-04005-000 | Втулка - Bush (Bush) | | под заказ | 160 руб. |
| 36 | 09320-04013-000 | (актуальный код замены) Подушка, Muf Cov - Cushion, Muf Cov | | под заказ | 160 руб. |
| 36 | 09320-04009-000 | Втулка - Bush (Bush) | | под заказ | 160 руб. |
| 36 | 09320-04013-000 | (актуальный код замены) Подушка, Muf Cov - Cushion, Muf Cov | | под заказ | 160 руб. |
| 37 | 08316-10087-000 | Гайка - Nut (Nut) | | 14 шт | 170 руб. |
Время выполнения запроса 3.9304378032684 сек. |
|