Оригинальные запчасти на подвесной лодочный двигатель Suzuki модель 1997 года - Inlet case - вход case
вконтакте

Контактный телефон: +7 (981) 121-46-93, +7 (800) 200-90-76 , Email: parts-katalog@yandex.ru, где купить

 
 

  Логин:

Пароль:

Регистрация

www.partskatalog.ru Все каталоги Запчасти Mercury Запчасти Suzuki Запчасти Tohatsu Запчасти Honda Контакты



УВАЖАЕМЫЕ КЛИЕНТЫ!
C 19 ДЕКАБРЯ 2025 ПО 02 МАРТА 2026 ГОДА ОТДЕЛ ЗАПЧАСТЕЙ И СЕРВИС РАБОТАТЬ НЕ БУДУТ
ПРОДАЖА ЛОДОЧНЫХ МОТОРОВ В ШТАТНОМ РЕЖИМЕ
ОБ ИЗМЕНЕНИЯХ В ГРАФИКЕ РАБОТЫ ЧИТАЙТЕ НА САЙТА



назад Раздел:   вперёд

Вернуться к выбору узлов мотора


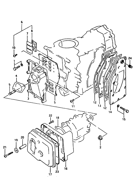
ДЕТАЛИРОВКА ДЛЯ МОДЕЛИ: SUZUKI DT40WRV V

вход case


Год выпуска двигателя: 1997

Номер на
рисунке
АртикулНаименованиеQTYКол-во
на складе
Цена
101550-06307-000

Болт - Bolt (Bolt)

8 шт250 руб.
208316-10087-000

Гайка - Nut (Nut)

14 шт170 руб.
313111-94400-0ED

Запчасть снята с производства - The Spare Part Is Laid Off (Inlet case (gray); Dt40c, 40tc, 40rc, dt40w, 40wr) (The Spare Part Is Laid Off)

под заказ0 руб.
313111-94450-0ED

Запчасть снята с производства - The Spare Part Is Laid Off (Inlet case (gray); Dt40wk) (The Spare Part Is Laid Off)

под заказ0 руб.
413125-95210-000

Прокладка карбюратора - Gasket, Carburetor (Gasket, carburetor # Gasket, carburetor; ) (Gasket, Carburetor)

7 шт480 руб.
501411-08207-000

Болт под шпильку - Bolt, Stud (Stud bolt;) (Bolt, Stud)

под заказ130 руб.
501411-0820A-000

   (актуальный код замены) Болт под шпильку - Bolt, Stud

под заказ130 руб.
501411-0820A-000

Болт под шпильку - Bolt, Stud (Bolt, Stud)

под заказ130 руб.
613150-94402-000

Язычковый клапан, в сборе - Valve Assy, Reed (Valve assy, reed ) (Valve Assy, Reed)

под заказ22660 руб.
613150-94403-000

   (актуальный код замены) Язычковый клапан, в сборе - Valve Assy, Reed

под заказ22660 руб.
713153-94400-000

Язычковый клапан - Valve, Reed (Valve, reed ) (Valve, Reed)

3 шт1460 руб.
813152-94401-000

Стопор язычкового клапана - Stopper, Reed Valve (Stopper, reed valve ) (Stopper, Reed Valve)

2 шт1400 руб.
1002112-33063-000

Винт - Screw (Screw)

под заказ140 руб.
1002112-3306A-000

   (актуальный код замены) Винт - Screw

под заказ140 руб.
1002112-3306A-000

Винт - Screw (Screw)

под заказ140 руб.
1109126-06008-000

Винт (6x16) - Screw (6x16) (Screw (6x16); ~model:93 ) (Screw (6x16))

под заказ220 руб.
1102122-06163-000

Винт - Screw (Model:94~99) (Screw)

под заказ140 руб.
1102122-0616B-000

   (актуальный код замены) Винт - Screw

под заказ140 руб.
1102122-0616B-000

Винт - Screw (Screw, intake pipe ) (Screw)

под заказ140 руб.
1214151-94411-000

Прокладка кожуха выхлопной трубы - Gasket, Exhaust Cover (Gasket, Exhaust Cover)

под заказ2190 руб.
1214151-94412-000

   (актуальный код замены) Прокладка кожуха выхлопной трубы - Gasket, Exhaust Cover

6 шт2220 руб.
12SK14151-94411

   (не оригинальный аналог) Прокладка крышки выхлопа Skipper для Suzuki Модели техники: DT40

0 шт433 руб.
1214151-94412-000

Прокладка кожуха выхлопной трубы - Gasket, Exhaust Cover (Gasket, Exhaust Cover)

6 шт2220 руб.
1314131-94400-000

Пластина, Выхлоп - Plate, Exhaust (Plate, Exhaust)

под заказ4180 руб.
1314131-92L10-000

   (актуальный код замены) Пластина, Выхлоп - Plate, Exhaust

под заказ4180 руб.
1314131-92L10-000

Пластина, Выхлоп - Plate, Exhaust (Plate, Exhaust)

под заказ4180 руб.
1414141-94400-0ED

Выхлопная крышка - Cover, Exhaust (Cover, exhaust (gray);) (Cover, Exhaust)

под заказ5960 руб.
1414141-92L01-000

   (актуальный код замены) Выхлопная крышка - Cover, Exhaust

под заказ5960 руб.
1414141-92L01-000

Выхлопная крышка - Cover, Exhaust (Cover, Exhaust)

под заказ5960 руб.
1414141-92L01-000

Выхлопная крышка - Cover, Exhaust (Cover, Exhaust)

под заказ5960 руб.
1501550-06307-000

Болт - Bolt (Bolt)

8 шт250 руб.
1613811-94420-000

Корпус глушителя - Case, Silencer (Case, Silencer)

под заказ4370 руб.
1613811-92L10-000

   (актуальный код замены) Корпус глушителя - Case, Silencer

под заказ4370 руб.
1613811-92L00-000

Корпус глушителя - Case, Silencer (Case, Silencer)

под заказ4370 руб.
1613811-92L10-000

   (актуальный код замены) Корпус глушителя - Case, Silencer

под заказ4370 руб.
1713812-94410-000

Крышка, Глушитель - Cover, Silencer (Cover, Silencer)

под заказ4490 руб.
1713812-92L00-000

   (актуальный код замены) Крышка, Глушитель - Cover, Silencer

под заказ4490 руб.
1713812-92L00-000

Крышка, Глушитель - Cover, Silencer (Cover, Silencer)

под заказ4490 руб.
1813855-95210-000

Прокладка, Глушитель - Gasket, Silencer (Gasket, Silencer)

под заказ390 руб.
1909160-06066-000

Шайба (6.5x20x1.6) - Washer (65x20x16) (Washer, throttle lever (6.5x20x1.6) # Washer (6.5x20x1.6); ) (Washer (6.5x20x1.6))

под заказ150 руб.
2009180-06254-000

Проставка (6.1x8x34) - Spacer (61x8x34) (Spacer (6.1x8x34))

под заказ240 руб.
2109125-06089-000

Винт (6x45) - Screw (6x45) (Screw (6x45) # Screw (6x45); ) (Screw (6x45))

под заказ250 руб.
2203222-05203-000

Винт - Screw (Screw)

под заказ190 руб.
2203222-0520B-000

   (актуальный код замены) Винт - Screw

под заказ190 руб.
2203222-0520B-000

Винт - Screw (Screw)

под заказ190 руб.
2309280-63001-000

Уплотнительное кольцо (d: 1.9, Id: 63.1) - O Ring (d:19, Id:631) (O ring (d:1.9 id:63.1) # O ring (d:1.9 id:63.1); ) (O Ring (d:1.9, Id:63.1))

под заказ220 руб.
2309280-63005-000

   (актуальный код замены) Уплотнительное кольцо - O Ring

под заказ220 руб.
2409246-04005-000

Заглушка - Plug (Plug, cylinder head cover # Dt40tc:611483~ ) (Plug)

под заказ290 руб.


Время выполнения запроса 0.93582701683044 сек.

 
 

данный сайт носит информационный характер и не является публичной офертой

склад запчастей для водомоторной техники