Купить комплектующие на подвесной лодочный мотор SUZUKI DT40W(R)S/L/LL/L2/UL;DT40WK(R)S/L/LL/L2/UL; модель 1999 года - Барабанный стартер / Recoil starter
вконтакте

Контактный телефон: +7 (981) 121-46-93, +7 (800) 200-90-76 , Email: parts-katalog@yandex.ru, где купить

 
 

  Логин:

Пароль:

Регистрация

www.partskatalog.ru Все каталоги Запчасти Mercury Запчасти Suzuki Запчасти Tohatsu Запчасти Honda Контакты



УВАЖАЕМЫЕ КЛИЕНТЫ!
C 19 ДЕКАБРЯ 2025 ПО 02 МАРТА 2026 ГОДА ОТДЕЛ ЗАПЧАСТЕЙ И СЕРВИС РАБОТАТЬ НЕ БУДУТ
ПРОДАЖА ЛОДОЧНЫХ МОТОРОВ В ШТАТНОМ РЕЖИМЕ
ОБ ИЗМЕНЕНИЯХ В ГРАФИКЕ РАБОТЫ ЧИТАЙТЕ НА САЙТА



назад Раздел:   вперёд

Вернуться к выбору узлов мотора


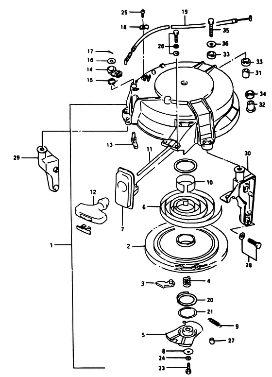
ДЕТАЛИРОВКА ДЛЯ МОДЕЛИ: SUZUKI DT40W X/DT40WR X

Барабанный стартер


Код модели двигателя: DT40W(R)S/L/LL/L2/UL;DT40WK(R)S/L/LL/L2/UL;

Год выпуска двигателя: 1999

Цвет: California Gray Metallic

Номер на
рисунке
АртикулНаименованиеQTYКол-во
на складе
Цена
118100-94411-000

(MODEL:86~89 ->18100-94430 USED WITH 61622-95500)

под заказнет сведений
118100-94430-000

Барабанный стартер в сборе - Starter Assy, Recoil (Starter assy, recoil ) (Starter Assy, Recoil)

1 шт65760 руб.
161622-95500-000

Сальник барабанного стартера - Seal, Recoil Starter (Rubber, recoil starter seal ) (Seal, Recoil Starter)

1 шт870 руб.
118100-94420-000

Барабанный стартер в сборе - Starter Assy, Recoil (MODEL:90 91 ->18100-94430) (Starter Assy, Recoil)

под заказ65760 руб.
118100-94430-000

   (актуальный код замены) Барабанный стартер в сборе - Starter Assy, Recoil

1 шт65760 руб.
118100-94430-000

Барабанный стартер в сборе - Starter Assy, Recoil (Starter assy, recoil ) (Starter Assy, Recoil)

1 шт65760 руб.
218121-95200-000

Запчасть снята с производства - The Spare Part Is Laid Off (The Spare Part Is Laid Off)

под заказ0 руб.
318130-95200-000

Запчасть снята с производства - The Spare Part Is Laid Off (The Spare Part Is Laid Off)

под заказ0 руб.
418153-95200-000

Фрикционная пружина - Spring, Friction (Spring, friction ) (Spring, Friction)

под заказ0 руб.
518150-95200-000

Пластина трения - Plate, Friction (MODEL:90, 91 ) (Plate, Friction)

под заказ0 руб.
518151-95202-000

(->18150-95200 USED WITH 18155-95203 MODEL:86~89)

под заказнет сведений
518150-95200-000

Пластина трения - Plate, Friction (Plate, Friction)

под заказ0 руб.
618142-95210-000

Пружина - Spring (Spring)

под заказ9510 руб.
718191-94400-000

Запчасть снята с производства - The Spare Part Is Laid Off (The Spare Part Is Laid Off)

под заказ0 руб.
718191-94410-000

Направляющая пластина - Plate, Guide (<-18101-94411 MODEL:90 91 ) (Plate, Guide)

под заказ4950 руб.
818335-93000-000

Запчасть снята с производства - The Spare Part Is Laid Off (The Spare Part Is Laid Off)

под заказ0 руб.
918155-95203-000

Запчасть снята с производства - The Spare Part Is Laid Off (<-18155-95201) (The Spare Part Is Laid Off)

под заказ0 руб.
1018124-95210-000

Запчасть снята с производства - The Spare Part Is Laid Off (The Spare Part Is Laid Off)

под заказ0 руб.
1199000-81159-50M

Шнур стартера 6 ммdia, 50m Role - Starter Rope 6mmdia, 50m Role (OPT L:50000->2300 ) (Starter Rope 6mmdia, 50m Role)

под заказ29280 руб.
1199000-81159-01M

   (актуальный код замены) Шнур стартера 6 Mm (1 Metr) Na Otrez - Starter Rope 6 Mm (1 Metr) Na Otrez

49 шт590 руб.
1218210-93002-000

Рукоятка в сборе - Grip Assy (<-18210-93001 ) (Grip Assy)

1 шт1150 руб.
1318281-96300-000

Барабан, Стопор - Reel, Stopper (Reel, stopper ) (Reel, Stopper)

под заказ620 руб.
1418282-96300-000

Запчасть снята с производства - The Spare Part Is Laid Off (The Spare Part Is Laid Off)

под заказ0 руб.
1518284-96300-000

Пружина - Spring (Spring)

под заказ0 руб.
1618335-96300-000

Шайба - Washer (Washer)

под заказ140 руб.
1709204-01006-000

Штифт - Pin (Pin, cotter # <-18348-96300 ) (Pin)

14 шт150 руб.
1818291-96300-000

Запчасть снята с производства - The Spare Part Is Laid Off (The Spare Part Is Laid Off)

под заказ0 руб.
1918290-94400-000

Тросик NSI - Cable Assy, Nsi (Cable Assy, Nsi)

под заказ2180 руб.
2018157-95200-000

Запчасть снята с производства - The Spare Part Is Laid Off (The Spare Part Is Laid Off)

под заказ0 руб.
2118127-95200-000

Запчасть снята с производства - The Spare Part Is Laid Off (The Spare Part Is Laid Off)

под заказ0 руб.
2301500-06207-000

Болт - Bolt (Bolt)

под заказ150 руб.
2408321-01067-000

Шайба с блокировкой - Washer, Lock (Washer, Lock)

под заказ140 руб.
2502112-05107-000

Винт - Screw (Screw, bracket ) (Screw)

под заказ120 руб.
2601580-06207-000

Болт - Bolt (Bolt)

под заказ210 руб.
2718158-94400-000

Запчасть снята с производства - The Spare Part Is Laid Off (MODEL:90, 91) (The Spare Part Is Laid Off)

под заказ0 руб.
2801550-06257-000

Болт - Bolt (Bolt)

под заказ180 руб.
2918711-94402-0ED

Правая скоба барабанного стартера - Brace, Recoil Starter Stbd (Brace, recoil starter stbd # <-18711-94402-02M ) (Brace, Recoil Starter Stbd)

под заказ0 руб.
3018721-94402-0ED

Левая скоба барабанного стартера - Brace, Recoil Starter Port (Brace, recoil starter port # <-18712-94402-02M ) (Brace, Recoil Starter Port)

под заказ0 руб.
3109180-08203-000

Запчасть снята с производства - The Spare Part Is Laid Off (<-09180-08085) (The Spare Part Is Laid Off)

под заказ0 руб.
3209180-08169-000

Проставка (8.6x12x17) - Spacer (86x12x17) (MODEL:90, 91 ) (Spacer (8.6x12x17))

под заказ410 руб.
3309320-14011-000

Подушка - Cushion (Cushion)

под заказ0 руб.
3309320-14028-000

   (актуальный код замены) Запчасть снята с производства - The Spare Part Is Laid Off

под заказ0 руб.
3409320-12059-000

Подушка - Cushion (MODEL:90, 91 ) (Cushion)

под заказ290 руб.
3501550-08357-000

Болт - Bolt (Bolt)

под заказ260 руб.
3609160-08054-000

Шайба (8.5x20x1.6) - Washer (85x20x16) (Washer (8.5x20x1.6))

под заказ120 руб.


Время выполнения запроса 1.6273908615112 сек.

 
 

данный сайт носит информационный характер и не является публичной офертой

склад запчастей для водомоторной техники