Купить запчасти на подвесной мотор Suzuki DT40W(R)S/L/LL/L2/XL;DT40KW(R)S/L/LL/L2/XL модель 2011 года - Drive shaft housing - Корпус вала передачи
вконтакте

Контактный телефон: +7 (981) 121-46-93, +7 (800) 200-90-76 , Email: parts-katalog@yandex.ru, где купить

 
 

  Логин:

Пароль:

Регистрация

www.partskatalog.ru Все каталоги Запчасти Mercury Запчасти Suzuki Запчасти Tohatsu Запчасти Honda Контакты

назад Раздел:   вперёд

Вернуться к выбору узлов мотора


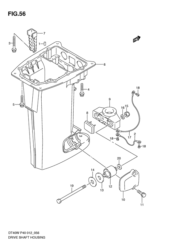
ДЕТАЛИРОВКА ДЛЯ МОДЕЛИ: SUZUKI DT40W(P40) PRD

Корпус вала передачи


Код модели двигателя: DT40W(R)S/L/LL/L2/XL;DT40KW(R)S/L/LL/L2/XL

Год выпуска двигателя: 2011

Цвет: Shadow Black Metallic

Номер на
рисунке
АртикулНаименованиеQTYКол-во
на складе
Цена
109202-06031-000

Штифт (6x12) - Pin (6x12) (Pin, knock ) (Pin (6x12))

20 шт220 руб.
236894-95201-000

Lead (l: 165) - Lead (l:165) (Lead (l:165); ) (Lead (l:165))

под заказ1170 руб.
309118-08098-000

Болт (8x85) - Bolt (8x85) (Bolt (8x85);) (Bolt (8x85))

под заказ570 руб.
309118-08172-000

   (актуальный код замены) Болт (8x85) - Bolt (8x85)

под заказ570 руб.
309118-08172-000

Болт (8x85) - Bolt (8x85) (Bolt (8x85))

под заказ570 руб.
409118-08109-000

Болт (8x75) - Bolt (8x75) (Bolt (8x75);) (Bolt (8x75))

под заказ1280 руб.
409118-08171-000

   (актуальный код замены) Болт (8x75) - Bolt (8x75)

под заказ1280 руб.
409118-08171-000

Болт (8x75) - Bolt (8x75) (Bolt (8x75))

под заказ1280 руб.
529118-93J00-000

Болт (8x50) - Bolt (8x50) (Bolt (8x50);) (Bolt (8x50))

под заказ440 руб.
509118-08168-000

   (актуальный код замены) Болт (8x50) - Bolt (8x50)

под заказ440 руб.
509118-08168-000

Болт (8x50) - Bolt (8x50) (Bolt (8x50))

под заказ440 руб.
652110-92L00-0EP

Корпус вала передачи (s) (чёрный) - Housing, Drive Shaft (s) (black) (Housing, drive shaft (black); ) (Housing, Drive Shaft (s) (black))

под заказ74400 руб.
652110-92L30-0EP

   (актуальный код замены) Корпус вала передачи (s) (чёрный) - Housing, Drive Shaft (s) (black)

под заказ74400 руб.
711435-94400-000

Пластина, Выхлоп Release - Plate, Exhaust Release (Plate, exhaust release ) (Plate, Exhaust Release)

3 шт460 руб.
854151-99E00-000

Крепление нижнего упора - Mount, Lwr Thrust (Mount, Lwr Thrust)

под заказ730 руб.
954211-92L00-0EP

Кронштейн нижнего крепления - Bracket, Lwr Mount (Bracket, lower mount (black); ) (Bracket, Lwr Mount)

под заказ11140 руб.
1054221-92L00-0EP

Крышка, Lwr Крепление - Cover, Lwr Mount (Cover, lower mount (black); ) (Cover, Lwr Mount)

под заказ6580 руб.
1109117-08104-000

Болт (8x35) - Bolt (8x35) (Bolt (8x35);) (Bolt (8x35))

под заказ870 руб.
1109116-08153-000

   (актуальный код замены) Болт (8x35) - Bolt (8x35)

под заказ870 руб.
1109116-08153-000

Болт (8x35) - Bolt (8x35) (Bolt (8x35))

под заказ870 руб.
1254160-94410-000

Крепление, Lwr - Mount, Lwr (Mount, Lwr)

под заказ3820 руб.
1354165-94400-000

Демфер обратного стопора Lwr - Damper, Reverse Stopper Lwr (Stopper, upper thrust ) (Damper, Reverse Stopper Lwr)

под заказ460 руб.
1354165-94401-000

   (актуальный код замены) Демфер обратного стопора нижний - Damper, Reverse Stopper Lower

под заказ460 руб.
1409160-13018-000

Шайба (13x40x3) - Washer (13x40x3) (Washer (13x40x3); ) (Washer (13x40x3))

под заказ440 руб.
1509159-12014-000

Гайка - Nut (Nut)

18 шт370 руб.
1609160-12066-000

Шайба (12.5x22x2.5) - Washer (125x22x25) (Washer (12.5x22x2.5) # Washer (12.5x22x2.5); ) (Washer (12.5x22x2.5))

9 шт150 руб.
1736894-94401-000

Lead (l: 195) - Lead (l:195) (Lead (l, ll) # Lead (l:195); ) (Lead (l:195))

под заказ1170 руб.
1829125-93J10-000

Винт - Screw (Screw (5x8) ) (Screw)

под заказ150 руб.
1809125-05050-000

   (актуальный код замены) Винт (5x8) - Screw (5x8)

под заказ150 руб.
1954166-94431-000

Болт, Lwr Крепление - Bolt, Lwr Mount (Bolt, Lwr Mount)

под заказ2980 руб.
2009160-12108-000

Шайба (12x28x1) - Washer (12x28x1) (Washer (12x28x1); ) (Washer (12x28x1))

под заказ190 руб.


Время выполнения запроса 2.209951877594 сек.

 
 

данный сайт носит информационный характер и не является публичной офертой

склад запчастей для водомоторной техники