Запчасти на подвесной двигатель Suzuki модель 2011 года - Барабанный стартер - Recoil starter
вконтакте

Контактный телефон: +7 (981) 121-46-93, +7 (800) 200-90-76 , Email: parts-katalog@yandex.ru, где купить

 
 

  Логин:

Пароль:

Регистрация

www.partskatalog.ru Все каталоги Запчасти Mercury Запчасти Suzuki Запчасти Tohatsu Запчасти Honda Контакты



УВАЖАЕМЫЕ КЛИЕНТЫ!
C 19 ДЕКАБРЯ 2025 ПО 02 МАРТА 2026 ГОДА ОТДЕЛ ЗАПЧАСТЕЙ И СЕРВИС РАБОТАТЬ НЕ БУДУТ
ПРОДАЖА ЛОДОЧНЫХ МОТОРОВ В ШТАТНОМ РЕЖИМЕ
ОБ ИЗМЕНЕНИЯХ В ГРАФИКЕ РАБОТЫ ЧИТАЙТЕ НА САЙТА



назад Раздел:   вперёд

Вернуться к выбору узлов мотора


ДЕТАЛИРОВКА ДЛЯ МОДЕЛИ: SUZUKI DT40WR(P40) PRD

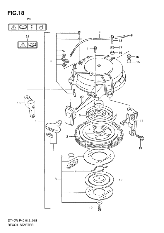
Барабанный стартер


Год выпуска двигателя: 2011

Номер на
рисунке
АртикулНаименованиеQTYКол-во
на складе
Цена
118100-94430-000

Барабанный стартер в сборе - Starter Assy, Recoil (Starter assy, recoil ) (Starter Assy, Recoil)

1 шт65760 руб.
218121-94410-000

Барабан - Reel (Reel)

под заказ9700 руб.
318130-94400-000

Храповик, установочный комплект - Ratchet Set (Ratchet Set)

под заказ5860 руб.
418153-94410-000

Фрикционная пружина - Spring, Friction (Spring, Friction)

под заказ1800 руб.
518142-95210-000

Пружина - Spring (Spring, spiral; ) (Spring)

под заказ9510 руб.
618191-94410-000

Направляющая пластина - Plate, Guide (Plate, Guide)

под заказ4950 руб.
718210-93002-000

Рукоятка в сборе - Grip Assy (Grip; ) (Grip Assy)

1 шт1150 руб.
818280-94400-000

Nsi Set - Nsi Set (Nsi Set)

под заказ2210 руб.
918290-94400-000

Тросик NSI - Cable Assy, Nsi (Cable Assy, Nsi)

под заказ2180 руб.
1001500-06207-000

Болт - Bolt (Bolt)

под заказ150 руб.
1101580-06207-000

Болт - Bolt (Bolt)

под заказ210 руб.
1218151-94410-000

Пластина трения - Plate, Friction (Plate, friction; ) (Plate, Friction)

под заказ2050 руб.
1318711-92L00-000

Правая скоба барабанного стартера - Brace, Recoil Starter Stbd (Brace, Recoil Starter Stbd)

под заказ4490 руб.
1318711-92L10-000

   (актуальный код замены) Правая скоба барабанного стартера - Brace, Recoil Starter Stbd

под заказ4490 руб.
1318711-92L10-000

Правая скоба барабанного стартера - Brace, Recoil Starter Stbd (Brace, Recoil Starter Stbd)

под заказ4490 руб.
1418721-92L00-000

Левая скоба барабанного стартера - Brace, Recoil Starter Port (Brace, Recoil Starter Port)

под заказ4490 руб.
1418721-92L10-000

   (актуальный код замены) Левая скоба барабанного стартера - Brace, Recoil Starter Port

под заказ4490 руб.
1418721-92L10-000

Левая скоба барабанного стартера - Brace, Recoil Starter Port (Brace, Recoil Starter Port)

под заказ4490 руб.
1509180-08169-000

Проставка (8.6x12x17) - Spacer (86x12x17) (Spacer (8.6x12x17); ) (Spacer (8.6x12x17))

под заказ410 руб.
1609320-12059-000

Подушка - Cushion (Cushion)

под заказ290 руб.
1709160-08054-000

Шайба (8.5x20x1.6) - Washer (85x20x16) (Washer (8.5x20x1.6); ) (Washer (8.5x20x1.6))

под заказ120 руб.
1801550-08357-000

Болт - Bolt (Bolt)

под заказ260 руб.
1902162-06257-000

Винт - Screw (Bolt ) (Screw)

7 шт150 руб.
2069711-93E10-000

Наклейки, S.i.g.p. - Label, Sigp (Label, caution # Label, caution; ) (Label, S.i.g.p.)

под заказ500 руб.
2069711-93E11-000

   (актуальный код замены) Наклейки (s.i.g.p.) - Label (s.i.g.p.)

под заказ500 руб.
2169712-93E10-000

Наклейки, S.i.g.p. - Label, Sigp (Label, caution ) (Label, S.i.g.p.)

1 шт340 руб.
2299000-81159-50M

Шнур стартера 6 ммdia, 50m Role - Starter Rope 6mmdia, 50m Role (Rope (l:50000); Opt, l:50000->1750 ) (Starter Rope 6mmdia, 50m Role)

под заказ29280 руб.
2299000-81159-01M

   (актуальный код замены) Шнур стартера 6 Mm (1 Metr) Na Otrez - Starter Rope 6 Mm (1 Metr) Na Otrez

49 шт590 руб.


Время выполнения запроса 0.95601892471313 сек.

 
 

данный сайт носит информационный характер и не является публичной офертой

склад запчастей для водомоторной техники