Оригинальные запчасти на лодочный мотор Suzuki DT50S/L/LL/UL модель 1984 года - Opt: tie rod - Опции: tie Тяга
вконтакте

Контактный телефон: +7 (981) 121-46-93, +7 (800) 200-90-76 , Email: parts-katalog@yandex.ru, где купить

 
 

  Логин:

Пароль:

Регистрация

www.partskatalog.ru Все каталоги Запчасти Mercury Запчасти Suzuki Запчасти Tohatsu Запчасти Honda Контакты



УВАЖАЕМЫЕ КЛИЕНТЫ!
C 19 ДЕКАБРЯ 2025 ПО 02 МАРТА 2026 ГОДА ОТДЕЛ ЗАПЧАСТЕЙ И СЕРВИС РАБОТАТЬ НЕ БУДУТ
ПРОДАЖА ЛОДОЧНЫХ МОТОРОВ В ШТАТНОМ РЕЖИМЕ
ОБ ИЗМЕНЕНИЯХ В ГРАФИКЕ РАБОТЫ ЧИТАЙТЕ НА САЙТА



назад Раздел:   вперёд

Вернуться к выбору узлов мотора


ДЕТАЛИРОВКА ДЛЯ МОДЕЛИ: SUZUKI DT50 VE/DT50C VE/DT50T VE/DT50TC VE

Опции: tie Тяга


Код модели двигателя: DT50S/L/LL/UL

Год выпуска двигателя: 1984

Цвет: Francois Whte №2Arctic Silver

Номер на
рисунке
АртикулНаименованиеQTYКол-во
на складе
Цена
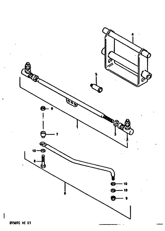
167600-95200-000

Запчасть снята с производства - The Spare Part Is Laid Off (The Spare Part Is Laid Off)

под заказ0 руб.
283450-93720-000

Соединитель, Рулевая система Шарик - Joint, Steering Ball (Joint, Steering Ball)

под заказ0 руб.
309140-12020-000

Гайка - Nut (Nut)

под заказ310 руб.
309140-12029-000

   (актуальный код замены) Гайка - Nut

под заказ310 руб.
309140-12029-000

Гайка - Nut (Nut)

под заказ310 руб.
445490-95200-000

Запчасть снята с производства - The Spare Part Is Laid Off (The Spare Part Is Laid Off)

под заказ0 руб.
555181-95200-000

Соединение шланга для промывки - Attachment, Flush Hose (Attachment, flush hose ) (Attachment, Flush Hose)

2 шт810 руб.
667701-95300-000

Рулевая тяга в сборе - Link Assy, Drag (CE28, TCE28:STD) (Link Assy, Drag)

под заказ14790 руб.
667701-95520-000

   (актуальный код замены) Рулевая тяга в сборе - Link Assy, Drag

под заказ14790 руб.
667701-95520-000

Рулевая тяга в сборе - Link Assy, Drag (Link Assy, Drag)

под заказ14790 руб.
767721-94500-000

Проставка - Spacer (Spacer)

под заказ1110 руб.
767721-99E00-000

   (актуальный код замены) Проставка - Spacer

под заказ1110 руб.
767721-99E00-000

Проставка - Spacer (Spacer)

под заказ1110 руб.
867725-94500-000

Болт - Bolt (Bolt)

под заказ1200 руб.
867725-99E20-000

   (актуальный код замены) Болт переключающей тяги - Bolt, Drag Link

под заказ1200 руб.
867725-99E10-000

Болт - Bolt (Bolt)

под заказ1200 руб.
867725-99E20-000

   (актуальный код замены) Болт переключающей тяги - Bolt, Drag Link

под заказ1200 руб.
967726-94500-000

Блокирующая гайка - Nut, Lock (Nut, Lock)

под заказ800 руб.
967726-99E00-000

   (актуальный код замены) Блокирующая гайка - Nut, Lock

3 шт800 руб.
967726-99E00-000

Блокирующая гайка - Nut, Lock (Nut, Lock)

3 шт800 руб.
1009160-10040-000

Шайба (10.5x19x2) - Washer (105x19x2) (Washer (10.5x19x2))

под заказ120 руб.
1009160-10082-000

   (актуальный код замены) Шайба (10.5x19x2) - Washer (10.5x19x2)

19 шт120 руб.
1009160-10082-000

Шайба (10.5x19x2) - Washer (105x19x2) (Washer ) (Washer (10.5x19x2))

19 шт120 руб.


Время выполнения запроса 1.2039361000061 сек.

 
 

данный сайт носит информационный характер и не является публичной офертой

склад запчастей для водомоторной техники