Найти запчасти на лодочный мотор SUZUKI DT50S/L/LL/UL модель 1983 года - Магнето / Magneto
вконтакте

Контактный телефон: +7 (981) 121-46-93, +7 (800) 200-90-76 , Email: parts-katalog@yandex.ru, где купить

 
 

  Логин:

Пароль:

Регистрация

www.partskatalog.ru Все каталоги Запчасти Mercury Запчасти Suzuki Запчасти Tohatsu Запчасти Honda Контакты

назад Раздел:   вперёд

Вернуться к выбору узлов мотора


ДЕТАЛИРОВКА ДЛЯ МОДЕЛИ: SUZUKI DT50 QD/DT50T QD

Магнето


Код модели двигателя: DT50S/L/LL/UL

Год выпуска двигателя: 1983

Цвет: Francois Whte №2Arctic Silver

Номер на
рисунке
АртикулНаименованиеQTYКол-во
на складе
Цена
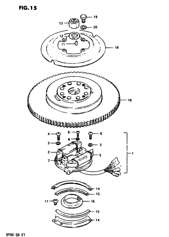
132101-95305-000

под заказнет сведений
232120-95301-000

Запчасть снята с производства - The Spare Part Is Laid Off (The Spare Part Is Laid Off)

под заказ0 руб.
308321-21058-000

Шайба с блокировкой - Washer, Lock (Washer, Lock)

под заказ140 руб.
308321-0105A-000

   (актуальный код замены) Шайба с блокировкой - Washer, Lock

под заказ140 руб.
308321-0105A-000

Шайба с блокировкой - Washer, Lock (Washer, Lock)

под заказ140 руб.
402112-05258-000

Винт - Screw (Screw)

под заказ120 руб.
402112-05257-000

   (актуальный код замены) Винт - Screw

под заказ120 руб.
402112-05257-000

Винт - Screw (Screw)

под заказ120 руб.
532140-95301-000

Основная катушка - Coil, Primary (Coil, Primary)

под заказ0 руб.
532140-95320-000

   (актуальный код замены) Запчасть снята с производства - The Spare Part Is Laid Off

под заказ0 руб.
532140-95320-000

Основная катушка - Coil, Primary (Coil, ignition primary ) (Coil, Primary)

под заказ0 руб.
602112-05208-000

Винт - Screw (Screw)

под заказ150 руб.
602112-05207-000

   (актуальный код замены) Винт - Screw

под заказ150 руб.
602112-05207-000

Винт - Screw (Screw)

под заказ150 руб.
732150-95302-000

Запчасть снята с производства - The Spare Part Is Laid Off (The Spare Part Is Laid Off)

под заказ0 руб.
732150-95303-000

   (актуальный код замены) Запчасть снята с производства - The Spare Part Is Laid Off

под заказ0 руб.
808321-21058-000

Шайба с блокировкой - Washer, Lock (Washer, Lock)

под заказ140 руб.
808321-0105A-000

   (актуальный код замены) Шайба с блокировкой - Washer, Lock

под заказ140 руб.
808321-0105A-000

Шайба с блокировкой - Washer, Lock (Washer, Lock)

под заказ140 руб.
902112-05108-000

Винт - Screw (Screw)

под заказ120 руб.
902112-05107-000

   (актуальный код замены) Винт - Screw

под заказ120 руб.
902112-05107-000

Винт - Screw (Screw, bracket ) (Screw)

под заказ120 руб.
1032102-95303-000

Запчасть снята с производства - The Spare Part Is Laid Off (The Spare Part Is Laid Off)

под заказ0 руб.
1032102-95305-000

   (актуальный код замены) Запчасть снята с производства - The Spare Part Is Laid Off

под заказ0 руб.
1108341-31059-000

Ключ - Key (Key ) (Key)

9 шт190 руб.
1209180-18007-000

Запчасть снята с производства - The Spare Part Is Laid Off (The Spare Part Is Laid Off)

под заказ0 руб.
1308310-12188-000

Гайка - Nut (Nut)

под заказ200 руб.
1308310-0018A-000

   (актуальный код замены) Гайка - Nut

под заказ200 руб.
1308310-0018A-000

Гайка - Nut (Nut)

под заказ200 руб.
1432399-95300-000

Запчасть снята с производства - The Spare Part Is Laid Off (The Spare Part Is Laid Off)

под заказ0 руб.
1532396-95302-000

Фиксатор основания магнето №2 - Retainer, Magneto Base No2 (Retainer, Magneto Base No.2)

под заказ0 руб.
1632395-95302-000

Запчасть снята с производства - The Spare Part Is Laid Off (The Spare Part Is Laid Off)

под заказ0 руб.
1702112-06088-000

Винт - Screw (Screw)

под заказ120 руб.
1702112-06087-000

   (актуальный код замены) Винт - Screw

под заказ120 руб.
1702112-06087-000

Винт - Screw (Screw)

под заказ120 руб.
1832725-95300-000

Запчасть снята с производства - The Spare Part Is Laid Off (The Spare Part Is Laid Off)

под заказ0 руб.
1832725-95310-000

   (актуальный код замены) Запчасть снята с производства - The Spare Part Is Laid Off

под заказ0 руб.
1901107-08168-000

Болт - Bolt (Bolt)

под заказ190 руб.
1901500-0816B-000

   (актуальный код замены) Болт - Bolt

под заказ190 руб.
1901500-0816B-000

Болт - Bolt (Bolt ) (Bolt)

под заказ190 руб.
2008321-21068-000

Шайба с блокировкой - Washer, Lock (Washer, Lock)

под заказ140 руб.
2008321-01067-000

   (актуальный код замены) Шайба с блокировкой - Washer, Lock

под заказ140 руб.
2008321-01067-000

Шайба с блокировкой - Washer, Lock (Washer, Lock)

под заказ140 руб.


Время выполнения запроса 2.9132828712463 сек.

 
 

данный сайт носит информационный характер и не является публичной офертой

склад запчастей для водомоторной техники