Найти запчасти на подвесной двигатель Suzuki модель 1986 года - Electrical / Электрика
вконтакте

Контактный телефон: +7 (981) 121-46-93, +7 (800) 200-90-76 , Email: parts-katalog@yandex.ru, где купить

 
 

  Логин:

Пароль:

Регистрация

www.partskatalog.ru Все каталоги Запчасти Mercury Запчасти Suzuki Запчасти Tohatsu Запчасти Honda Контакты



УВАЖАЕМЫЕ КЛИЕНТЫ!
C 19 ДЕКАБРЯ 2025 ПО 02 МАРТА 2026 ГОДА ОТДЕЛ ЗАПЧАСТЕЙ И СЕРВИС РАБОТАТЬ НЕ БУДУТ
ПРОДАЖА ЛОДОЧНЫХ МОТОРОВ В ШТАТНОМ РЕЖИМЕ
ОБ ИЗМЕНЕНИЯХ В ГРАФИКЕ РАБОТЫ ЧИТАЙТЕ НА САЙТА



назад Раздел:   вперёд

Вернуться к выбору узлов мотора


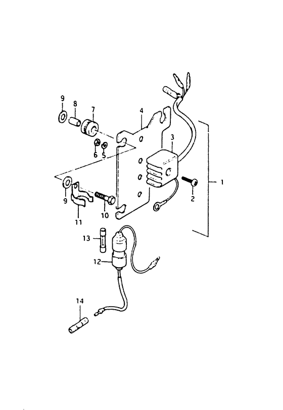
ДЕТАЛИРОВКА ДЛЯ МОДЕЛИ: SUZUKI DT50G(M/T) G

Электрика


Год выпуска двигателя: 1986

Номер на
рисунке
АртикулНаименованиеQTYКол-во
на складе
Цена
132801-95200-000

Запчасть снята с производства - The Spare Part Is Laid Off (The Spare Part Is Laid Off)

под заказ0 руб.
202112-05258-000

Винт - Screw (Screw)

под заказ120 руб.
202112-05257-000

   (актуальный код замены) Винт - Screw

под заказ120 руб.
202112-05257-000

Винт - Screw (Screw)

под заказ120 руб.
332800-95720-000

Выпрямитель в сборе - Rectifier Assy (Rectifier Assy)

под заказ10760 руб.
332800-95D02-000

   (актуальный код замены) Выпрямитель в сборе - Rectifier Assy

1 шт10760 руб.
332800-95D01-000

Выпрямитель в сборе - Rectifier Assy (Rectifier Assy)

под заказ10760 руб.
332800-95D02-000

   (актуальный код замены) Выпрямитель в сборе - Rectifier Assy

1 шт10760 руб.
432890-95201-000

Запчасть снята с производства - The Spare Part Is Laid Off (The Spare Part Is Laid Off)

под заказ0 руб.
508321-21058-000

Шайба с блокировкой - Washer, Lock (Washer, Lock)

под заказ140 руб.
508321-0105A-000

   (актуальный код замены) Шайба с блокировкой - Washer, Lock

под заказ140 руб.
508321-0105A-000

Шайба с блокировкой - Washer, Lock (Washer, Lock)

под заказ140 руб.
608310-11058-000

Гайка - Nut (Nut)

под заказ140 руб.
608310-00057-000

   (актуальный код замены) Гайка - Nut

под заказ140 руб.
608310-00057-000

Гайка - Nut (Nut)

под заказ140 руб.
709320-08015-000

Подушка - Cushion (Cushion # cushion; ) (Cushion)

под заказ290 руб.
809180-06035-000

Проставка (6.1x8x12) - Spacer (61x8x12) (Spacer (6.1x8x12))

под заказ160 руб.
809180-06249-000

   (актуальный код замены) Проставка (6.1x8x12) - Spacer (6.1x8x12)

под заказ160 руб.
809180-06249-000

Проставка (6.1x8x12) - Spacer (61x8x12) (Spacer (6.1x8x12) ) (Spacer (6.1x8x12))

под заказ160 руб.
909160-06052-000

Шайба (6.5x16x1.2) - Washer (65x16x12) (Washer (6.5x16x1.2) # washer; ) (Washer (6.5x16x1.2))

под заказ160 руб.
1001107-06258-000

Болт - Bolt (Bolt)

под заказ150 руб.
1001500-06257-000

   (актуальный код замены) Болт - Bolt

под заказ150 руб.
1001500-06257-000

Болт - Bolt (Bolt)

под заказ150 руб.
1136791-95200-000

Держатель, Предохранитель Case - Holder, Fuse Case (Holder, fuse # holder, fuse case; ) (Holder, Fuse Case)

под заказ340 руб.
1236740-95252-000

Корпус предохранителя - Case Assy, Fuse (Case Assy, Fuse)

под заказ1720 руб.
1236740-95253-000

   (актуальный код замены) Корпус предохранителя - Case Assy, Fuse

1 шт1720 руб.
1236740-95253-000

Корпус предохранителя - Case Assy, Fuse (Case Assy, Fuse)

1 шт1720 руб.
1437132-93700-000

Коннектор, Провод - Connector, Wire (Connector, lead wire # connector; ) (Connector, Wire)

под заказ220 руб.


Время выполнения запроса 1.1378798484802 сек.

 
 

данный сайт носит информационный характер и не является публичной офертой

склад запчастей для водомоторной техники