Купить запчасти на мотор Suzuki DT50S/L/LL/UL модель 1988 года - Цилиндр sвышеport
вконтакте

Контактный телефон: +7 (981) 121-46-93, +7 (800) 200-90-76 , Email: parts-katalog@yandex.ru, где купить

 
 

  Логин:

Пароль:

Регистрация

www.partskatalog.ru Все каталоги Запчасти Mercury Запчасти Suzuki Запчасти Tohatsu Запчасти Honda Контакты



УВАЖАЕМЫЕ КЛИЕНТЫ!
C 19 ДЕКАБРЯ 2025 ПО 02 МАРТА 2026 ГОДА ОТДЕЛ ЗАПЧАСТЕЙ И СЕРВИС РАБОТАТЬ НЕ БУДУТ
ПРОДАЖА ЛОДОЧНЫХ МОТОРОВ В ШТАТНОМ РЕЖИМЕ
ОБ ИЗМЕНЕНИЯХ В ГРАФИКЕ РАБОТЫ ЧИТАЙТЕ НА САЙТА



назад Раздел:   вперёд

Вернуться к выбору узлов мотора


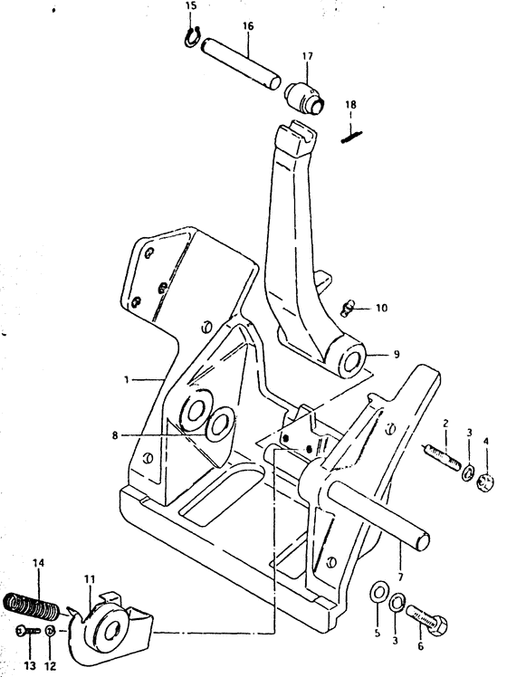
ДЕТАЛИРОВКА ДЛЯ МОДЕЛИ: SUZUKI DT50MJ(M/T) J

Цилиндр sвышеport


Код модели двигателя: DT50S/L/LL/UL

Год выпуска двигателя: 1988

Регион: General Export No.1 ,Код региона: P01

Цвет: Francois Whte №2Arctic Silver

Номер на
рисунке
АртикулНаименованиеQTYКол-во
на складе
Цена
148111-95501-01J

Запчасть снята с производства - The Spare Part Is Laid Off (The Spare Part Is Laid Off)

под заказ0 руб.
148111-95502-02M

   (актуальный код замены) Запчасть снята с производства - The Spare Part Is Laid Off

под заказ0 руб.
209108-10035-000

Болт под шпильку - Bolt, Stud (Bolt, Stud)

под заказ670 руб.
209108-10061-000

   (актуальный код замены) Болт под шпильку - Bolt, Stud

под заказ670 руб.
209108-10061-000

Болт под шпильку - Bolt, Stud (Bolt, Stud)

под заказ670 руб.
309162-10002-000

Шайба с блокировкой - Washer, Lock (Washer, Lock)

под заказ130 руб.
309162-10005-000

   (актуальный код замены) Шайба с блокировкой - Washer, Lock

под заказ130 руб.
309162-10005-000

Шайба с блокировкой - Washer, Lock (Lock washer ) (Washer, Lock)

под заказ130 руб.
409140-10015-000

Гайка - Nut (Nut)

под заказ160 руб.
409140-10031-000

   (актуальный код замены) Гайка - Nut

10 шт160 руб.
409140-10031-000

Гайка - Nut (Nut)

10 шт160 руб.
509160-10040-000

Шайба (10.5x19x2) - Washer (105x19x2) (Washer (10.5x19x2))

под заказ120 руб.
509160-10082-000

   (актуальный код замены) Шайба (10.5x19x2) - Washer (10.5x19x2)

19 шт120 руб.
509160-10082-000

Шайба (10.5x19x2) - Washer (105x19x2) (Washer ) (Washer (10.5x19x2))

19 шт120 руб.
609100-10123-000

Болт (10x35) - Bolt (10x35) (Bolt (10x35))

под заказ1040 руб.
609100-10220-000

   (актуальный код замены) Болт (10x35) - Bolt (10x35)

под заказ1040 руб.
609100-10220-000

Болт (10x35) - Bolt (10x35) (Bolt (10x35) ) (Bolt (10x35))

под заказ1040 руб.
748121-95500-000

Запчасть снята с производства - The Spare Part Is Laid Off (The Spare Part Is Laid Off)

под заказ0 руб.
748121-95510-000

   (актуальный код замены) Запчасть снята с производства - The Spare Part Is Laid Off

под заказ0 руб.
809160-15026-000

Запчасть снята с производства - The Spare Part Is Laid Off (The Spare Part Is Laid Off)

под заказ0 руб.
809160-15036-000

   (актуальный код замены) Запчасть снята с производства - The Spare Part Is Laid Off

под заказ0 руб.
948161-95502-01J

Запчасть снята с производства - The Spare Part Is Laid Off (The Spare Part Is Laid Off)

под заказ0 руб.
948161-95502-02M

   (актуальный код замены) Запчасть снята с производства - The Spare Part Is Laid Off

под заказ0 руб.
1022511-99000-000

Ниппель смазки - Nipple, Grease (Nipple, Grease)

под заказ340 руб.
1022511-99011-000

   (актуальный код замены) Ниппель смазки - Nipple, Grease

9 шт400 руб.
1022511-99011-000

Ниппель смазки - Nipple, Grease (Nipple, Grease)

9 шт400 руб.
1148165-95502-000

Запчасть снята с производства - The Spare Part Is Laid Off (The Spare Part Is Laid Off)

под заказ0 руб.
1209162-05002-000

Шайба с блокировкой - Washer, Lock (Lock washer # Lock washer; ) (Washer, Lock)

под заказ130 руб.
1309125-05025-000

Винт (5x12) - Screw (5x12) (Screw (5x12))

под заказ150 руб.
1309125-05046-000

   (актуальный код замены) Винт (5x12) - Screw (5x12)

под заказ150 руб.
1309125-05046-000

Винт (5x12) - Screw (5x12) (Screw (5x12) ) (Screw (5x12))

под заказ150 руб.
1409440-11011-000

Запчасть снята с производства - The Spare Part Is Laid Off (The Spare Part Is Laid Off)

под заказ0 руб.
1509380-12002-000

Пружинное кольцо - Ring, Snap (Circlip ) (Ring, Snap)

12 шт150 руб.
1648321-95500-000

Запчасть снята с производства - The Spare Part Is Laid Off (The Spare Part Is Laid Off)

под заказ0 руб.
1648321-95510-000

   (актуальный код замены) Запчасть снята с производства - The Spare Part Is Laid Off

под заказ0 руб.
1709319-12020-000

Втулка - Bush (Bush)

под заказ0 руб.
1709319-12041-000

   (актуальный код замены) Запчасть снята с производства - The Spare Part Is Laid Off

2 шт0 руб.
1709319-12041-000

Втулка - Bush (Bush, piston rod ) (Bush)

2 шт0 руб.
1809204-01002-000

Штифт - Pin (Cotter pin ) (Pin)

24 шт140 руб.


Время выполнения запроса 1.3020889759064 сек.

 
 

данный сайт носит информационный характер и не является публичной офертой

склад запчастей для водомоторной техники