Подобрать оригинальные запчасти на подвесной лодочный двигатель Suzuki DT50AS/L/LL - Основание двигателя / Engine holder
вконтакте

Контактный телефон: +7 (981) 121-46-93, +7 (800) 200-90-76 , Email: parts-katalog@yandex.ru, где купить

 
 

  Логин:

Пароль:

Регистрация

www.partskatalog.ru Все каталоги Запчасти Mercury Запчасти Suzuki Запчасти Tohatsu Запчасти Honda Контакты



УВАЖАЕМЫЕ КЛИЕНТЫ!
C 19 ДЕКАБРЯ 2025 ПО 02 МАРТА 2026 ГОДА ОТДЕЛ ЗАПЧАСТЕЙ И СЕРВИС РАБОТАТЬ НЕ БУДУТ
ПРОДАЖА ЛОДОЧНЫХ МОТОРОВ В ШТАТНОМ РЕЖИМЕ
ОБ ИЗМЕНЕНИЯХ В ГРАФИКЕ РАБОТЫ ЧИТАЙТЕ НА САЙТА



назад Раздел:   вперёд

Вернуться к выбору узлов мотора


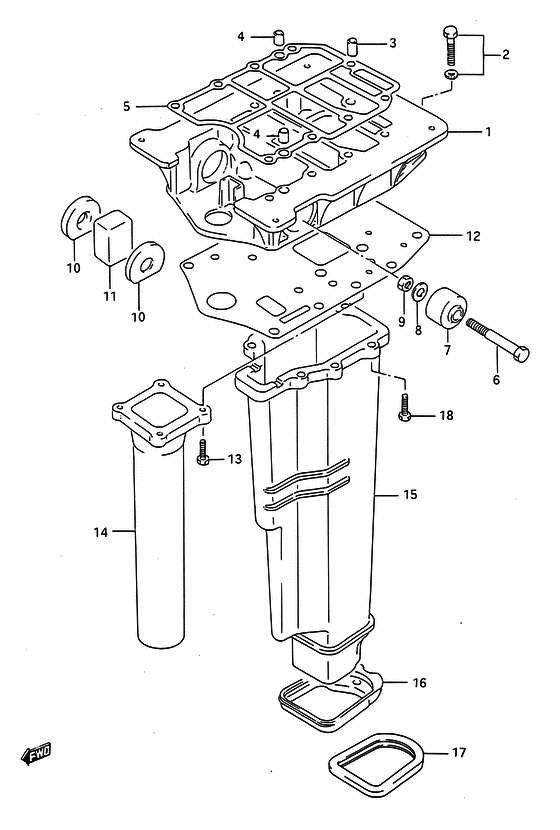
ДЕТАЛИРОВКА ДЛЯ МОДЕЛИ: SUZUKI DT50ATC N/DT50ACQ N

Основание двигателя


Код модели двигателя: DT50AS/L/LL

Год выпуска двигателя: 1992

Цвет: California Gray Metallic

Номер на
рисунке
АртикулНаименованиеQTYКол-во
на складе
Цена
151111-94711-0ED

Запчасть снята с производства - The Spare Part Is Laid Off (<-1111-94710-0ED) (The Spare Part Is Laid Off)

под заказ0 руб.
209117-08047-000

Болт (8x30) - Bolt (8x30) (Bolt (8x30))

10 шт520 руб.
309206-11017-000

Штифт (8.4x11x20) - Pin (84x11x20) (Pin (8.4x11x20) ) (Pin (8.4x11x20))

под заказ540 руб.
409206-11004-000

Штифт (8.4x11x14) - Pin (84x11x14) (Pin, gear case no.2 # <-9206-11001 ) (Pin (8.4x11x14))

под заказ410 руб.
551211-94750-000

Прокладка основания двигателя - Gasket, Engine Holder (Gasket, engine holder # <-1211-94730 <-1211-94740 ) (Gasket, Engine Holder)

под заказ0 руб.
609100-10208-000

Болт (10x70) - Bolt (10x70) (Bolt (10x70))

под заказ1380 руб.
754130-95500-000

Креплениеing, вышеr - Mounting, Upr (Mount, upper # <-4130-95201 ) (Mounting, Upr)

под заказ0 руб.
809160-10082-000

Шайба (10.5x19x2) - Washer (105x19x2) (Washer ) (Washer (10.5x19x2))

19 шт120 руб.
909140-10031-000

Гайка - Nut (Nut)

10 шт160 руб.
1054136-95501-000

Запчасть снята с производства - The Spare Part Is Laid Off (The Spare Part Is Laid Off)

под заказ0 руб.
1154135-95200-000

Креплениеing, вышеr Thrust - Mounting, Upr Thrust (Mount, upper thrust ) (Mounting, Upr Thrust)

под заказ0 руб.
1252113-94731-000

Прокладка корпуса вала передачи - Gasket, Drive Shaft Housing (Gasket, drive sft hsg # <-2113-94701 <-2113-94730 ) (Gasket, Drive Shaft Housing)

под заказ0 руб.
1309100-06122-000

Болт (6x20) - Bolt (6x20) (Bolt (6x20))

под заказ0 руб.
1414211-94701-000

Выхлопная труба (l & Ll & Ul) - Tube, Exhaust (l & Ll & Ul) (Tube, exhaust (l/ll) # <-4211-94700 ) (Tube, Exhaust (l & Ll & Ul))

под заказ0 руб.
1414211-94711-000

Выхлопная труба (s) - Tube, Exhaust (s) (<-4211-94710 ) (Tube, Exhaust (s))

под заказ0 руб.
1552311-94701-000

Запчасть снята с производства - The Spare Part Is Laid Off (<-4221-94700 <-2311-94700) (The Spare Part Is Laid Off)

под заказ0 руб.
1552311-94721-000

Корпус, Выхлоп Трубка (s) - Housing, Exhaust Tube (s) (Housing, exhaust tube (s) # <-4221-94710 ) (Housing, Exhaust Tube (s))

под заказ0 руб.
1652332-94701-000

Запчасть снята с производства - The Spare Part Is Laid Off (<-4231-94701) (The Spare Part Is Laid Off)

под заказ0 руб.
1752332-94711-000

Сальник выхлопной трубки Корпус - Seal, Exhaust Tube Housing (Seal, exhaust tube (l/ll) # <-4231-95601 ) (Seal, Exhaust Tube Housing)

под заказ1140 руб.
1752332-94712-000

   (актуальный код замены) Сальник выхлопной трубки Корпус - Seal, Exhaust Tube Housing

под заказ1140 руб.
1809100-06122-000

Болт (6x20) - Bolt (6x20) (Bolt (6x20))

под заказ0 руб.


Время выполнения запроса 1.4032731056213 сек.

 
 

данный сайт носит информационный характер и не является публичной офертой

склад запчастей для водомоторной техники