| |
 |
|
 |
Вернуться к выбору узлов мотора
ДЕТАЛИРОВКА ДЛЯ МОДЕЛИ: SUZUKI DT50ACQP(E4) P
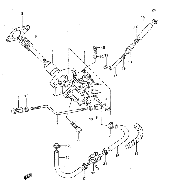
Масляный насос
Код модели двигателя: DT50AL/LL
Год выпуска двигателя: 1993
Регион: General Export No.1 ,Код региона: P01
Цвет: California Gray Metallic
Номер на рисунке | Артикул | Наименование | QTY | Кол-во на складе | Цена |
| 1 | 16100-94742-000 | Запчасть снята с производства - The Spare Part Is Laid Off (The Spare Part Is Laid Off) | | под заказ | 0 руб. |
| 2 | 16198-87D00-000 | Уплотнительное кольцо, Масляный насос - O Ring, Oil Pump (O Ring, Oil Pump) | | под заказ | 180 руб. |
| 3 | 16195-87D00-000 | Штифт, Защелка - Pin, Snap (Pin; ) (Pin, Snap) | | под заказ | 250 руб. |
| 4 | 13432-33100-000 | Шайба - Washer (Washer) | | под заказ | 330 руб. |
| 4 | 16091-94900-000 | Болт - Bolt (Bolt) | | под заказ | 390 руб. |
| 4 | 16092-92440-000 | Прокладка - Gasket (Gasket) | | под заказ | 0 руб. |
| 5 | 16331-95304-000 | Шестерня масляного насоса - Gear, Oil Pump Driven (Gear, driven # Gear, oil pump driven; ) (Gear, Oil Pump Driven) | | под заказ | 0 руб. |
| 6 | 16340-94700-000 | Фиксатор, Масляный насос - Retainer, Oil Pump (Retainer, Oil Pump) | | под заказ | 0 руб. |
| 6 | 16340-94710-000 | (актуальный код замены) Запчасть снята с производства - The Spare Part Is Laid Off | | под заказ | 0 руб. |
| 6 | 16340-94710-000 | Фиксатор, Масляный насос - Retainer, Oil Pump (Retainer, oil pump ) (Retainer, Oil Pump) | | под заказ | 0 руб. |
| 6 | 16340-94710-000 | Фиксатор, Масляный насос - Retainer, Oil Pump (Retainer, oil pump # Model:99 ) (Retainer, Oil Pump) | | под заказ | 0 руб. |
| 7 | 16411-94710-000 | Запчасть снята с производства - The Spare Part Is Laid Off (The Spare Part Is Laid Off) | | под заказ | 0 руб. |
| 8 | 16731-95520-000 | Прокладка масляного насоса - Gasket, Oil Pump (Gasket, oil pump retainer ) (Gasket, Oil Pump) | | под заказ | 0 руб. |
| 9 | 19131-95502-000 | Коннектор - Connector (Connector, oil pump no.2 # Connector, oil pump control; ) (Connector) | | 21 шт | 530 руб. |
| 10 | 09140-05005-000 | Гайка - Nut (Nut) | | 10 шт | 270 руб. |
| 11 | 07130-06307-000 | Болт - Bolt (Bolt) | | под заказ | 260 руб. |
| 12 | 16250-94710-000 | Датчик, Oil - Sensor, Oil (Sensor, oil; ) (Sensor, Oil) | | под заказ | 4950 руб. |
| 13 | 16710-94641-000 | Контрольный клапан Oil (double) - Valve, Check Oil (double) (Valve, check (double); ) (Valve, Check Oil (double)) | | под заказ | 3580 руб. |
| 14 | 16911-92E20-000 | Защита (9x11x540) - Protector (9x11x540) (Protector; L:540->0 ) (Protector (9x11x540)) | | под заказ | 810 руб. |
| 15 | 09351-50803-600 | Шланг (5x8x1000) - Hose (5x8x1000) (Hose, oil; L:600->0) (Hose (5x8x1000)) | | под заказ | 360 руб. |
| 15 | 09351-50803-00A | (актуальный код замены) Шланг (5x8x1000) - Hose (5x8x1000) | | под заказ | 360 руб. |
| 15 | 09351-50803-00A | Шланг (5x8x1000) - Hose (5x8x1000) (Hose (5x8x1000)) | | под заказ | 360 руб. |
| 16 | 09352-50903-600 | Шланг (5x9x600) - Hose (5x9x600) (Hose, oil; L:600->25 ) (Hose (5x9x600)) | | под заказ | 570 руб. |
| 16 | 09352-50006-600 | (актуальный код замены) Шланг (5x9x600) - Hose (5x9x600) | | 1 шт | 570 руб. |
| 17 | 09352-50903-600 | Шланг (5x9x600) - Hose (5x9x600) (Hose, oil; L:600->50 ) (Hose (5x9x600)) | | под заказ | 570 руб. |
| 17 | 09352-50006-600 | (актуальный код замены) Шланг (5x9x600) - Hose (5x9x600) | | 1 шт | 570 руб. |
| 18 | 09355-25705-600 | Шланг (2.5x7x600) - Hose (25x7x600) (Hose, out no.4 (2.5x7x300) # Hose, oil; L:600->0 ) (Hose (2.5x7x600)) | | под заказ | 680 руб. |
| 18 | 09355-25001-600 | (актуальный код замены) Шланг - Hose | | под заказ | 680 руб. |
| 19 | 09401-06405-000 | Зажим - Clip (Clip) | | под заказ | 160 руб. |
| 20 | 09401-07403-000 | Зажим - Clip (Clip) | | под заказ | 160 руб. |
| 20 | 09401-08409-000 | (актуальный код замены) Зажим - Clip | | под заказ | 160 руб. |
| 20 | 09401-08409-000 | Зажим - Clip (Clip) | | под заказ | 160 руб. |
| 21 | 09401-08411-000 | Зажим - Clip (Clip) | | 8 шт | 130 руб. |
Время выполнения запроса 0.96130609512329 сек. |
|