Комплектующие на лодочный подвесной мотор SUZUKI DT50AS/L/LL модель 1999 года - Power unit
вконтакте

Контактный телефон: +7 (981) 121-46-93, +7 (800) 200-90-76 , Email: parts-katalog@yandex.ru, где купить

 
 

  Логин:

Пароль:

Регистрация

www.partskatalog.ru Все каталоги Запчасти Mercury Запчасти Suzuki Запчасти Tohatsu Запчасти Honda Контакты



УВАЖАЕМЫЕ КЛИЕНТЫ!
C 19 ДЕКАБРЯ 2025 ПО 02 МАРТА 2026 ГОДА ОТДЕЛ ЗАПЧАСТЕЙ И СЕРВИС РАБОТАТЬ НЕ БУДУТ
ПРОДАЖА ЛОДОЧНЫХ МОТОРОВ В ШТАТНОМ РЕЖИМЕ
ОБ ИЗМЕНЕНИЯХ В ГРАФИКЕ РАБОТЫ ЧИТАЙТЕ НА САЙТА



назад Раздел:   вперёд

Вернуться к выбору узлов мотора


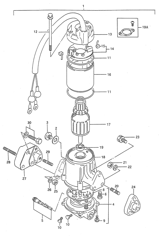
ДЕТАЛИРОВКА ДЛЯ МОДЕЛИ: SUZUKI DT50ATCX(E4) X

Power unit


Код модели двигателя: DT50AS/L/LL

Год выпуска двигателя: 1999

Регион: General Export No.1 ,Код региона: P01

Цвет: California Gray Metallic

Номер на
рисунке
АртикулНаименованиеQTYКол-во
на складе
Цена
148500-95220-0ED

Power Unit, Power trim (чёрный) - Power Unit, Power Trim (black) (Power Unit, Power Trim (black))

под заказ0 руб.
148500-95550-0EP

   (актуальный код замены) Запчасть снята с производства - The Spare Part Is Laid Off

под заказ0 руб.
148500-95550-0EP

Power Unit, Power trim (чёрный) - Power Unit, Power Trim (black) (Power Unit, Power Trim (black))

под заказ0 руб.
148500-95290-0ED

Power Unit в сборе, левая сторона (gray - Power Unit Assy, Port Side (gray (Opt:port) (Power Unit Assy, Port Side (gray)

под заказ0 руб.
148500-95680-0ED

   (актуальный код замены) Запчасть снята с производства - The Spare Part Is Laid Off

под заказ0 руб.
148500-95680-0ED

Power Unit в сборе, левая сторона (gray - Power Unit Assy, Port Side (gray (Power unit assy, power trim ) (Power Unit Assy, Port Side (gray)

под заказ0 руб.
209280-09005-000

Уплотнительное кольцо (d: 1.9, Id: 8.6) - O Ring (d:19, Id:86) (O Ring (d:1.9, Id:8.6))

9 шт390 руб.
348511-95500-000

Заглушка - Plug (Plug)

под заказ0 руб.
448502-95210-000

Помпа & Клапан Корпус в сборе - Pump & Valve Body Assy (Pump & Valve Body Assy)

под заказ0 руб.
448502-94530-000

   (актуальный код замены) Запчасть снята с производства - The Spare Part Is Laid Off

под заказ0 руб.
448502-94530-000

Помпа & Клапан Корпус в сборе - Pump & Valve Body Assy (Valve body ) (Pump & Valve Body Assy)

под заказ0 руб.
548550-94600-000

Ручной клапан - Valve, Manual (Valve, manual ) (Valve, Manual)

под заказ0 руб.
648581-94500-000

Фильтр - Filter (Filter)

под заказ0 руб.
648581-87D00-000

   (актуальный код замены) Запчасть снята с производства - The Spare Part Is Laid Off

под заказ0 руб.
648581-87D00-000

Фильтр - Filter (Filter, valve case ) (Filter)

под заказ0 руб.
748583-94520-000

Соединение привода - Joint, Drive (Joint, drive # Joint, drive; ) (Joint, Drive)

под заказ0 руб.
848585-94520-000

Уплотнительное кольцо - O Ring (O ring, valve body # O ring, valve body; ) (O Ring)

под заказ0 руб.
948593-94500-000

Винт (5x20) - Screw (5x20) (Screw, valve body;) (Screw (5x20))

под заказ150 руб.
909136-05041-000

   (актуальный код замены) Винт (5x20) - Screw (5x20)

4 шт150 руб.
909136-05041-000

Винт (5x20) - Screw (5x20) (Screw, rod adjuster ) (Screw (5x20))

4 шт150 руб.
1048586-94500-000

Заглушка, Клапан Корпус Port - Plug, Valve Body Port (Plug, valve body # Plug, valve body; ) (Plug, Valve Body Port)

под заказ0 руб.
1109280-70005-000

Уплотнительное кольцо (d: 3.1, Id: 69.4) - O Ring (d:31, Id:694) (Band (d:3.1 id:69.4) # O ring; ) (O Ring (d:3.1, Id:69.4))

под заказ520 руб.
1231281-94610-000

Запчасть снята с производства - The Spare Part Is Laid Off (The Spare Part Is Laid Off)

под заказ0 руб.
1331170-94610-0ED

Запчасть снята с производства - The Spare Part Is Laid Off (The Spare Part Is Laid Off)

под заказ0 руб.
1431173-94620-000

Держатель, Щётка - Holder, Brush (Holder, brush; ) (Holder, Brush)

под заказ25200 руб.
1531133-94610-000

Щётка - Brush (Brush)

под заказ1370 руб.
1631110-94610-0ED

Запчасть снята с производства - The Spare Part Is Laid Off (The Spare Part Is Laid Off)

под заказ0 руб.
1731311-94610-000

Запчасть снята с производства - The Spare Part Is Laid Off (The Spare Part Is Laid Off)

под заказ0 руб.
1848570-94610-0ED

Резервуар - Reservoir (Reservoir)

под заказ0 руб.
1933799-94610-000

Сальник - Seal, Oil (Seal, oil; ) (Seal, Oil)

под заказ3080 руб.
1933899-94600-000

Запчасть снята с производства - The Spare Part Is Laid Off (The Spare Part Is Laid Off)

под заказ0 руб.
2009108-08137-000

Болт под шпильку - Bolt, Stud (Bolt, stud ) (Bolt, Stud)

под заказ480 руб.
2109140-08016-000

Гайка - Nut (Nut, power unit stud bolt;) (Nut)

под заказ190 руб.
2109140-08023-XC0

Гайка - Nut (Nut)

14 шт190 руб.
2209162-08007-000

Шайба с блокировкой - Washer, Lock (Lock washer # Washer, power unit stud lock; ) (Washer, Lock)

под заказ160 руб.
2309117-08046-000

Болт (8x22) - Bolt (8x22) (Bolt, power unit;) (Bolt (8x22))

под заказ730 руб.
2309116-08149-000

   (актуальный код замены) Болт (8x22) - Bolt (8x22)

под заказ730 руб.
2309116-08149-000

Болт (8x22) - Bolt (8x22) (Bolt (8x22))

под заказ730 руб.
2309116-08149-000

Болт (8x22) - Bolt (8x22) (Bolt (8x22))

под заказ730 руб.
2448131-95200-000

Запчасть снята с производства - The Spare Part Is Laid Off (Spacer, power unit;) (The Spare Part Is Laid Off)

под заказ0 руб.
2509140-08016-000

Гайка - Nut (Nut)

под заказ190 руб.
2509140-08023-XC0

Гайка - Nut (Nut)

14 шт190 руб.
2609162-08007-000

Шайба с блокировкой - Washer, Lock (Lock washer ) (Washer, Lock)

под заказ160 руб.
2748131-95281-0ED

Проставка, Power Unit (gray) - Spacer, Power Unit (gray) (Spacer, power unit # Opt:port ) (Spacer, Power Unit (gray))

под заказ0 руб.
2809108-08063-000

Болт под шпильку - Bolt, Stud (Opt:port ) (Bolt, Stud)

под заказ0 руб.
2909108-08130-000

Болт под шпильку - Bolt, Stud (Stud bolt; Opt:port ) (Bolt, Stud)

7 шт710 руб.
3009117-08056-000

Болт (8x40) - Bolt (8x40) (Bolt, spacer (8x40); Opt:port) (Bolt (8x40))

под заказ2010 руб.
3009117-08056-XC0

   (актуальный код замены) Болт (8x40) - Bolt (8x40)

под заказ2010 руб.
3009117-08056-XC0

Болт (8x40) - Bolt (8x40) (Bolt (8x40))

под заказ2010 руб.


Время выполнения запроса 2.803670167923 сек.

 
 

данный сайт носит информационный характер и не является публичной офертой

склад запчастей для водомоторной техники