Запчасти на подвесной двигатель Сузуки DT55MS/L/UL - Recoil starter
вконтакте

Контактный телефон: +7 (981) 121-46-93, +7 (800) 200-90-76 , Email: parts-katalog@yandex.ru, где купить

 
 

  Логин:

Пароль:

Регистрация

www.partskatalog.ru Все каталоги Запчасти Mercury Запчасти Suzuki Запчасти Tohatsu Запчасти Honda Контакты

назад Раздел:   вперёд

Вернуться к выбору узлов мотора


ДЕТАЛИРОВКА ДЛЯ МОДЕЛИ: SUZUKI DT55MVF(VF/VG/VH) F

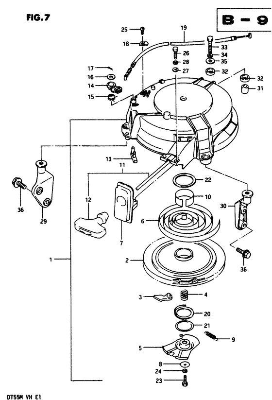
Барабанный стартер


Код модели двигателя: DT55MS/L/UL

Год выпуска двигателя: 1985

Регион: General Export No.1 ,Код региона: P01

Цвет: Francois Whte №2Arctic Silver

Номер на
рисунке
АртикулНаименованиеQTYКол-во
на складе
Цена
118100-95300-000

под заказнет сведений
161622-95500-000

Сальник барабанного стартера - Seal, Recoil Starter (Rubber, recoil starter seal ) (Seal, Recoil Starter)

1 шт870 руб.
218121-95200-000

Запчасть снята с производства - The Spare Part Is Laid Off (The Spare Part Is Laid Off)

под заказ0 руб.
318130-95200-000

Запчасть снята с производства - The Spare Part Is Laid Off (The Spare Part Is Laid Off)

под заказ0 руб.
418153-95200-000

Фрикционная пружина - Spring, Friction (Spring, friction ) (Spring, Friction)

под заказ0 руб.
518151-95201-000

под заказ0 руб.
518150-95200-000

Пластина трения - Plate, Friction (Plate, Friction)

под заказ0 руб.
618142-95210-000

Пружина - Spring (Spring)

под заказ9510 руб.
718191-94400-000

Запчасть снята с производства - The Spare Part Is Laid Off (The Spare Part Is Laid Off)

под заказ0 руб.
818335-93000-000

Запчасть снята с производства - The Spare Part Is Laid Off (Washer;) (The Spare Part Is Laid Off)

под заказ0 руб.
918155-95200-000

Запчасть снята с производства - The Spare Part Is Laid Off (The Spare Part Is Laid Off)

под заказ0 руб.
918155-95203-000

   (актуальный код замены) Запчасть снята с производства - The Spare Part Is Laid Off

под заказ0 руб.
1018124-95210-000

Запчасть снята с производства - The Spare Part Is Laid Off (The Spare Part Is Laid Off)

под заказ0 руб.
1118200-95203-000

под заказ0 руб.
1118210-93002-000

Рукоятка в сборе - Grip Assy (Grip Assy)

1 шт1150 руб.
1218210-93001-000

Рукоятка в сборе - Grip Assy (Grip Assy)

под заказ1150 руб.
1218210-93002-000

   (актуальный код замены) Рукоятка в сборе - Grip Assy

1 шт1150 руб.
1218210-93002-000

Рукоятка в сборе - Grip Assy (Grip Assy)

1 шт1150 руб.
1318281-96300-000

Барабан, Стопор - Reel, Stopper (Reel, stopper # Reel, stopper; ) (Reel, Stopper)

под заказ620 руб.
1418282-96300-000

Запчасть снята с производства - The Spare Part Is Laid Off (Stopper, arm;) (The Spare Part Is Laid Off)

под заказ0 руб.
1518284-96300-000

Пружина - Spring (Spring)

под заказ0 руб.
1618335-96300-000

Шайба - Washer (Washer)

под заказ140 руб.
1718348-96300-000

Штифт - Pin (Pin)

под заказ150 руб.
1709204-01006-000

   (актуальный код замены) Штифт - Pin

14 шт150 руб.
1709204-01006-000

Штифт - Pin (Pin, cotter ) (Pin)

14 шт150 руб.
1818291-96300-000

Запчасть снята с производства - The Spare Part Is Laid Off (The Spare Part Is Laid Off)

под заказ0 руб.
1918290-94400-000

Тросик NSI - Cable Assy, Nsi (Cable Assy, Nsi)

под заказ2180 руб.
2018157-95200-000

Запчасть снята с производства - The Spare Part Is Laid Off (The Spare Part Is Laid Off)

под заказ0 руб.
2118127-95200-000

Запчасть снята с производства - The Spare Part Is Laid Off (The Spare Part Is Laid Off)

под заказ0 руб.
2218144-95200-000

Запчасть снята с производства - The Spare Part Is Laid Off (The Spare Part Is Laid Off)

под заказ0 руб.
2301107-06202-000

Болт - Bolt (Bolt)

под заказ150 руб.
2301500-06207-000

   (актуальный код замены) Болт - Bolt

под заказ150 руб.
2301500-06207-000

Болт - Bolt (Bolt)

под заказ150 руб.
2408321-31067-000

Шайба с блокировкой - Washer, Lock (Washer, Lock)

под заказ140 руб.
2408321-01067-000

   (актуальный код замены) Шайба с блокировкой - Washer, Lock

под заказ140 руб.
2408321-01067-000

Шайба с блокировкой - Washer, Lock (Washer, Lock)

под заказ140 руб.
2518342-96300-000

Винт - Screw (Screw)

под заказ120 руб.
2502112-05107-000

   (актуальный код замены) Винт - Screw

под заказ120 руб.
2502112-05107-000

Винт - Screw (Screw, bracket ) (Screw)

под заказ120 руб.
2601107-06202-000

Болт - Bolt (Bolt)

под заказ150 руб.
2601500-06207-000

   (актуальный код замены) Болт - Bolt

под заказ150 руб.
2601500-06207-000

Болт - Bolt (Bolt)

под заказ150 руб.
2708322-21062-000

Шайба - Washer (Washer)

под заказ140 руб.
2708322-01067-000

   (актуальный код замены) Шайба - Washer

10 шт160 руб.
2708322-01067-000

Шайба - Washer (Washer)

10 шт160 руб.
2808321-21062-000

Шайба с блокировкой - Washer, Lock (Washer, Lock)

под заказ140 руб.
2808321-01067-000

   (актуальный код замены) Шайба с блокировкой - Washer, Lock

под заказ140 руб.
2808321-01067-000

Шайба с блокировкой - Washer, Lock (Washer, Lock)

под заказ140 руб.
2918711-95300-02M

Запчасть снята с производства - The Spare Part Is Laid Off (The Spare Part Is Laid Off)

под заказ0 руб.
2918711-95300-0ED

   (актуальный код замены) Запчасть снята с производства - The Spare Part Is Laid Off

под заказ0 руб.
2918711-95300-01T

Запчасть снята с производства - The Spare Part Is Laid Off (The Spare Part Is Laid Off)

под заказ0 руб.
2918711-95300-0ED

   (актуальный код замены) Запчасть снята с производства - The Spare Part Is Laid Off

под заказ0 руб.
3018721-95300-02M

Запчасть снята с производства - The Spare Part Is Laid Off (The Spare Part Is Laid Off)

под заказ0 руб.
3018721-95300-0ED

   (актуальный код замены) Запчасть снята с производства - The Spare Part Is Laid Off

под заказ0 руб.
3018721-95300-01T

Запчасть снята с производства - The Spare Part Is Laid Off (The Spare Part Is Laid Off)

под заказ0 руб.
3018721-95300-0ED

   (актуальный код замены) Запчасть снята с производства - The Spare Part Is Laid Off

под заказ0 руб.
3109180-08085-000

Запчасть снята с производства - The Spare Part Is Laid Off (The Spare Part Is Laid Off)

под заказ0 руб.
3109180-08203-000

   (актуальный код замены) Запчасть снята с производства - The Spare Part Is Laid Off

под заказ0 руб.
3109180-08203-000

Запчасть снята с производства - The Spare Part Is Laid Off (The Spare Part Is Laid Off)

под заказ0 руб.
3209320-14011-000

Подушка - Cushion (Cushion)

под заказ0 руб.
3209320-14028-000

   (актуальный код замены) Запчасть снята с производства - The Spare Part Is Laid Off

под заказ0 руб.
3301107-08352-000

Болт - Bolt (Bolt)

под заказ230 руб.
3301500-0835B-000

   (актуальный код замены) Болт - Bolt

под заказ230 руб.
3301500-0835B-000

Болт - Bolt (Bolt, muffler support ) (Bolt)

под заказ230 руб.
3408321-21082-000

Шайба с блокировкой - Washer, Lock (Washer, Lock)

под заказ140 руб.
3408321-01087-000

   (актуальный код замены) Шайба с блокировкой - Washer, Lock

под заказ140 руб.
3408321-01087-000

Шайба с блокировкой - Washer, Lock (Washer, lock ) (Washer, Lock)

под заказ140 руб.
3508322-21082-000

Шайба - Washer (Washer)

под заказ140 руб.
3508322-01087-000

   (актуальный код замены) Шайба - Washer

под заказ140 руб.
3508322-01087-000

Шайба - Washer (Lock washer ) (Washer)

под заказ140 руб.
3601517-08302-000

Болт - Bolt (Bolt)

под заказ260 руб.
3601550-08307-000

   (актуальный код замены) Болт - Bolt

21 шт320 руб.
3601550-08307-000

Болт - Bolt (Bolt)

21 шт320 руб.


Время выполнения запроса 3.0248398780823 сек.

 
 

данный сайт носит информационный характер и не является публичной офертой

склад запчастей для водомоторной техники