| |
 |
|
 |
Вернуться к выбору узлов мотора
ДЕТАЛИРОВКА ДЛЯ МОДЕЛИ: SUZUKI DT55TCVG(F/G/Y) G
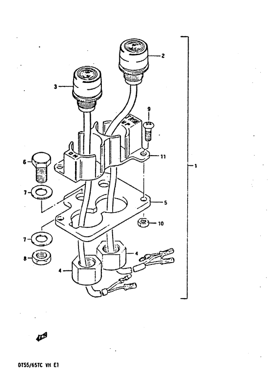
Переключатель трима
Год выпуска двигателя: 1986
Номер на рисунке | Артикул | Наименование | QTY | Кол-во на складе | Цена |
| 1 | 37850-95310-000 | Переключатель управления наклоном и тримом (l: 220) - Switch, Tilt & Trim (l:220) (Switch, Tilt & Trim (l:220)) | | под заказ | 0 руб. |
| 1 | 37850-95312-000 | (актуальный код замены) Запчасть снята с производства - The Spare Part Is Laid Off | | под заказ | 0 руб. |
| 1 | 37850-95312-000 | Переключатель управления наклоном и тримом (l: 220) - Switch, Tilt & Trim (l:220) (Switch assy, tilt & trim ) (Switch, Tilt & Trim (l:220)) | | под заказ | 0 руб. |
| 2 | 37860-95320-000 | Переключатель, Trim - Switch, Trim (Switch, Trim) | | под заказ | 2790 руб. |
| 2 | 37860-95324-000 | (актуальный код замены) Переключатель, Trim - Switch, Trim | | под заказ | 2790 руб. |
| 2 | 37860-95324-000 | Переключатель, Trim - Switch, Trim (Switch trim, up ) (Switch, Trim) | | под заказ | 2790 руб. |
| 3 | 37870-95320-000 | Переключатель трима, Dn - Trim Switch, Dn (Trim Switch, Dn) | | под заказ | 3700 руб. |
| 3 | 37870-95324-000 | (актуальный код замены) Переключатель трима, Dn - Trim Switch, Dn | | под заказ | 3700 руб. |
| 3 | 37870-95324-000 | Переключатель трима, Dn - Trim Switch, Dn (Trim Switch, Dn) | | под заказ | 3700 руб. |
| 4 | 09139-14014-000 | | | под заказ | нет сведений |
| 5 | 37852-95211-000 | Пластителя переключателя трима - Plate, Trim Switch (Plate, Trim Switch) | | под заказ | 0 руб. |
| 6 | 09100-08232-000 | Болт (8x30) - Bolt (8x30) (Bolt (8*30); ) (Bolt (8x30)) | | 6 шт | 350 руб. |
| 7 | 09160-08015-000 | Шайба (8.5x16x1.2) - Washer (85x16x12) (Washer (8.5x16x1.2)) | | под заказ | 120 руб. |
| 7 | 09160-08082-000 | (актуальный код замены) Шайба (8.5x16x1.2) - Washer (8.5x16x1.2) | | 13 шт | 120 руб. |
| 7 | 09160-08082-000 | Шайба (8.5x16x1.2) - Washer (85x16x12) (Washer (8.5x16x1.2)) | | 13 шт | 120 руб. |
| 8 | 09140-08012-000 | Гайка - Nut (Nut) | | под заказ | 160 руб. |
| 8 | 09140-08019-000 | (актуальный код замены) Гайка - Nut | | под заказ | 160 руб. |
| 8 | 09140-08019-000 | Гайка - Nut (Nut) | | под заказ | 160 руб. |
| 9 | 02142-04127-000 | Винт - Screw (Screw) | | под заказ | 110 руб. |
| 10 | 08310-11047-000 | Гайка - Nut (Nut) | | под заказ | 140 руб. |
| 10 | 08310-00047-000 | (актуальный код замены) Гайка - Nut | | под заказ | 140 руб. |
| 10 | 08310-00047-000 | Гайка - Nut (Nut) | | под заказ | 140 руб. |
| 11 | 37854-95201-000 | Запчасть снята с производства - The Spare Part Is Laid Off (The Spare Part Is Laid Off) | | под заказ | 0 руб. |
Время выполнения запроса 1.4894912242889 сек. |
|