Купить оригинальные запчасти на подвесной лодочный мотор SUZUKI модель 1987 года - Clutch
вконтакте

Контактный телефон: +7 (981) 121-46-93, +7 (800) 200-90-76 , Email: parts-katalog@yandex.ru, где купить

 
 

  Логин:

Пароль:

Регистрация

www.partskatalog.ru Все каталоги Запчасти Mercury Запчасти Suzuki Запчасти Tohatsu Запчасти Honda Контакты



УВАЖАЕМЫЕ КЛИЕНТЫ!
C 19 ДЕКАБРЯ 2025 ПО 02 МАРТА 2026 ГОДА ОТДЕЛ ЗАПЧАСТЕЙ И СЕРВИС РАБОТАТЬ НЕ БУДУТ
ПРОДАЖА ЛОДОЧНЫХ МОТОРОВ В ШТАТНОМ РЕЖИМЕ
ОБ ИЗМЕНЕНИЯХ В ГРАФИКЕ РАБОТЫ ЧИТАЙТЕ НА САЙТА



назад Раздел:   вперёд

Вернуться к выбору узлов мотора


ДЕТАЛИРОВКА ДЛЯ МОДЕЛИ: SUZUKI DT55HTCVH(F/G/Y) H

Сцепление


Год выпуска двигателя: 1987

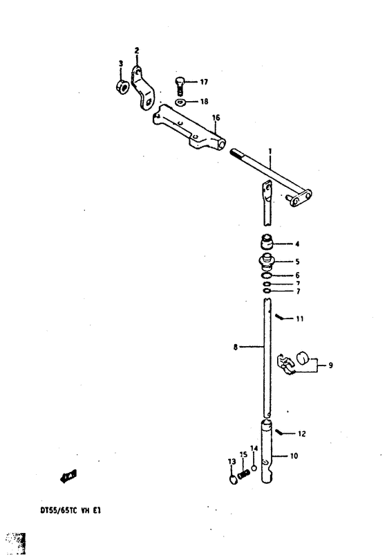
Номер на
рисунке
АртикулНаименованиеQTYКол-во
на складе
Цена
121210-94702-000

Сцепление Вал - Shaft, Clutch (Shaft, Clutch)

под заказ0 руб.
121210-94703-000

   (актуальный код замены) Запчасть снята с производства - The Spare Part Is Laid Off

под заказ0 руб.
121210-94703-000

Сцепление Вал - Shaft, Clutch (Shaft, Clutch)

под заказ0 руб.
221213-94700-000

Крышка вала сцепления Side - Arm, Clutch Shaft Side (Arm, clutch shaft side ) (Arm, Clutch Shaft Side)

под заказ0 руб.
221213-94711-000

Запчасть снята с производства - The Spare Part Is Laid Off (Dt55h) (The Spare Part Is Laid Off)

под заказ0 руб.
308319-31087-000

Гайка - Nut (Nut)

под заказ180 руб.
425223-95200-000

Пыльник, Переключающая тяга - Dust Seal, Shift Rod (Dust seal, shift rod # Dust seal, shift rod; ) (Dust Seal, Shift Rod)

под заказ0 руб.
525211-95202-000

под заказ0 руб.
525211-94401-000

Направляющая переключающей тяги - Guide, Shift Rod (Guide, Shift Rod)

1 шт2480 руб.
525223-94400-000

Пыльник переключающеё тяги - Seal, Shift Rod Dust (Seal, Shift Rod Dust)

под заказ550 руб.
525223-96J00-000

   (актуальный код замены) Сальник тяги сцепления - Seal, Clutch Rod

83 шт630 руб.
609280-11001-000

Уплотнительное кольцо (d: 2.4, Id: 10.8) - O Ring (d:24, Id:108) (O ring (d:2.4, id:11.0) ) (O Ring (d:2.4, Id:10.8))

28 шт210 руб.
6SK09280-11001

   (не оригинальный аналог) Кольцо уплотнительное тяги переключения передач Skipper для Suzuki Модели техники: DT20-85/DF2.5-DF50/DF40A-DF60A

0 шт32 руб.
709280-08005-000

Уплотнительное кольцо (d: 1.7, Id: 7.7) - O Ring (d:17, Id:77) (O ring (d:1.8, id:7.6) # O ring (d:1.8, id:7.6); ) (O Ring (d:1.7, Id:7.7))

45 шт160 руб.
825111-95704-000

Тяга сцепления - Rod, Clutch (Rod, clutch (s type) # Rod, clutch (s); L:593 ) (Rod, Clutch)

под заказ0 руб.
825111-95204-000

Тяга сцепления (l) - Rod, Clutch (l) (Rod, clutch (l type) # Rod, clutch (l); L:708 ) (Rod, Clutch (l))

под заказ0 руб.
825111-95220-000

Тяга сцепления (ll) - Rod, Clutch (ll) (L:784 ) (Rod, Clutch (ll))

под заказ0 руб.
825111-95263-000

Тяга сцепления (ul) - Rod, Clutch (ul) (Rod, clutch (ul); L:851 ) (Rod, Clutch (ul))

под заказ0 руб.
925230-94300-000

Магнето Set, Картер коробки передач - Magneto Set, Gear Case (Magnet set, gear case # Magnet set, gear case; ) (Magneto Set, Gear Case)

под заказ1650 руб.
1025311-94700-000

Кулачок переключателя - Cam, Shift (Came cletch;) (Cam, Shift)

под заказ0 руб.
1025311-947V0-000

   (актуальный код замены) Запчасть снята с производства - The Spare Part Is Laid Off

под заказ0 руб.
1025311-947V0-000

Кулачок переключателя - Cam, Shift (Cam, Shift)

под заказ0 руб.
1109205-02004-000

Стопор пружины (2.5x12) - Pin, Spring (25x12) (Spring pin # Spring pin; ) (Pin, Spring (2.5x12))

13 шт100 руб.
1209205-03021-000

Стопор пружины (3.5x12) - Pin, Spring (35x12) (Spring pin; ) (Pin, Spring (3.5x12))

под заказ120 руб.
1321121-93300-000

Пластина в паз сцепления - Plate, Clutch Notch (Plate, clutch notch # Plate, clutch notch; ) (Plate, Clutch Notch)

50 шт180 руб.
1409260-10005-000

Шарик - Ball (Steel ball # Steel ball; ) (Ball)

4 шт210 руб.
1509440-07033-000

Пружина - Spring (Spring)

под заказ160 руб.
1621311-94701-000

Держатель вала сцепления - Holder, Clutch Shaft (Holder, Clutch Shaft)

под заказ0 руб.
1621311-94702-000

   (актуальный код замены) Запчасть снята с производства - The Spare Part Is Laid Off

под заказ0 руб.
1621311-94702-000

Держатель вала сцепления - Holder, Clutch Shaft (Holder, clutch shaft ) (Holder, Clutch Shaft)

под заказ0 руб.
1709100-06122-000

Болт (6x20) - Bolt (6x20) (Bolt (6x20))

под заказ0 руб.
1809160-06015-000

Шайба (6.5x13x1.0) - Washer (65x13x10) (Washer (6.5x13x1.0))

под заказ120 руб.
1809160-06082-000

   (актуальный код замены) Шайба (6.5x13x1.0) - Washer (6.5x13x1.0)

7 шт150 руб.
1809160-06082-000

Шайба (6.5x13x1.0) - Washer (65x13x10) (Washer (6.5x13x1.0))

7 шт150 руб.


Время выполнения запроса 2.9488298892975 сек.

 
 

данный сайт носит информационный характер и не является публичной офертой

склад запчастей для водомоторной техники