|
 |
Раздел:
|
 |
Вернуться к выбору узлов мотора
ДЕТАЛИРОВКА ДЛЯ МОДЕЛИ: SUZUKI DT55TCK(E1) K
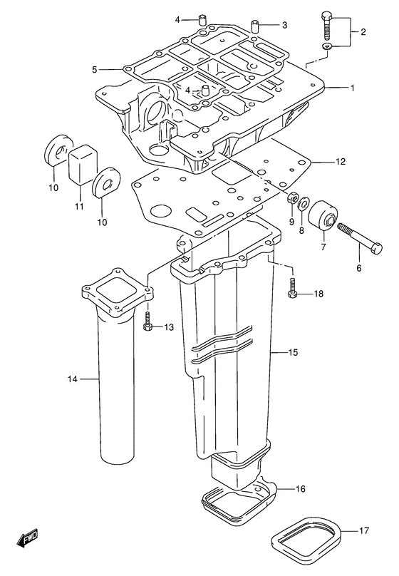
Основание двигателя
Код модели двигателя: DT55S/L/LL
Год выпуска двигателя: 1989
Регион: General Export No.1 ,Код региона: P01
Номер на рисунке | Артикул | Наименование | QTY | Кол-во на складе | Цена |
1 | 51111-94711-0ED | Запчасть снята с производства - The Spare Part Is Laid Off (Holder, engine (gray);) (The Spare Part Is Laid Off) | | под заказ | 0 руб. |
2 | 09117-08047-000 | Болт (8x30) - Bolt (8x30) (Bolt (8x35); ) (Bolt (8x30)) | | 10 шт | 520 руб. |
3 | 09206-11017-000 | Штифт (8.4x11x20) - Pin (84x11x20) (Pin (8.4x11x20) # Pin (8.4x11x20); ) (Pin (8.4x11x20)) | | под заказ | 540 руб. |
4 | 09206-11004-000 | Штифт (8.4x11x14) - Pin (84x11x14) (Pin, gear case no.2 # Pin (8.4x11x14); ) (Pin (8.4x11x14)) | | под заказ | 410 руб. |
5 | 51211-94750-000 | Прокладка основания двигателя - Gasket, Engine Holder (Gasket, engine holder ) (Gasket, Engine Holder) | | под заказ | 0 руб. |
6 | 09100-10208-000 | Болт (10x70) - Bolt (10x70) (Bolt (10x70); ) (Bolt (10x70)) | | под заказ | 1380 руб. |
7 | 54130-95500-000 | Креплениеing, вышеr - Mounting, Upr (Mount, upper ) (Mounting, Upr) | | под заказ | 0 руб. |
8 | 09160-10082-000 | Шайба (10.5x19x2) - Washer (105x19x2) (Washer # Washer (10.5x19x2); ) (Washer (10.5x19x2)) | | 19 шт | 120 руб. |
9 | 09140-10031-000 | Гайка - Nut (Nut) | | 10 шт | 160 руб. |
10 | 54136-95501-000 | Запчасть снята с производства - The Spare Part Is Laid Off (The Spare Part Is Laid Off) | | под заказ | 0 руб. |
11 | 54135-95200-000 | Креплениеing, вышеr Thrust - Mounting, Upr Thrust (Mount, upper thrust ) (Mounting, Upr Thrust) | | под заказ | 0 руб. |
12 | 52113-94731-000 | Прокладка корпуса вала передачи - Gasket, Drive Shaft Housing (Gasket, drive sft hsg ) (Gasket, Drive Shaft Housing) | | под заказ | 0 руб. |
13 | 09100-06122-000 | Болт (6x20) - Bolt (6x20) (Bolt (6x20); ) (Bolt (6x20)) | | под заказ | 0 руб. |
14 | 14211-94711-000 | Выхлопная труба (s) - Tube, Exhaust (s) (Tube, exhaust (s); ) (Tube, Exhaust (s)) | | под заказ | 0 руб. |
14 | 14211-94701-000 | Выхлопная труба (l & Ll & Ul) - Tube, Exhaust (l & Ll & Ul) (Tube, exhaust (l/ll) # Tube, exhaust (l/ll); ) (Tube, Exhaust (l & Ll & Ul)) | | под заказ | 0 руб. |
15 | 52311-94721-000 | Корпус, Выхлоп Трубка (s) - Housing, Exhaust Tube (s) (Housing, exhaust tube (s) # Housing, exhaust tube (s); ) (Housing, Exhaust Tube (s)) | | под заказ | 0 руб. |
15 | 52311-94701-000 | Запчасть снята с производства - The Spare Part Is Laid Off (Housing, exhaust tube (l/ll);) (The Spare Part Is Laid Off) | | под заказ | 0 руб. |
16 | 52332-94701-000 | Запчасть снята с производства - The Spare Part Is Laid Off (Seal, exhaust tube hsg (s);) (The Spare Part Is Laid Off) | | под заказ | 0 руб. |
17 | 52332-94711-000 | Сальник выхлопной трубки Корпус - Seal, Exhaust Tube Housing (Seal, exhaust tube (l/ll) # Seal, exhaust tube hsg (l/ll); ) (Seal, Exhaust Tube Housing) | | под заказ | 1140 руб. |
17 | 52332-94712-000 | (актуальный код замены) Сальник выхлопной трубки Корпус - Seal, Exhaust Tube Housing | | под заказ | 1140 руб. |
18 | 09100-06122-000 | Болт (6x20) - Bolt (6x20) (Bolt (6x15); ) (Bolt (6x20)) | | под заказ | 0 руб. |
Время выполнения запроса 2.2118990421295 сек. |
|