Купить оригинальные запчасти Suzuki модель 1990 года - Trim cylinder
вконтакте

Контактный телефон: +7 (981) 121-46-93, +7 (800) 200-90-76 , Email: parts-katalog@yandex.ru, где купить

 
 

  Логин:

Пароль:

Регистрация

www.partskatalog.ru Все каталоги Запчасти Mercury Запчасти Suzuki Запчасти Tohatsu Запчасти Honda Контакты



УВАЖАЕМЫЕ КЛИЕНТЫ!
C 19 ДЕКАБРЯ 2025 ПО 02 МАРТА 2026 ГОДА ОТДЕЛ ЗАПЧАСТЕЙ И СЕРВИС РАБОТАТЬ НЕ БУДУТ
ПРОДАЖА ЛОДОЧНЫХ МОТОРОВ В ШТАТНОМ РЕЖИМЕ
ОБ ИЗМЕНЕНИЯХ В ГРАФИКЕ РАБОТЫ ЧИТАЙТЕ НА САЙТА



назад Раздел:   вперёд

Вернуться к выбору узлов мотора


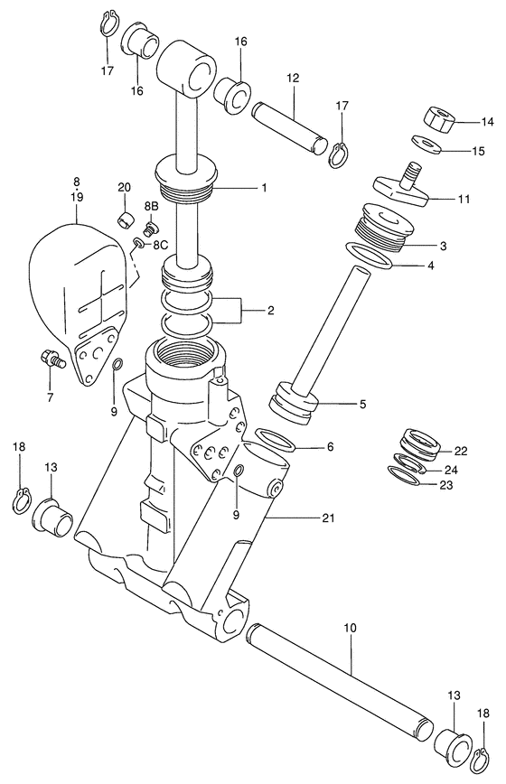
ДЕТАЛИРОВКА ДЛЯ МОДЕЛИ: SUZUKI DT55HTCLL(E1) L

Цилиндр трима


Год выпуска двигателя: 1990

Номер на
рисунке
АртикулНаименованиеQTYКол-во
на складе
Цена
148401-95E00-000

Поршень & Поршень Тяга Sub в сборе - Piston & Piston Rod Sub Assy (Piston assy ) (Piston & Piston Rod Sub Assy)

под заказ32640 руб.
248627-95E00-000

Набор уплотнительных колец - O Ring Set (O Ring Set)

19 шт930 руб.
348630-95E00-000

Головка цилиндра подъемника - Head, Trim Cylinder (Head, trim cylinder ) (Head, Trim Cylinder)

под заказ0 руб.
448633-95E00-000

Набор уплотнительных колец головки - O Ring Set, Head (O ring set, head # O ring set, head; ) (O Ring Set, Head)

под заказ0 руб.
548601-95E00-000

Поршень & Ram в сборе - Piston & Ram Assy (Piston & ram assy ) (Piston & Ram Assy)

под заказ21700 руб.
648627-95E00-000

Набор уплотнительных колец - O Ring Set (O Ring Set)

19 шт930 руб.
748861-95E00-000

Запчасть снята с производства - The Spare Part Is Laid Off (The Spare Part Is Laid Off)

под заказ0 руб.
848571-95E00-000

Резервуар в сборе - Reservoir Assy (Reservoir Assy)

под заказ16130 руб.
848570-95E01-000

   (актуальный код замены) Резервуар в сборе - Reservoir Assy

2 шт17580 руб.
848570-95E01-000

Резервуар в сборе - Reservoir Assy (Reservoir Assy)

2 шт17580 руб.
809248-10008-000

Заглушка (10x7.5) - Plug (10x75) (Plug; For 48571-95e00 ) (Plug (10x7.5))

120 шт500 руб.
809280-08014-000

Уплотнительное кольцо (d: 1.5, Id: 8.5) - O Ring (d:15, Id:85) (O ring (d:1.5 id:8.5) # For 48571-95e00 ) (O Ring (d:1.5, Id:8.5))

10 шт200 руб.
948588-95E00-000

Набор уплотнительных колец - O Ring Set (O Ring Set)

под заказ670 руб.
1048121-95E00-000

Вал наклона Цилиндр Lwr - Shaft, Tilt Cylinder Lwr (Shaft, tilt cylinder lower ) (Shaft, Tilt Cylinder Lwr)

под заказ0 руб.
1148311-94501-000

Накладка цилиндра подъемника - Pad, Trim Cylinder Ram (Pad, trim cylinder ram # Pad, trim cylinder ram; ) (Pad, Trim Cylinder Ram)

под заказ6200 руб.
1248321-87D02-000

Вал наклона Цилиндр вышеr - Shaft, Tilt Cylinder Upr (Shaft, tilt cylinder upper;) (Shaft, Tilt Cylinder Upr)

под заказ2310 руб.
1248321-87D03-000

   (актуальный код замены) Вал наклона Цилиндр вышеr - Shaft, Tilt Cylinder Upr

1 шт2840 руб.
1248321-87D03-000

Вал наклона Цилиндр вышеr - Shaft, Tilt Cylinder Upr (Shaft, Tilt Cylinder Upr)

1 шт2840 руб.
1348326-95E00-000

Втулка, Цилиндр наклона Lwr - Bush, Tilt Cylinder Lwr (Bush, tilt cylinder # Bush, tilt cylinder; ) (Bush, Tilt Cylinder Lwr)

13 шт520 руб.
1409140-08016-000

Гайка - Nut (Nut)

под заказ190 руб.
1409140-08023-XC0

Гайка - Nut (Nut)

14 шт190 руб.
1509162-08007-000

Шайба с блокировкой - Washer, Lock (Lock washer # Washer; ) (Washer, Lock)

под заказ160 руб.
1609306-17001-000

Втулка - Bush (Bush)

8 шт290 руб.
1709380-17009-000

Стопорное кольцо - Circlip (Circlip)

8 шт220 руб.
1809380-22015-000

Стопорное кольцо - Circlip (Circlip)

под заказ290 руб.
1948570-95E00-000

Резервуар в сборе - Reservoir Assy (Reservoir assy; Model:97~99) (Reservoir Assy)

под заказ16130 руб.
1948570-95E01-000

   (актуальный код замены) Резервуар в сборе - Reservoir Assy

2 шт17580 руб.
1948570-95E01-000

Резервуар в сборе - Reservoir Assy (Reservoir Assy)

2 шт17580 руб.
2048572-95E00-000

Колпачок - Cap (Model:97~99 ) (Cap)

5 шт2090 руб.
2148641-95E00-000

Цилиндр, Ptt - Cylinder, Ptt (Cylinder, Ptt)

под заказ33360 руб.
2248650-94900-000

Освободитель поршня - Piston, Free (Piston, Free)

4 шт7780 руб.
2348405-87D00-000

Набор уплотнительных колец - O Ring Set (O ring # O ring set; ) (O Ring Set)

11 шт780 руб.
2448615-97E00-000

Поршневые кольца - Ring Set, Piston (Ring set, piston ) (Ring Set, Piston)

7 шт1170 руб.


Время выполнения запроса 1.1298739910126 сек.

 
 

данный сайт носит информационный характер и не является публичной офертой

склад запчастей для водомоторной техники