| |
 |
|
 |
Вернуться к выбору узлов мотора
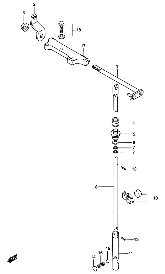
ДЕТАЛИРОВКА ДЛЯ МОДЕЛИ: SUZUKI DT55TC L
Сцепление
Код модели двигателя: DT55S/L/LL
Год выпуска двигателя: 1990
Номер на рисунке | Артикул | Наименование | QTY | Кол-во на складе | Цена |
| 1 | 21210-94703-000 | Сцепление Вал - Shaft, Clutch (<-1210-94702 ) (Shaft, Clutch) | | под заказ | 0 руб. |
| 2 | 21213-94700-000 | Крышка вала сцепления Side - Arm, Clutch Shaft Side (Arm, clutch shaft side ) (Arm, Clutch Shaft Side) | | под заказ | 0 руб. |
| 3 | 08319-31087-000 | Гайка - Nut (Nut) | | под заказ | 180 руб. |
| 4 | 25223-94400-000 | Пыльник переключающеё тяги - Seal, Shift Rod Dust (DT55:461958~ DT65:462112~ ) (Seal, Shift Rod Dust) | | под заказ | 550 руб. |
| 4 | 25223-96J00-000 | (актуальный код замены) Сальник тяги сцепления - Seal, Clutch Rod | | 83 шт | 630 руб. |
| 4 | 25223-95200-000 | Пыльник, Переключающая тяга - Dust Seal, Shift Rod (Dust seal, shift rod ) (Dust Seal, Shift Rod) | | под заказ | 0 руб. |
| 5 | 25211-94401-000 | Направляющая переключающей тяги - Guide, Shift Rod (DT55:461958~ DT65:462112~ ) (Guide, Shift Rod) | | 1 шт | 2480 руб. |
| 5 | 25211-95203-000 | (->5211-94401 USED WITH 25223-94400) | | под заказ | нет сведений |
| 5 | 25211-94401-000 | Направляющая переключающей тяги - Guide, Shift Rod (Guide, Shift Rod) | | 1 шт | 2480 руб. |
| 5 | 25223-94400-000 | Пыльник переключающеё тяги - Seal, Shift Rod Dust (Seal, Shift Rod Dust) | | под заказ | 550 руб. |
| 5 | 25223-96J00-000 | (актуальный код замены) Сальник тяги сцепления - Seal, Clutch Rod | | 83 шт | 630 руб. |
| 6 | 09280-11005-000 | Уплотнительное кольцо (d: 2.4, Id: 11) - O Ring (d:24, Id:11) (O ring (d:2.4, id:10.8) ) (O Ring (d:2.4, Id:11)) | | 20 шт | 480 руб. |
| 7 | 09280-08005-000 | Уплотнительное кольцо (d: 1.7, Id: 7.7) - O Ring (d:17, Id:77) (O ring (d:1.8, id:7.6) ) (O Ring (d:1.7, Id:7.7)) | | 45 шт | 160 руб. |
| 8 | 25111-95204-000 | Тяга сцепления (l) - Rod, Clutch (l) (Rod, clutch (l type) # L:708 ) (Rod, Clutch (l)) | | под заказ | 0 руб. |
| 8 | 25111-95220-000 | Тяга сцепления (ll) - Rod, Clutch (ll) (L:784 ) (Rod, Clutch (ll)) | | под заказ | 0 руб. |
| 8 | 25111-95704-000 | Тяга сцепления - Rod, Clutch (Rod, clutch (s type) # L:593 ) (Rod, Clutch) | | под заказ | 0 руб. |
| 9 | 25230-94300-000 | Магнето Set, Картер коробки передач - Magneto Set, Gear Case (Magnet set, gear case ) (Magneto Set, Gear Case) | | под заказ | 1650 руб. |
| 10 | 25232-94300-000 | Индуктор картера коробки передач - Magneto, Gear Case (Magneto, Gear Case) | | под заказ | 290 руб. |
| 11 | 25311-94700-000 | Кулачок переключателя - Cam, Shift (Cam, Shift) | | под заказ | 0 руб. |
| 11 | 25311-947V0-000 | (актуальный код замены) Запчасть снята с производства - The Spare Part Is Laid Off | | под заказ | 0 руб. |
| 11 | 25311-947V0-000 | Кулачок переключателя - Cam, Shift (Cam, Shift) | | под заказ | 0 руб. |
| 12 | 09205-02004-000 | Стопор пружины (2.5x12) - Pin, Spring (25x12) (Spring pin ) (Pin, Spring (2.5x12)) | | 13 шт | 100 руб. |
| 13 | 09205-03021-000 | Стопор пружины (3.5x12) - Pin, Spring (35x12) (Pin, Spring (3.5x12)) | | под заказ | 120 руб. |
| 14 | 21121-93300-000 | Пластина в паз сцепления - Plate, Clutch Notch (Plate, clutch notch ) (Plate, Clutch Notch) | | 50 шт | 180 руб. |
| 15 | 09260-10005-000 | Шарик - Ball (Steel ball ) (Ball) | | 4 шт | 210 руб. |
| 16 | 09440-07033-000 | Пружина - Spring (Spring) | | под заказ | 160 руб. |
| 17 | 21311-94702-000 | Держатель вала сцепления - Holder, Clutch Shaft (Holder, clutch shaft # <-1311-94701 ) (Holder, Clutch Shaft) | | под заказ | 0 руб. |
| 18 | 09116-06106-000 | Болт (6x20) - Bolt (6x20) (<-9116-06124) (Bolt (6x20)) | | под заказ | 290 руб. |
| 18 | 09116-06204-000 | (актуальный код замены) Болт (6x20) - Bolt (6x20) | | под заказ | 290 руб. |
| 18 | 09116-06204-000 | Болт (6x20) - Bolt (6x20) (Bolt (6x20)) | | под заказ | 290 руб. |
Время выполнения запроса 1.5965270996094 сек. |
|