Оригинальные запчасти на подвесной лодочный двигатель Suzuki DT55S/L/LL модель 1991 года - Power unit
вконтакте

Контактный телефон: +7 (981) 121-46-93, +7 (800) 200-90-76 , Email: parts-katalog@yandex.ru, где купить

 
 

  Логин:

Пароль:

Регистрация

www.partskatalog.ru Все каталоги Запчасти Mercury Запчасти Suzuki Запчасти Tohatsu Запчасти Honda Контакты



УВАЖАЕМЫЕ КЛИЕНТЫ!
C 19 ДЕКАБРЯ 2025 ПО 02 МАРТА 2026 ГОДА ОТДЕЛ ЗАПЧАСТЕЙ И СЕРВИС РАБОТАТЬ НЕ БУДУТ
ПРОДАЖА ЛОДОЧНЫХ МОТОРОВ В ШТАТНОМ РЕЖИМЕ
ОБ ИЗМЕНЕНИЯХ В ГРАФИКЕ РАБОТЫ ЧИТАЙТЕ НА САЙТА



назад Раздел:   вперёд

Вернуться к выбору узлов мотора


ДЕТАЛИРОВКА ДЛЯ МОДЕЛИ: SUZUKI DT55TCM(E1) M

Power unit


Код модели двигателя: DT55S/L/LL

Год выпуска двигателя: 1991

Регион: General Export No.1 ,Код региона: P01

Цвет: California Gray Metallic

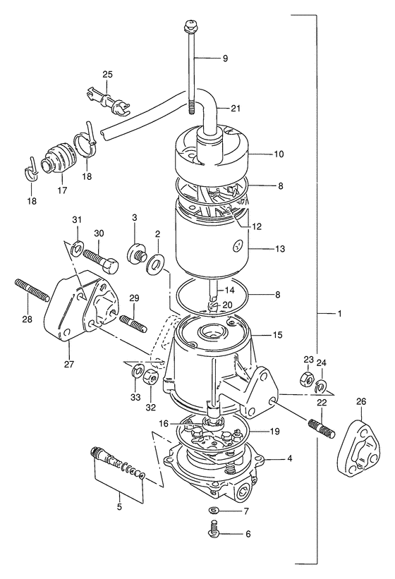
Номер на
рисунке
АртикулНаименованиеQTYКол-во
на складе
Цена
148500-94711-02M

под заказнет сведений
133832-95511-000

Кабели в сборе, Реле двигателя гидроподъёма - Cable Assy, Ptt Relay (Cable, trim ground ) (Cable Assy, Ptt Relay)

под заказ1700 руб.
138410-94552-000

Реле трима, в сборе - Relay Assy, Trim (Relay Assy, Trim)

5 шт17090 руб.
148500-95550-0EP

Power Unit, Power trim (чёрный) - Power Unit, Power Trim (black) (Power Unit, Power Trim (black))

под заказ0 руб.
148500-94711-0ED

под заказнет сведений
133832-95511-000

Кабели в сборе, Реле двигателя гидроподъёма - Cable Assy, Ptt Relay (Cable, trim ground ) (Cable Assy, Ptt Relay)

под заказ1700 руб.
138410-94552-000

Реле трима, в сборе - Relay Assy, Trim (Relay Assy, Trim)

5 шт17090 руб.
148500-95550-0EP

Power Unit, Power trim (чёрный) - Power Unit, Power Trim (black) (Power Unit, Power Trim (black))

под заказ0 руб.
148500-94783-02M

(Opt port side)

под заказнет сведений
133832-95511-000

Кабели в сборе, Реле двигателя гидроподъёма - Cable Assy, Ptt Relay (Cable, trim ground ) (Cable Assy, Ptt Relay)

под заказ1700 руб.
138410-94552-000

Реле трима, в сборе - Relay Assy, Trim (Relay Assy, Trim)

5 шт17090 руб.
148500-95680-0ED

Power Unit в сборе, левая сторона (gray - Power Unit Assy, Port Side (gray (Power unit assy, power trim ) (Power Unit Assy, Port Side (gray)

под заказ0 руб.
148500-94783-0ED

(Opt:port side)

под заказнет сведений
133832-95511-000

Кабели в сборе, Реле двигателя гидроподъёма - Cable Assy, Ptt Relay (Cable, trim ground ) (Cable Assy, Ptt Relay)

под заказ1700 руб.
138410-94552-000

Реле трима, в сборе - Relay Assy, Trim (Relay Assy, Trim)

5 шт17090 руб.
148500-95680-0ED

Power Unit в сборе, левая сторона (gray - Power Unit Assy, Port Side (gray (Power unit assy, power trim ) (Power Unit Assy, Port Side (gray)

под заказ0 руб.
209168-10022-000

Прокладка (10x17x1.5) - Gasket (10x17x15) (Gasket (10x17x1.5); ) (Gasket (10x17x1.5))

2205 шт150 руб.
309248-10008-000

Заглушка (10x7.5) - Plug (10x75) (Plug; ) (Plug (10x7.5))

120 шт500 руб.
448502-95210-000

Помпа & Клапан Корпус в сборе - Pump & Valve Body Assy (Pump & Valve Body Assy)

под заказ0 руб.
448502-94530-000

   (актуальный код замены) Запчасть снята с производства - The Spare Part Is Laid Off

под заказ0 руб.
448502-94530-000

Помпа & Клапан Корпус в сборе - Pump & Valve Body Assy (Valve body ) (Pump & Valve Body Assy)

под заказ0 руб.
548550-94600-000

Ручной клапан - Valve, Manual (Valve, manual ) (Valve, Manual)

под заказ0 руб.
648593-94500-000

Винт (5x20) - Screw (5x20) (Screw (5x20))

под заказ150 руб.
609136-05041-000

   (актуальный код замены) Винт (5x20) - Screw (5x20)

4 шт150 руб.
609136-05041-000

Винт (5x20) - Screw (5x20) (Screw, rod adjuster ) (Screw (5x20))

4 шт150 руб.
709160-05032-000

Шайба (5.5x12x0.8) - Washer (55x12x08) (Washer (5.5x10x0.8);) (Washer (5.5x12x0.8))

под заказ130 руб.
709160-05029-000

   (актуальный код замены) Шайба (5.5x12x0.8) - Washer (5.5x12x0.8)

14 шт130 руб.
709160-05029-000

Шайба (5.5x12x0.8) - Washer (55x12x08) (Washer (5.5x12x0.8))

14 шт130 руб.
809280-70005-000

Уплотнительное кольцо (d: 3.1, Id: 69.4) - O Ring (d:31, Id:694) (Band (d:3.1 id:69.4) # O ring (d:3.1, id:69.4); ) (O Ring (d:3.1, Id:69.4))

под заказ520 руб.
931281-94520-000

Сквозной болт - Bolt, Through (Bolt, Through)

под заказ1440 руб.
931281-94510-000

   (актуальный код замены) Сквозной болт - Bolt, Through

под заказ1440 руб.
931281-94510-000

Сквозной болт - Bolt, Through (Bolt, housing ) (Bolt, Through)

под заказ1440 руб.
1031170-94520-0ED

Запчасть снята с производства - The Spare Part Is Laid Off (The Spare Part Is Laid Off)

под заказ0 руб.
1231133-94521-000

Запчасть снята с производства - The Spare Part Is Laid Off (The Spare Part Is Laid Off)

под заказ0 руб.
1331110-94520-0ED

Запчасть снята с производства - The Spare Part Is Laid Off (The Spare Part Is Laid Off)

под заказ0 руб.
1431311-94600-000

Запчасть снята с производства - The Spare Part Is Laid Off (The Spare Part Is Laid Off)

под заказ0 руб.
1548570-94600-0ED

Запчасть снята с производства - The Spare Part Is Laid Off (Reservotr assy;) (The Spare Part Is Laid Off)

под заказ0 руб.
1609282-08003-000

Запчасть снята с производства - The Spare Part Is Laid Off (Seal, oil;) (The Spare Part Is Laid Off)

под заказ0 руб.
1733899-95500-000

Запчасть снята с производства - The Spare Part Is Laid Off (The Spare Part Is Laid Off)

под заказ0 руб.
1809407-25402-000

Струбцина (l: 250) - Clamp (l:250) (Clamp, tilt sw # Clamp; ) (Clamp (l:250))

под заказ350 руб.
1948585-94520-000

Уплотнительное кольцо - O Ring (O ring, valve body ) (O Ring)

под заказ0 руб.
2048583-94520-000

Соединение привода - Joint, Drive (Joint, drive # Drive joint; ) (Joint, Drive)

под заказ0 руб.
2133861-95600-000

Запчасть снята с производства - The Spare Part Is Laid Off (L:1000) (The Spare Part Is Laid Off)

под заказ0 руб.
2209108-08137-000

Болт под шпильку - Bolt, Stud (Bolt, stud # Stud bolt; ) (Bolt, Stud)

под заказ480 руб.
2309140-08016-000

Гайка - Nut (Nut)

под заказ190 руб.
2309140-08023-XC0

Гайка - Nut (Nut)

14 шт190 руб.
2409162-08007-000

Шайба с блокировкой - Washer, Lock (Lock washer ) (Washer, Lock)

под заказ160 руб.
2533835-95500-000

Запчасть снята с производства - The Spare Part Is Laid Off (Clamp, ptt motor cable;) (The Spare Part Is Laid Off)

под заказ0 руб.
2648131-95200-000

Запчасть снята с производства - The Spare Part Is Laid Off (Spacer, power unit;) (The Spare Part Is Laid Off)

под заказ0 руб.
2748131-95281-0ED

Проставка, Power Unit (gray) - Spacer, Power Unit (gray) (Spacer, power unit # Opt:port side, ) (Spacer, Power Unit (gray))

под заказ0 руб.
2809108-08063-000

Болт под шпильку - Bolt, Stud (Opt:port side ) (Bolt, Stud)

под заказ0 руб.
2909108-08130-000

Болт под шпильку - Bolt, Stud (Stud bolt; Opt:port side ) (Bolt, Stud)

7 шт710 руб.
3009117-08056-000

Болт (8x40) - Bolt (8x40) (Opt:port side) (Bolt (8x40))

под заказ2010 руб.
3009117-08056-XC0

   (актуальный код замены) Болт (8x40) - Bolt (8x40)

под заказ2010 руб.
3009117-08056-XC0

Болт (8x40) - Bolt (8x40) (Bolt (8x40))

под заказ2010 руб.
3209140-08016-000

Гайка - Nut (Opt:port side) (Nut)

под заказ190 руб.
3209140-08023-XC0

Гайка - Nut (Nut)

14 шт190 руб.
3309162-08007-000

Шайба с блокировкой - Washer, Lock (Lock washer # Opt:port side ) (Washer, Lock)

под заказ160 руб.


Время выполнения запроса 1.8179609775543 сек.

 
 

данный сайт носит информационный характер и не является публичной офертой

склад запчастей для водомоторной техники