Купить комплектующие на мотор Suzuki DT55S/L/LL - Driveshaft housing
вконтакте

Контактный телефон: +7 (981) 121-46-93, +7 (800) 200-90-76 , Email: parts-katalog@yandex.ru, где купить

 
 

  Логин:

Пароль:

Регистрация

www.partskatalog.ru Все каталоги Запчасти Mercury Запчасти Suzuki Запчасти Tohatsu Запчасти Honda Контакты



УВАЖАЕМЫЕ КЛИЕНТЫ!
C 19 ДЕКАБРЯ 2025 ПО 02 МАРТА 2026 ГОДА ОТДЕЛ ЗАПЧАСТЕЙ И СЕРВИС РАБОТАТЬ НЕ БУДУТ
ПРОДАЖА ЛОДОЧНЫХ МОТОРОВ В ШТАТНОМ РЕЖИМЕ
ОБ ИЗМЕНЕНИЯХ В ГРАФИКЕ РАБОТЫ ЧИТАЙТЕ НА САЙТА



назад Раздел:   вперёд

Вернуться к выбору узлов мотора


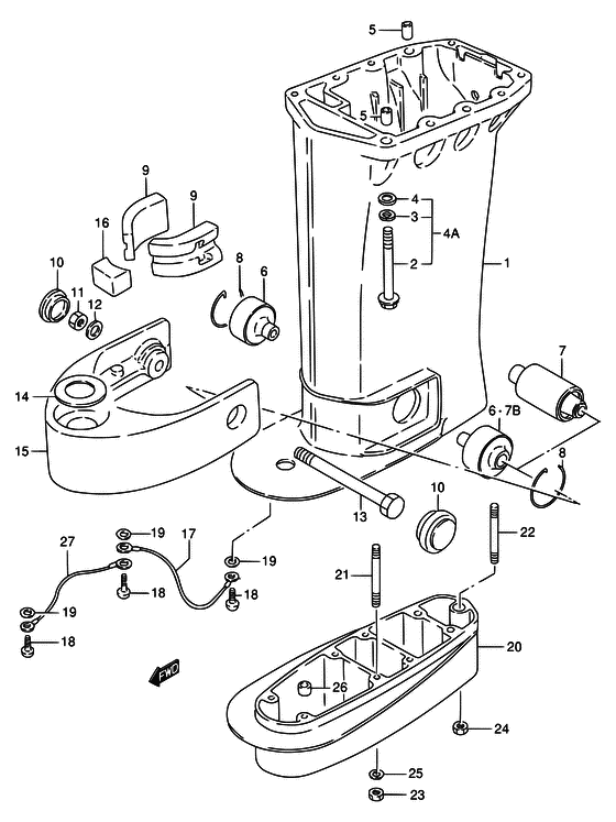
ДЕТАЛИРОВКА ДЛЯ МОДЕЛИ: SUZUKI DT55TC M

Корпус вала передачи


Код модели двигателя: DT55S/L/LL

Год выпуска двигателя: 1991

Цвет: California Gray Metallic

Номер на
рисунке
АртикулНаименованиеQTYКол-во
на складе
Цена
152111-94732-0ED

Корпус вала передачи (s) - Housing, Drive Shaft (s) (Housing, driveshaft (s) # <-2111-94731-0ED ) (Housing, Drive Shaft (s))

под заказ0 руб.
152111-94741-0ED

Корпус вала передачи (l) (gray) - Housing, Drive Shaft (l) (gray) (Housing, driveshaft (l) ) (Housing, Drive Shaft (l) (gray))

под заказ0 руб.
152111-94751-0ED

Корпус вала передачи (ll) - Housing, Drive Shaft (ll) (Housing, driveshaft (ll) ) (Housing, Drive Shaft (ll))

под заказ0 руб.
209100-08213-000

Болт (8x100) - Bolt (8x100) (Bolt (8x100) ) (Bolt (8x100))

под заказ0 руб.
309162-08007-000

Шайба с блокировкой - Washer, Lock (Lock washer ) (Washer, Lock)

под заказ160 руб.
409160-08082-000

Шайба (8.5x16x1.2) - Washer (85x16x12) (<-9160-08015 ) (Washer (8.5x16x1.2))

13 шт120 руб.
409118-08102-000

Болт (8x100) - Bolt (8x100) (MODEL:97~99) (Bolt (8x100))

под заказ0 руб.
409118-08102-XC0

   (актуальный код замены) Запчасть снята с производства - The Spare Part Is Laid Off

под заказ0 руб.
409118-08102-XC0

Болт (8x100) - Bolt (8x100) (Bolt (8x100))

под заказ0 руб.
509206-11004-000

Штифт (8.4x11x14) - Pin (84x11x14) (Pin, gear case no.2 # <-9205-11001 ) (Pin (8.4x11x14))

под заказ410 руб.
654160-95200-000

Запчасть снята с производства - The Spare Part Is Laid Off (The Spare Part Is Laid Off)

под заказ0 руб.
754100-95810-000

Запчасть снята с производства - The Spare Part Is Laid Off (~MODEL:96, <-4160-95501) (The Spare Part Is Laid Off)

под заказ0 руб.
754160-95600-000

Запчасть снята с производства - The Spare Part Is Laid Off (MODEL:97~99) (The Spare Part Is Laid Off)

под заказ0 руб.
809387-46001-000

Запчасть снята с производства - The Spare Part Is Laid Off (The Spare Part Is Laid Off)

под заказ0 руб.
954167-95500-000

Креплениеing, Lwr Side - Mounting, Lwr Side (Mount, lower, side ) (Mounting, Lwr Side)

под заказ0 руб.
1054311-95210-0ED

Колпачок - Cap (Cap)

под заказ0 руб.
1109140-12029-000

Гайка - Nut (Nut)

под заказ310 руб.
1209160-12066-000

Шайба (12.5x22x2.5) - Washer (125x22x25) (Washer (12.5x22x2.5) ) (Washer (12.5x22x2.5))

19 шт150 руб.
1309116-12008-000

Болт (12x145) - Bolt (12x145) (Bolt (12x145) ) (Bolt (12x145))

под заказ0 руб.
1409160-25052-000

Запчасть снята с производства - The Spare Part Is Laid Off (<-9160-12033) (The Spare Part Is Laid Off)

под заказ0 руб.
1554210-95210-0ED

Кронштейн нижнего крепления - Bracket, Lwr Mount (Bracket, lower mount ) (Bracket, Lwr Mount)

под заказ0 руб.
1654165-95200-000

Креплениеing, Lwr Thrust - Mounting, Lwr Thrust (Mount, lower thrust ) (Mounting, Lwr Thrust)

под заказ0 руб.
1736894-95201-000

Lead (l: 165) - Lead (l:165) (L:165 <-6894-95200 ) (Lead (l:165))

под заказ1170 руб.
1809125-05050-000

Винт (5x8) - Screw (5x8) (Screw (5x8))

под заказ150 руб.
1909161-05114-000

Шайба (5.2x11x1) - Washer (52x11x1) (Washer (5.2x11.0x1.0) # <-9161-05014 ) (Washer (5.2x11x1))

под заказ290 руб.
2052131-95222-0ED

Удлинитель копуса (ll) - Case, Extension (ll) (TYPE:LL ) (Case, Extension (ll))

под заказ24960 руб.
2109108-08107-000

Болт под шпильку - Bolt, Stud (Stud bolt # TYPE:LL ) (Bolt, Stud)

под заказ0 руб.
2209108-10050-000

Запчасть снята с производства - The Spare Part Is Laid Off (TYPE:LL) (The Spare Part Is Laid Off)

под заказ0 руб.
2309140-08016-000

Гайка - Nut (TYPE:LL) (Nut)

под заказ190 руб.
2309140-08023-XC0

Гайка - Nut (Nut)

14 шт190 руб.
2409140-10031-000

Гайка - Nut (TYPE:LL ) (Nut)

10 шт160 руб.
2509162-08007-000

Шайба с блокировкой - Washer, Lock (Lock washer # TYPE:LL ) (Washer, Lock)

под заказ160 руб.
2609206-11016-000

Штифт (8.4x11x12) - Pin (84x11x12) (TYPE:LL ) (Pin (8.4x11x12))

под заказ0 руб.
2736894-95301-000

Lead (l: 250) - Lead (l:250) (Lead (s) # L:250 <-6894-95300 ) (Lead (l:250))

под заказ0 руб.
2736894-94401-000

Lead (l: 195) - Lead (l:195) (Lead (l, ll) # L:195, <-6894-94400 ) (Lead (l:195))

под заказ1170 руб.


Время выполнения запроса 1.6812710762024 сек.

 
 

данный сайт носит информационный характер и не является публичной офертой

склад запчастей для водомоторной техники