Найти запчасти на подвесной двигатель Suzuki - Поворотный кронштейн / Swivel bracket
вконтакте

Контактный телефон: +7 (981) 121-46-93, +7 (800) 200-90-76 , Email: parts-katalog@yandex.ru, где купить

 
 

  Логин:

Пароль:

Регистрация

www.partskatalog.ru Все каталоги Запчасти Mercury Запчасти Suzuki Запчасти Tohatsu Запчасти Honda Контакты



УВАЖАЕМЫЕ КЛИЕНТЫ!
C 19 ДЕКАБРЯ 2025 ПО 02 МАРТА 2026 ГОДА ОТДЕЛ ЗАПЧАСТЕЙ И СЕРВИС РАБОТАТЬ НЕ БУДУТ
ПРОДАЖА ЛОДОЧНЫХ МОТОРОВ В ШТАТНОМ РЕЖИМЕ
ОБ ИЗМЕНЕНИЯХ В ГРАФИКЕ РАБОТЫ ЧИТАЙТЕ НА САЙТА



назад Раздел:   вперёд

Вернуться к выбору узлов мотора


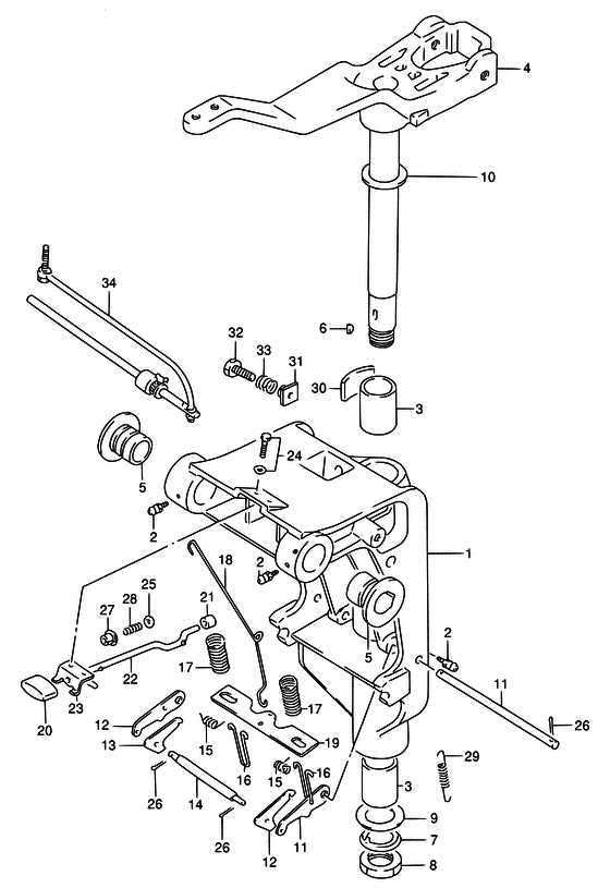
ДЕТАЛИРОВКА ДЛЯ МОДЕЛИ: SUZUKI DT55CRQL M

Поворотный кронштейн


Год выпуска двигателя: 1991

Номер на
рисунке
АртикулНаименованиеQTYКол-во
на складе
Цена
143111-95220-0ED

Запчасть снята с производства - The Spare Part Is Laid Off (DT55HTC <-3111-95261-0ED) (The Spare Part Is Laid Off)

под заказ0 руб.
143111-95252-0ED

Запчасть снята с производства - The Spare Part Is Laid Off (<-3111-95252-02M) (The Spare Part Is Laid Off)

под заказ0 руб.
143111-95752-0ED

Запчасть снята с производства - The Spare Part Is Laid Off (<-3111-95752-02M) (The Spare Part Is Laid Off)

под заказ0 руб.
143111-95760-0ED

Запчасть снята с производства - The Spare Part Is Laid Off (DT55HTC) (The Spare Part Is Laid Off)

под заказ0 руб.
222511-99010-000

Ниппель смазки - Nipple, Grease (<-2511-99003) (Nipple, Grease)

под заказ340 руб.
222511-99011-000

   (актуальный код замены) Ниппель смазки - Nipple, Grease

9 шт400 руб.
222511-99011-000

Ниппель смазки - Nipple, Grease (Nipple, Grease)

9 шт400 руб.
309306-26005-000

Запчасть снята с производства - The Spare Part Is Laid Off (DT55HTC) (The Spare Part Is Laid Off)

под заказ0 руб.
309307-26004-000

   (актуальный код замены) Запчасть снята с производства - The Spare Part Is Laid Off

под заказ0 руб.
309306-26006-000

Запчасть снята с производства - The Spare Part Is Laid Off (DT55HTC) (The Spare Part Is Laid Off)

под заказ0 руб.
309307-26004-000

   (актуальный код замены) Запчасть снята с производства - The Spare Part Is Laid Off

под заказ0 руб.
443750-95254-0ED

Кронштейн рулевого управления (gray) - Bracket, Steering (gray) (Bracket, steering (l/ll) # <-3750-95253-0ED <-3750-95253-02M ) (Bracket, Steering (gray))

под заказ0 руб.
443750-95754-0ED

Кронштейн рулевого управления (gray) - Bracket, Steering (gray) (Bracket, steering (s) # <-3750-95753-0ED <-3750-95752-02M ) (Bracket, Steering (gray))

под заказ0 руб.
543211-95250-000

Втулка струбцины поворотного вала - Bush, Clamp Shaft Swivel (Bush, swivel ) (Bush, Clamp Shaft Swivel)

под заказ0 руб.
609420-05003-000

Ключ - Key (Key)

под заказ600 руб.
709166-25007-000

Запчасть снята с производства - The Spare Part Is Laid Off (The Spare Part Is Laid Off)

под заказ0 руб.
809140-24010-000

Гайка - Nut (Nut)

под заказ0 руб.
909181-26006-000

Запчасть снята с производства - The Spare Part Is Laid Off (The Spare Part Is Laid Off)

под заказ0 руб.
1009160-25052-000

Запчасть снята с производства - The Spare Part Is Laid Off (The Spare Part Is Laid Off)

под заказ0 руб.
1145245-95202-000

Вал блокировки задней передачи Рычаг - Shaft, Reverse Lock Arm (Shaft, reverse lock arm # N/PTT, <-5245-95201 ) (Shaft, Reverse Lock Arm)

под заказ0 руб.
1245241-95202-000

Запчасть снята с производства - The Spare Part Is Laid Off (N/PTT) (The Spare Part Is Laid Off)

под заказ0 руб.
1345231-95201-000

Запчасть снята с производства - The Spare Part Is Laid Off (N/PTT) (The Spare Part Is Laid Off)

под заказ0 руб.
1445243-95201-000

Штифт - Pin (N/PTT ) (Pin)

под заказ0 руб.
1509448-12018-000

Пружина - Spring (N/PTT, <-9444-12001 ) (Spring)

под заказ0 руб.
1645244-95200-000

Запчасть снята с производства - The Spare Part Is Laid Off (N/PTT) (The Spare Part Is Laid Off)

под заказ0 руб.
1709440-21005-000

Запчасть снята с производства - The Spare Part Is Laid Off (N/PTT) (The Spare Part Is Laid Off)

под заказ0 руб.
1845252-96303-000

Тяга рычага блокировки - Link, Release Lever (Link, release lever # N/PTT, <-5252-96302 ) (Link, Release Lever)

4 шт650 руб.
1945242-95251-000

Пластина блокировки реверса Рычаг - Plate, Reverse Lock Arm (Plate, reverse lock arm # N/PTT ) (Plate, Reverse Lock Arm)

под заказ0 руб.
2045255-96302-000

Ручка освобождающего рычага - Knob, Release Lever (Knob, release lever # N/PTT, <-5255-96301 ) (Knob, Release Lever)

под заказ610 руб.
2145257-93900-000

Втулка рычага блокировки - Bush, Release Lever (Bush, release lever # N/PTT ) (Bush, Release Lever)

под заказ0 руб.
2245260-95250-000

Запчасть снята с производства - The Spare Part Is Laid Off (N/PTT) (The Spare Part Is Laid Off)

под заказ0 руб.
2345311-93900-0ED

Кронштейн, Release Рычаг - Bracket, Release Lever (Bracket, release lever # N/PTT <-5311-93900-02M ) (Bracket, Release Lever)

под заказ0 руб.
2409116-05010-000

Болт (5x12) - Bolt (5x12) (Bolt, trim sender cam (5x12) # N/PTT ) (Bolt (5x12))

7 шт220 руб.
2509160-04012-000

Шайба (4.2x10x1) - Washer (42x10x1) (Washer (4.2x10x1) # N/PTT ) (Washer (4.2x10x1))

под заказ120 руб.
2609204-01002-000

Штифт - Pin (Cotter pin # N/PTT ) (Pin)

24 шт140 руб.
2709319-04001-000

Втулка - Bush (N/PTT ) (Bush)

под заказ160 руб.
2809440-04021-000

Пружина - Spring (N/PTT ) (Spring)

под заказ120 руб.
2909443-05013-000

Пружина - Spring (N/PTT ) (Spring)

10 шт350 руб.
3043411-94300-000

Регулировка рулевой системы - Adjuster, Steering (Adjuster, steering # DT55HTC ) (Adjuster, Steering)

под заказ0 руб.
3143421-96302-000

Втулка, Регулятор Болт - Bush, Adjuster Bolt (DT55HTC <-3421-96301 ) (Bush, Adjuster Bolt)

1 шт970 руб.
3209119-08044-000

Болт - Bolt (Bolt (8x23) # DT55HTC ) (Bolt)

под заказ0 руб.
3309440-13045-000

Запчасть снята с производства - The Spare Part Is Laid Off (DT55HTC) (The Spare Part Is Laid Off)

под заказ0 руб.
3443770-95201-000

Регулятор в сборе, Рулевая система - Adjuster Assy, Steering (Adjustor, steering # OPT ) (Adjuster Assy, Steering)

под заказ0 руб.


Время выполнения запроса 10.17547416687 сек.

 
 

данный сайт носит информационный характер и не является публичной офертой

склад запчастей для водомоторной техники