вконтакте

Контактный телефон: +7 (981) 121-46-93, +7 (800) 200-90-76 , Email: parts-katalog@yandex.ru, где купить

 
 

  Логин:

Пароль:

Регистрация

www.partskatalog.ru Все каталоги Запчасти Mercury Запчасти Suzuki Запчасти Tohatsu Запчасти Honda Контакты



УВАЖАЕМЫЕ КЛИЕНТЫ!
C 19 ДЕКАБРЯ 2025 ПО 02 МАРТА 2026 ГОДА ОТДЕЛ ЗАПЧАСТЕЙ И СЕРВИС РАБОТАТЬ НЕ БУДУТ
ПРОДАЖА ЛОДОЧНЫХ МОТОРОВ В ШТАТНОМ РЕЖИМЕ
ОБ ИЗМЕНЕНИЯХ В ГРАФИКЕ РАБОТЫ ЧИТАЙТЕ НА САЙТА




запчастиsuzuki

Узнать наличие и цену запчасти:

Вернуться к началу выбора

Поиск модели по серийному номеру


РЕЖИМЫ ПРОСМОТРА

Все узлы и детали

Двигатель

Трансмиссия

Электрика

Внешние части

Тип двигателя: 4x - тактный

Модель двигателя: Suzuki DF40

Модификация Вашего двигателя:   Suzuki DF-40AT (E03)
Двигатели с серийным номером после 04003F-310001
Код модели двигателя: DF40AQHS/L; DF40ATS/L
Год выпуска двигателя: 2013
Регион: USA ,Код региона: P03
Цвет: Shadow Black Metallic


Поиск запчастей по коду или названию


   Выберите раздел

найти расходники на лодочные моторы Suzuki

Начните вводить запрос

Cylinder head (Головка блока цилиндра)

Cylinder head (Головка блока цилиндра)
(DF40A E03)

Cylinder head (Головка блока цилиндра)

Cylinder head (Головка блока цилиндра)
(DF50A E03)

Cylinder head (Головка блока цилиндра)

Cylinder head (Головка блока цилиндра)
(DF60A E03)

Cylinder block (Блок цилиндра)

Cylinder block (Блок цилиндра)

Ring gear cover (Крышка механизма маховика)

Ring gear cover (Крышка механизма маховика)

Crankshaft (Коленвал)

Crankshaft (Коленвал)

Timing chain (Распределяющая цепь)

Timing chain (Распределяющая цепь)

Cam shaft/valve (Распредвал / Клапан)

Cam shaft/valve (Распредвал / Клапан)

Intake manifold/silencer/exhaust cover (Впускной коллектор / Глушитель / Кожух выхлопной трубы)

Intake manifold/silencer/exhaust cover (Впускной коллектор / Глушитель / Кожух выхлопной трубы)
(DF40A E03)

Intake manifold/silencer/exhaust cover (Впускной коллектор / Глушитель / Кожух выхлопной трубы)

Intake manifold/silencer/exhaust cover (Впускной коллектор / Глушитель / Кожух выхлопной трубы)
(DF50A E03)

Intake manifold/silencer/exhaust cover (Впускной коллектор / Глушитель / Кожух выхлопной трубы)

Intake manifold/silencer/exhaust cover (Впускной коллектор / Глушитель / Кожух выхлопной трубы)
(DF60A E03)

Fuel vapor separator (Отделитель паров топлива)

Fuel vapor separator (Отделитель паров топлива)

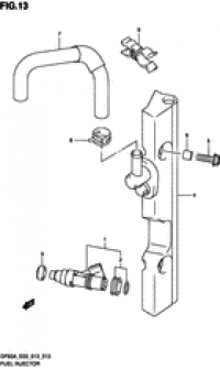
Fuel injector (Топливный инжектор)

Fuel injector (Топливный инжектор)

Fuel pump (Топливный насос)

Fuel pump (Топливный насос)

Water pump (Водяной насос)

Water pump (Водяной насос)

Thermostat (Термостат)

Thermostat (Термостат)

Throttle body (Дроссель газа)

Throttle body (Дроссель газа)

Oil pump (Масляный насос)

Oil pump (Масляный насос)

Oil pan (Масляный поддон)

Oil pan (Масляный поддон)

Clutch shaft (Сцепление Вал)

Clutch shaft (Сцепление Вал)

Clutch rod (Тяга сцепления)

Clutch rod (Тяга сцепления)

Transmission (Трансмиссия)

Transmission (Трансмиссия)

Starting motor (Двигатель электростартера)

Starting motor (Двигатель электростартера)

Magneto (Магнето)

Magneto (Магнето)

Rectifier/ignition coil (Выпрямитель / Катушка зажигания)

Rectifier/ignition coil (Выпрямитель / Катушка зажигания)

Sensor (Датчик)

Sensor (Датчик)
(DF40A E03)

Sensor (Датчик)

Sensor (Датчик)
(DF50A E03)

Sensor (Датчик)

Sensor (Датчик)
(DF60A E03)

Harness (Жгут проводов)

Harness (Жгут проводов)
(DF40A E03)

Harness (Жгут проводов)

Harness (Жгут проводов)
(DF50A E03)

Harness (Жгут проводов)

Harness (Жгут проводов)
(DF60A E03)

Ptt switch/engine control unit (Переключатель гидроподъёма / Блок управления двигателем)

Ptt switch/engine control unit (Переключатель гидроподъёма / Блок управления двигателем)
(DF40A E03)

Ptt switch/engine control unit (Переключатель гидроподъёма / Блок управления двигателем)

Ptt switch/engine control unit (Переключатель гидроподъёма / Блок управления двигателем)
(DF50A E03)

Ptt switch/engine control unit (Переключатель гидроподъёма / Блок управления двигателем)

Ptt switch/engine control unit (Переключатель гидроподъёма / Блок управления двигателем)
(DF60A E03)

Clamp bracket (Кронштейн транца)

Clamp bracket (Кронштейн транца)
(DF40A E03)

Clamp bracket (Кронштейн транца)

Clamp bracket (Кронштейн транца)
(DF50A E03)

Clamp bracket (Кронштейн транца)

Clamp bracket (Кронштейн транца)
(DF60A E03)

Swivel bracket (Поворотный кронштейн)

Swivel bracket (Поворотный кронштейн)
(DF40A E03)

Swivel bracket (Поворотный кронштейн)

Swivel bracket (Поворотный кронштейн)
(DF50A E03)

Swivel bracket (Поворотный кронштейн)

Swivel bracket (Поворотный кронштейн)
(DF60A E03)

Trim cylinder (Цилиндр трима)

Trim cylinder (Цилиндр трима)
(DF40A E03)

Trim cylinder (Цилиндр трима)

Trim cylinder (Цилиндр трима)
(DF50A E03)

Trim cylinder (Цилиндр трима)

Trim cylinder (Цилиндр трима)
(DF60A E03)

Ptt motor (Двигатель гидроподъёма)

Ptt motor (Двигатель гидроподъёма)

Engine holder (Основание двигателя)

Engine holder (Основание двигателя)

Drive shaft housing (Корпус вала передачи)

Drive shaft housing (Корпус вала передачи)

Gear case (Картер коробки передач)

Gear case (Картер коробки передач)

Side cover (Боковая крышка)

Side cover (Боковая крышка)

Engine cover (Крышка двигателя (капот))

Engine cover (Крышка двигателя (капот))
(DF40A E03)

Engine cover (Крышка двигателя (капот))

Engine cover (Крышка двигателя (капот))
(DF50A E03)

Engine cover (Крышка двигателя (капот))

Engine cover (Крышка двигателя (капот))
(DF60A E03)

Fuel hose (Топливный шланг)

Fuel hose (Топливный шланг)

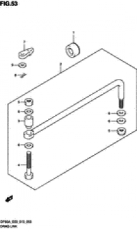
Drag link (Переключающая тяга)

Drag link (Переключающая тяга)

Opt:water pressure gauge sub kit (Опции: Комплект прибора изменения давления воды)

Opt:water pressure gauge sub kit (Опции: Комплект прибора изменения давления воды)

Opt:meter (Опции: приборы)

Opt:meter (Опции: приборы)

Opt:harness (Опции: жгут проводов)

Opt:harness (Опции: жгут проводов)

Opt:switch (Опции: переключатели)

Opt:switch (Опции: переключатели)

Opt:remocon cable (Опции: трос дистанционного управления)

Opt:remocon cable (Опции: трос дистанционного управления)

Opt:remote control assy single (Дистанционное управление в сборе, одинарное)

Opt:remote control assy single (Дистанционное управление в сборе, одинарное)
(1)

Opt:remote control assy single (Дистанционное управление в сборе, одинарное)

Opt:remote control assy single (Дистанционное управление в сборе, одинарное)
(2)

Opt:tiller handle (Опции: Румпель)

Opt:tiller handle (Опции: Румпель)
(DF40A E03)

Opt:tiller handle (Опции: Румпель)

Opt:tiller handle (Опции: Румпель)
(DF50A E03)

Opt:tiller handle (Опции: Румпель)

Opt:tiller handle (Опции: Румпель)
(DF60A E03)

Opt:gasket set (Опции: комплект прокладок)

Opt:gasket set (Опции: комплект прокладок)

Opt:lowrance gauge (Опции: приборы Lowrance)

Opt:lowrance gauge (Опции: приборы Lowrance)




 
 

данный сайт носит информационный характер и не является публичной офертой

склад запчастей для водомоторной техники