вконтакте

Контактный телефон: +7 (981) 121-46-93, +7 (800) 200-90-76 , Email: parts-katalog@yandex.ru, где купить

 
 

  Логин:

Пароль:

Регистрация

www.partskatalog.ru Все каталоги Запчасти Mercury Запчасти Suzuki Запчасти Tohatsu Запчасти Honda Контакты



УВАЖАЕМЫЕ КЛИЕНТЫ!
C 19 ДЕКАБРЯ 2025 ПО 02 МАРТА 2026 ГОДА ОТДЕЛ ЗАПЧАСТЕЙ И СЕРВИС РАБОТАТЬ НЕ БУДУТ
ПРОДАЖА ЛОДОЧНЫХ МОТОРОВ В ШТАТНОМ РЕЖИМЕ
ОБ ИЗМЕНЕНИЯХ В ГРАФИКЕ РАБОТЫ ЧИТАЙТЕ НА САЙТА




запчастиsuzuki

Узнать наличие и цену запчасти:

Вернуться к началу выбора

Поиск модели по серийному номеру


РЕЖИМЫ ПРОСМОТРА

Все узлы и детали

Двигатель

Трансмиссия

Электрика

Внешние части

Тип двигателя: 2x - тактный

Модель двигателя: Suzuki DT30

Модификация Вашего двигателя:   Suzuki DT30C X
Код модели двигателя: DT30C(R)S/L
Год выпуска двигателя: 1999
Цвет: California Gray Metallic


Поиск запчастей по коду или названию


   Выберите раздел

найти расходники на лодочные моторы Suzuki

Начните вводить запрос

Cylinder (Цилиндр)

Cylinder (Цилиндр)
NOTE : COLOR:0ED (GRAY)

Crankshaft (Коленвал)

Crankshaft (Коленвал)

Exhaust tube (Выхлоп Трубка)

Exhaust tube (Выхлоп Трубка)

Inlet case (вход case)

Inlet case (вход case)
NOTE : COLOR : 0ED (GRAY)

Carburetor (Карбюратор)

Carburetor (Карбюратор)
(DT30C/25AC E34); NOTE : REFER TO FIG.6 (B- 9) FOR DT25C

Carburetor (Карбюратор)

Carburetor (Карбюратор)
(DT25C)

Fuel pump (Топливный насос)

Fuel pump (Топливный насос)
NOTE : REFER TO FIG.8 (C-3) FOR MODEL:95~00

Fuel pump (Топливный насос)

Fuel pump (Топливный насос)
(MODEL:95~00)

Oil pump (Масляный насос)

Oil pump (Масляный насос)
(MODEL:95~00)

Oil pump (Масляный насос)

Oil pump (Масляный насос)
NOTE : REFER TO FIG.9A(C-5) FOR MODEL:95~00

Water pump (Водяной насос)

Water pump (Водяной насос)
NOTE : COLOR : 0ED (GRAY)

Recoil starter (Барабанный стартер)

Recoil starter (Барабанный стартер)
NOTE : COLOR : 0ED (GRAY)

Throttle control (Управление дросселем)

Throttle control (Управление дросселем)

Clutch (Сцепление)

Clutch (Сцепление)

Transmission (Трансмиссия)

Transmission (Трансмиссия)
NOTE : COLOR : 0ED (GRAY)

Starting motor (Двигатель электростартера)

Starting motor (Двигатель электростартера)
NOTE : COLOR : 0ED (GRAY)

Magneto (Магнето)

Magneto (Магнето)

Ignition

Ignition

Electrical (Электрика)

Electrical (Электрика)

Harness (Жгут проводов)

Harness (Жгут проводов)

Clamp bracket (Кронштейн транца)

Clamp bracket (Кронштейн транца)
(MODEL:94~00)(*); NOTE : (*) MODEL:94 DT25C:461698~ DT25AC:461051~ DT30C:461459~

Clamp bracket (Кронштейн транца)

Clamp bracket (Кронштейн транца)
(~MODEL:93); NOTE : COLOR : 0ED (GRAY) REFER TO FIG.20A(E-4) FOR MODEL:94~00

Swivel bracket (Поворотный кронштейн)

Swivel bracket (Поворотный кронштейн)
NOTE : COLOR : 02M (SILVER) 0ED (GRAY)

Driveshaft housing (Корпус вала передачи)

Driveshaft housing (Корпус вала передачи)
NOTE : COLOR : 0ED (GRAY)

Gear case (Картер коробки передач)

Gear case (Картер коробки передач)
NOTE : COLOR : 0ED (GRAY) 019 (BLACK)

Under cover (Нижняя часть корпуса)

Under cover (Нижняя часть корпуса)
NOTE : COLOR : 0ED (GRAY)

Engine cover (Крышка двигателя (капот))

Engine cover (Крышка двигателя (капот))
(MODEL:89~93/DT25C

Engine cover (Крышка двигателя (капот))

Engine cover (Крышка двигателя (капот))
(MODEL:88~93/DT30C); NOTE : COLOR : 0ED (GRAY) 26G (BLACK) 70G (764)(019) 019 (BLACK) 764 (GOLD)

Handle

Handle
NOTE : COLOR : 0ED (GRAY) REFER TO FIG.30(F-8) FOR MODEL:93~00

Handle

Handle
(MODEL:93~00); NOTE : COLOR : 0ED (GRAY)

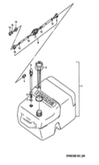
Fuel tank (Топливный бак)

Fuel tank (Топливный бак)
NOTE : REFER TO FIG.32(F-11) FOR E28 REFER TO FIG.33(F-12) FOR PLASTIC

Fuel tank (Топливный бак)

Fuel tank (Топливный бак)
(E28)

Fuel tank (Топливный бак)

Fuel tank (Топливный бак)
(PLASTIC)

Oil tank (Масляный бак)

Oil tank (Масляный бак)

Optional : electrical (Опции : Электрика)

Optional : electrical (Опции : Электрика)
(FOR MANUAL STARTER)(1)

Optional : electrical (Опции : Электрика)

Optional : electrical (Опции : Электрика)
(FOR MANUAL STARTER)(2)

Optional : electrical (Опции : Электрика)

Optional : electrical (Опции : Электрика)
(1)

Optional : electrical (Опции : Электрика)

Optional : electrical (Опции : Электрика)
(2)

Optional : meter (Опции : Прибор)

Optional : meter (Опции : Прибор)

Opt:panel switch (Опции: panel Переключатель)

Opt:panel switch (Опции: panel Переключатель)

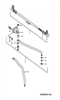
Optional : remote control (Опции : Дистанционное управление)

Optional : remote control (Опции : Дистанционное управление)
NOTE : COLOR : 0ED (GRAY) REFER TO FIG.42(H-4) FOR MODEL:93~00

Optional : remote control (Опции : Дистанционное управление)

Optional : remote control (Опции : Дистанционное управление)
(MODEL:93~00); NOTE : COLOR : 0ED (GRAY)

Opt : tiller handle (Опции : Румпель)

Opt : tiller handle (Опции : Румпель)
(MODEL:93~00)

Optional : tie-rod (Опции : tie-Тяга)

Optional : tie-rod (Опции : tie-Тяга)

Gasket set (Комплект прокладок)

Gasket set (Комплект прокладок)

Optional (Опции)

Optional (Опции)




 
 

данный сайт носит информационный характер и не является публичной офертой

склад запчастей для водомоторной техники