вконтакте

Контактный телефон: +7 (981) 121-46-93, +7 (800) 200-90-76 , Email: parts-katalog@yandex.ru, где купить

 
 

  Логин:

Пароль:

Регистрация

www.partskatalog.ru Все каталоги Запчасти Mercury Запчасти Suzuki Запчасти Tohatsu Запчасти Honda Контакты



УВАЖАЕМЫЕ КЛИЕНТЫ!
C 19 ДЕКАБРЯ 2025 ПО 02 МАРТА 2026 ГОДА ОТДЕЛ ЗАПЧАСТЕЙ И СЕРВИС РАБОТАТЬ НЕ БУДУТ
ПРОДАЖА ЛОДОЧНЫХ МОТОРОВ В ШТАТНОМ РЕЖИМЕ
ОБ ИЗМЕНЕНИЯХ В ГРАФИКЕ РАБОТЫ ЧИТАЙТЕ НА САЙТА




запчастиsuzuki

Узнать наличие и цену запчасти:

Вернуться к началу выбора

Поиск модели по серийному номеру


РЕЖИМЫ ПРОСМОТРА

Все узлы и детали

Двигатель

Трансмиссия

Электрика

Внешние части

Тип двигателя: 2x - тактный

Модель двигателя: Suzuki DT15

Модификация Вашего двигателя:   Suzuki DT15 AS / AL (P40 016)
Двигатели с серийным номером после 01503K-610001
Код модели двигателя: DT15A S / L FROM 01503K-610001~ (P40 016)
Год выпуска двигателя: 2016
Регион: Россия, Европа


Поиск запчастей по коду или названию


   Выберите раздел

найти расходники на лодочные моторы Suzuki

Начните вводить запрос

112F  -  Cylinder  (Dt15A  P40) (112F - Цилиндр (Dt15A P40))

112F - Cylinder (Dt15A P40) (112F - Цилиндр (Dt15A P40))

116A  -  Crankshaft (116A - Коленвал)

116A - Crankshaft (116A - Коленвал)

125F  -  Inlet  Case  (Dt15A P40) (125F - вход Case (Dt15A P40))

125F - Inlet Case (Dt15A P40) (125F - вход Case (Dt15A P40))

128F  -  Carburetor  (Dt15A P40) (128F - Карбюратор (Dt15A P40))

128F - Carburetor (Dt15A P40) (128F - Карбюратор (Dt15A P40))

141F - Exhaust  Tube  (Dt15A P40) (141F - Выхлоп Трубка (Dt15A P40))

141F - Exhaust Tube (Dt15A P40) (141F - Выхлоп Трубка (Dt15A P40))

146F - Fuel  Pump  (Dt15A  P40) (146F - Топливный насос (Dt15A P40))

146F - Fuel Pump (Dt15A P40) (146F - Топливный насос (Dt15A P40))

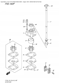
160F  -  Water  Pump  (Dt15A P40) (160F - Водяной насос (Dt15A P40))

160F - Water Pump (Dt15A P40) (160F - Водяной насос (Dt15A P40))

166F  -  Throttle  Control (Dt15A  P40) (166F - Управление дросселем (Dt15A P40))

166F - Throttle Control (Dt15A P40) (166F - Управление дросселем (Dt15A P40))

167A  -  Recoil  Starter (167A - Барабанный стартер)

167A - Recoil Starter (167A - Барабанный стартер)

167A  -  Recoil  Starter (167A - Барабанный стартер)

167A - Recoil Starter (167A - Барабанный стартер)

208F  -  Clutch  Lever (Dt15A P40) (208F - Рычаг сцепления (Dt15A P40))

208F - Clutch Lever (Dt15A P40) (208F - Рычаг сцепления (Dt15A P40))

210F  -  Shift  Rod  (Dt15A P40) (210F - Переключающая тяга (Dt15A P40))

210F - Shift Rod (Dt15A P40) (210F - Переключающая тяга (Dt15A P40))

220F  -  Transmission (Dt15A P40) (220F - Трансмиссия (Dt15A P40))

220F - Transmission (Dt15A P40) (220F - Трансмиссия (Dt15A P40))

301A  -  Starting  Motor (Dt15A  P40) (301A - Двигатель электростартера (Dt15A P40))

301A - Starting Motor (Dt15A P40) (301A - Двигатель электростартера (Dt15A P40))

303F  -  Magneto  (Manual Starter)  (Dt15A P40) (303F - Магнето (ручной Стартер) (Dt15A P40))

303F - Magneto (Manual Starter) (Dt15A P40) (303F - Магнето (ручной Стартер) (Dt15A P40))

303G  -  Magneto  (Electric Starter)  (Dt15A P40) (303G - Магнето (Электростартер) (Dt15A P40))

303G - Magneto (Electric Starter) (Dt15A P40) (303G - Магнето (Электростартер) (Dt15A P40))

307F  -  Ignition  Coil  (Dt15A P40) (307F - Катушка зажигания (Dt15A P40))

307F - Ignition Coil (Dt15A P40) (307F - Катушка зажигания (Dt15A P40))

319F  -  Electrical  (Dt15A P40) (319F - Электрика (Dt15A P40))

319F - Electrical (Dt15A P40) (319F - Электрика (Dt15A P40))

322A  -  Harness  (Electric Starter)  (Dt15A P40) (322A - Жгут проводов (Электростартер) (Dt15A P40))

322A - Harness (Electric Starter) (Dt15A P40) (322A - Жгут проводов (Электростартер) (Dt15A P40))

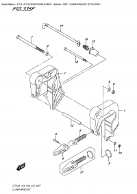
335F  -  Clamp  Bracket  (Dt15A P40) (335F - Кронштейн транца (Dt15A P40))

335F - Clamp Bracket (Dt15A P40) (335F - Кронштейн транца (Dt15A P40))

336F  -  Swivel  Bracket  (Dt15A  P40) (336F - Поворотный кронштейн (Dt15A P40))

336F - Swivel Bracket (Dt15A P40) (336F - Поворотный кронштейн (Dt15A P40))

405F - Drive  Shaft  Housing (Dt15A P40) (405F - Корпус вала передачи (Dt15A P40))

405F - Drive Shaft Housing (Dt15A P40) (405F - Корпус вала передачи (Dt15A P40))

407A -   Gear  Case (407A - Картер коробки передач)

407A - Gear Case (407A - Картер коробки передач)

412F  -  Lower  Cover  (Dt15A P40) (412F - Нижняя часть корпуса (Dt15A P40))

412F - Lower Cover (Dt15A P40) (412F - Нижняя часть корпуса (Dt15A P40))

420F  -  Engine  Cover  (Dt15A P40) (420F - Крышка двигателя (капот) (Dt15A P40))

420F - Engine Cover (Dt15A P40) (420F - Крышка двигателя (капот) (Dt15A P40))

432F - Fuel  Tank  (Resin:25L) (Dt15A  P40) (432F - Топливный бак (Resin: 25L) (Dt15A P40))

432F - Fuel Tank (Resin:25L) (Dt15A P40) (432F - Топливный бак (Resin: 25L) (Dt15A P40))

444F  -  Tiller  Handle  (Dt15A P40) (444F - Румпель (Dt15A P40))

444F - Tiller Handle (Dt15A P40) (444F - Румпель (Dt15A P40))

551A  -  Opt:electrical  (1) (551A - Опции: электрика (1))

551A - Opt:electrical (1) (551A - Опции: электрика (1))

552A  -  Opt:electrical  (2) (552A - Опции: электрика (2))

552A - Opt:electrical (2) (552A - Опции: электрика (2))

560A  -  Opt:starting  Motor (560A - Опции: электростартер)

560A - Opt:starting Motor (560A - Опции: электростартер)




 
 

данный сайт носит информационный характер и не является публичной офертой

склад запчастей для водомоторной техники