вконтакте

Контактный телефон: +7 (981) 121-46-93, +7 (800) 200-90-76 , Email: parts-katalog@yandex.ru, где купить

 
 

  Логин:

Пароль:

Регистрация

www.partskatalog.ru Все каталоги Запчасти Mercury Запчасти Suzuki Запчасти Tohatsu Запчасти Honda Контакты



УВАЖАЕМЫЕ КЛИЕНТЫ!
C 19 ДЕКАБРЯ 2025 ПО 02 МАРТА 2026 ГОДА ОТДЕЛ ЗАПЧАСТЕЙ И СЕРВИС РАБОТАТЬ НЕ БУДУТ
ПРОДАЖА ЛОДОЧНЫХ МОТОРОВ В ШТАТНОМ РЕЖИМЕ
ОБ ИЗМЕНЕНИЯХ В ГРАФИКЕ РАБОТЫ ЧИТАЙТЕ НА САЙТА




запчастиsuzuki

Узнать наличие и цену запчасти:

Вернуться к началу выбора

Поиск модели по серийному номеру


РЕЖИМЫ ПРОСМОТРА

Все узлы и детали

Двигатель

Трансмиссия

Электрика

Внешние части

Тип двигателя: 4x - тактный

Модель двигателя: Suzuki DF9.9

Модификация Вашего двигателя:   Suzuki DF-9.9 BTL (P01 017)
Двигатели с серийным номером после 00995F-710001
Код модели двигателя: DF9.9B TL FROM 00995F-710001~ (P01 017)
Год выпуска двигателя: 2017
Регион: Россия, Европа


Поиск запчастей по коду или названию


   Выберите раздел

найти расходники на лодочные моторы Suzuki

Начните вводить запрос

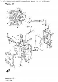
111A  -  Cylinder  Head (111A - Головка блока цилиндра)

111A - Cylinder Head (111A - Головка блока цилиндра)

113A  -  Cylinder  Block (113A - Блок цилиндра)

113A - Cylinder Block (113A - Блок цилиндра)

116A  -  Crankshaft (116A - Коленвал)

116A - Crankshaft (116A - Коленвал)

120A  -  Timing  Belt (120A - Ремень распредвала)

120A - Timing Belt (120A - Ремень распредвала)

121C  -  Camshaft  (Df9.9Bt  P01) (121C - Распределительный вал (Df9.9Bt P01))

121C - Camshaft (Df9.9Bt P01) (121C - Распределительный вал (Df9.9Bt P01))

126C  -  Inlet  Manifold  (Df9.9Bt  P01) (126C - Впускной коллектор (Df9.9Bt P01))

126C - Inlet Manifold (Df9.9Bt P01) (126C - Впускной коллектор (Df9.9Bt P01))

144A  -  Fuel  Injector (144A - Топливный инжектор)

144A - Fuel Injector (144A - Топливный инжектор)

146C -  Fuel  Pump  (Df9.9Bt  P01) (146C - Топливный насос (Df9.9Bt P01))

146C - Fuel Pump (Df9.9Bt P01) (146C - Топливный насос (Df9.9Bt P01))

160C - Water  Pump  (Df9.9Bt  P01) (160C - Водяной насос (Df9.9Bt P01))

160C - Water Pump (Df9.9Bt P01) (160C - Водяной насос (Df9.9Bt P01))

162A  -  Thermostat (162A - Термостат)

162A - Thermostat (162A - Термостат)

163C  -  Throttle  Body  (Df9.9Bt  P01) (163C - Дроссель газа (Df9.9Bt P01))

163C - Throttle Body (Df9.9Bt P01) (163C - Дроссель газа (Df9.9Bt P01))

166B  -  Throttle  Control  (Df9.9Bt  P01) (166B - Управление дросселем (Df9.9Bt P01))

166B - Throttle Control (Df9.9Bt P01) (166B - Управление дросселем (Df9.9Bt P01))

167C - Recoil  Starter  (Df9.9Bt  P01) (167C - Барабанный стартер (Df9.9Bt P01))

167C - Recoil Starter (Df9.9Bt P01) (167C - Барабанный стартер (Df9.9Bt P01))

167C - Recoil  Starter  (Df9.9Bt  P01) (167C - Барабанный стартер (Df9.9Bt P01))

167C - Recoil Starter (Df9.9Bt P01) (167C - Барабанный стартер (Df9.9Bt P01))

175A  -  Oil  Pump (175A - Масляный насос)

175A - Oil Pump (175A - Масляный насос)

206C - Clutch Rod  (Df9.9Bt  P01) (206C - Тяга сцепления (Df9.9Bt P01))

206C - Clutch Rod (Df9.9Bt P01) (206C - Тяга сцепления (Df9.9Bt P01))

210A - Shift Rod (210A - Переключающая тяга)

210A - Shift Rod (210A - Переключающая тяга)

220C  -  Transmission  (Df9.9Bt  P01) (220C - Трансмиссия (Df9.9Bt P01))

220C - Transmission (Df9.9Bt P01) (220C - Трансмиссия (Df9.9Bt P01))

301A  -  Starting  Motor  (Electric  Starter) (301A - Двигатель электростартера (Электростартер))

301A - Starting Motor (Electric Starter) (301A - Двигатель электростартера (Электростартер))

303E  -  Magneto  (Electric  Starter) (303E - Магнето (Электростартер))

303E - Magneto (Electric Starter) (303E - Магнето (Электростартер))

310C  -  Rectifier/ignition  Coil  (Df9.9Bt  P01) (310C - Выпрямитель / Катушка зажигания (Df9.9Bt P01))

310C - Rectifier/ignition Coil (Df9.9Bt P01) (310C - Выпрямитель / Катушка зажигания (Df9.9Bt P01))

322C  -  Harness  (Df9.9Bt  P01) (322C - Жгут проводов (Df9.9Bt P01))

322C - Harness (Df9.9Bt P01) (322C - Жгут проводов (Df9.9Bt P01))

327A  -  Ptt  Switch  (Df9.9Bt  P01) (327A - Переключатель гидроподъёма (Df9.9Bt P01))

327A - Ptt Switch (Df9.9Bt P01) (327A - Переключатель гидроподъёма (Df9.9Bt P01))

334C  -  Sensor/switch  (Df9.9Bt  P01) (334C - Датчики и переключатели (Df9.9Bt P01))

334C - Sensor/switch (Df9.9Bt P01) (334C - Датчики и переключатели (Df9.9Bt P01))

335C  -  Clamp  Bracket  (Df9.9Bt  P01) (335C - Кронштейн транца (Df9.9Bt P01))

335C - Clamp Bracket (Df9.9Bt P01) (335C - Кронштейн транца (Df9.9Bt P01))

336C - Swivel Bracket  (Df9.9Bt  P01) (336C - Поворотный кронштейн (Df9.9Bt P01))

336C - Swivel Bracket (Df9.9Bt P01) (336C - Поворотный кронштейн (Df9.9Bt P01))

338A  -  Tilt  Cylinder  (Df9.9Bt  P01) (338A - Цилиндр наклона (Df9.9Bt P01))

338A - Tilt Cylinder (Df9.9Bt P01) (338A - Цилиндр наклона (Df9.9Bt P01))

340A  -  Ptt  Motor  (Df9.9Bt  P01) (340A - Двигатель гидроподъёма (Df9.9Bt P01))

340A - Ptt Motor (Df9.9Bt P01) (340A - Двигатель гидроподъёма (Df9.9Bt P01))

401A  -  Engine  Holder (401A - Основание двигателя)

401A - Engine Holder (401A - Основание двигателя)

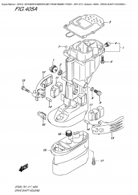
405A - Drive Shaft  Housing (405A - Корпус вала передачи)

405A - Drive Shaft Housing (405A - Корпус вала передачи)

405A - Drive Shaft Housing (405A - Корпус вала передачи)

405A - Drive Shaft Housing (405A - Корпус вала передачи)

407A  -  Gear  Case  (3  Blade) (407A - Картер коробки передач (3 Blade))

407A - Gear Case (3 Blade) (407A - Картер коробки передач (3 Blade))

407B  -  Gear  Case  (4  Blade) (407B - Картер коробки передач (4 Blade))

407B - Gear Case (4 Blade) (407B - Картер коробки передач (4 Blade))

410C  -  Side  Cover  (Df9.9Bt  P01) (410C - Боковая крышка (Df9.9Bt P01))

410C - Side Cover (Df9.9Bt P01) (410C - Боковая крышка (Df9.9Bt P01))

420C  -  Engine  Cover  (Df9.9Bt  P01) (420C - Крышка двигателя (капот) (Df9.9Bt P01))

420C - Engine Cover (Df9.9Bt P01) (420C - Крышка двигателя (капот) (Df9.9Bt P01))

432A  -  Fuel  Tank (432A - Топливный бак)

432A - Fuel Tank (432A - Топливный бак)

442B  -  Drag  Link  (Df9.9Bt  P01) (442B - Переключающая тяга (Df9.9Bt P01))

442B - Drag Link (Df9.9Bt P01) (442B - Переключающая тяга (Df9.9Bt P01))

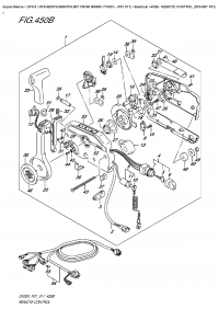
450B  -  Remote  Control  (Df9.9Bt  P01) (450B - Дистанционное управление (Df9.9Bt P01))

450B - Remote Control (Df9.9Bt P01) (450B - Дистанционное управление (Df9.9Bt P01))

450B  -  Remote  Control  (Df9.9Bt  P01) (450B - Дистанционное управление (Df9.9Bt P01))

450B - Remote Control (Df9.9Bt P01) (450B - Дистанционное управление (Df9.9Bt P01))

501B - Opt:meter  (Df9.9Bt  P01) (501B - Опции: приборы (Df9.9Bt P01))

501B - Opt:meter (Df9.9Bt P01) (501B - Опции: приборы (Df9.9Bt P01))

515C  -  Opt:remocon  Cable  (Df9.9Bt  P01) (515C - Опции: трос дистанционного управления (Df9.9Bt P01))

515C - Opt:remocon Cable (Df9.9Bt P01) (515C - Опции: трос дистанционного управления (Df9.9Bt P01))

530B  -  Opt:switch  (Df9.9Bt  P01) (530B - Опции: переключатели (Df9.9Bt P01))

530B - Opt:switch (Df9.9Bt P01) (530B - Опции: переключатели (Df9.9Bt P01))

544C  -  Opt:remote  Control  Assy  Single  (1)  (Df9.9Bt  P01) (544C - Дистанционное управление в сборе, одинарное (1) (Df9.9Bt P01))

544C - Opt:remote Control Assy Single (1) (Df9.9Bt P01) (544C - Дистанционное управление в сборе, одинарное (1) (Df9.9Bt P01))

545C  -  Opt:remote  Control  Assy  Single  (2)  (Df9.9Bt  P01) (545C - Дистанционное управление в сборе, одинарное (2) (Df9.9Bt P01))

545C - Opt:remote Control Assy Single (2) (Df9.9Bt P01) (545C - Дистанционное управление в сборе, одинарное (2) (Df9.9Bt P01))

583A  -  Opt:fuel  Tank (583A - Опции: топливный бак)

583A - Opt:fuel Tank (583A - Опции: топливный бак)

600B  -  Opt:multi  Function  Gauge  (Df9.9Bt  P01) (600B - Опции: multi Function Gauge (Df9.9Bt P01))

600B - Opt:multi Function Gauge (Df9.9Bt P01) (600B - Опции: multi Function Gauge (Df9.9Bt P01))




 
 

данный сайт носит информационный характер и не является публичной офертой

склад запчастей для водомоторной техники