вконтакте

Контактный телефон: +7 (981) 121-46-93, +7 (800) 200-90-76 , Email: parts-katalog@yandex.ru, где купить

 
 

  Логин:

Пароль:

Регистрация

www.partskatalog.ru Все каталоги Запчасти Mercury Запчасти Suzuki Запчасти Tohatsu Запчасти Honda Контакты



УВАЖАЕМЫЕ КЛИЕНТЫ!
C 19 ДЕКАБРЯ 2025 ПО 02 МАРТА 2026 ГОДА ОТДЕЛ ЗАПЧАСТЕЙ И СЕРВИС РАБОТАТЬ НЕ БУДУТ
ПРОДАЖА ЛОДОЧНЫХ МОТОРОВ В ШТАТНОМ РЕЖИМЕ
ОБ ИЗМЕНЕНИЯХ В ГРАФИКЕ РАБОТЫ ЧИТАЙТЕ НА САЙТА




запчастиsuzuki

Узнать наличие и цену запчасти:

Вернуться к началу выбора

Поиск модели по серийному номеру


РЕЖИМЫ ПРОСМОТРА

Все узлы и детали

Двигатель

Трансмиссия

Электрика

Внешние части

Тип двигателя: 4x - тактный

Модель двигателя: Suzuki DF50

Модификация Вашего двигателя:   Suzuki DF-50 ATS / ATL (E01)
Двигатели с серийным номером после 05003F-610001
Код модели двигателя: DF50A TS/TL FROM 05003F-610001~ (E01)
Год выпуска двигателя: 2016
Регион: Регион E01 (Россия, Европа)


Поиск запчастей по коду или названию


   Выберите раздел

найти расходники на лодочные моторы Suzuki

Начните вводить запрос

111E  - Cylinder  Head  (Df50A  E01) (111E - Головка блока цилиндра (Df50A E01))

111E - Cylinder Head (Df50A E01) (111E - Головка блока цилиндра (Df50A E01))

113A  - Cylinder  Block (113A - Блок цилиндра)

113A - Cylinder Block (113A - Блок цилиндра)

116A  - Crankshaft (116A - Коленвал)

116A - Crankshaft (116A - Коленвал)

119A  - Timing  Chain (119A - Распределяющая цепь)

119A - Timing Chain (119A - Распределяющая цепь)

121A  - Camshaft (121A - Распределительный вал)

121A - Camshaft (121A - Распределительный вал)

124E  - Intake  Manifold/silencer/exhaust  Cover  (Df50A  E01) (124E - Впускной коллектор / Глушитель / Кожух выхлопной трубы (Df50A E01))

124E - Intake Manifold/silencer/exhaust Cover (Df50A E01) (124E - Впускной коллектор / Глушитель / Кожух выхлопной трубы (Df50A E01))

136A  - Ring Gear  Cover (136A - Крышка механизма маховика)

136A - Ring Gear Cover (136A - Крышка механизма маховика)

143E  - Fuel Vapor  Separator  (Df50A  E01) (143E - Отделитель паров топлива (Df50A E01))

143E - Fuel Vapor Separator (Df50A E01) (143E - Отделитель паров топлива (Df50A E01))

144E  - Fuel Injector  (Df50A  E01) (144E - Топливный инжектор (Df50A E01))

144E - Fuel Injector (Df50A E01) (144E - Топливный инжектор (Df50A E01))

146A  - Fuel Pump (146A - Топливный насос)

146A - Fuel Pump (146A - Топливный насос)

160E  - Water Pump  (Df50A  E01) (160E - Водяной насос (Df50A E01))

160E - Water Pump (Df50A E01) (160E - Водяной насос (Df50A E01))

162E  - Thermostat  (Df50A  E01) (162E - Термостат (Df50A E01))

162E - Thermostat (Df50A E01) (162E - Термостат (Df50A E01))

163E  - Throttle  Body  (Df50A  E01) (163E - Дроссель газа (Df50A E01))

163E - Throttle Body (Df50A E01) (163E - Дроссель газа (Df50A E01))

175A  - Oil Pump (175A - Масляный насос)

175A - Oil Pump (175A - Масляный насос)

180E  - Oil Pan (Df50A  E01) (180E - Масляный поддон (Df50A E01))

180E - Oil Pan (Df50A E01) (180E - Масляный поддон (Df50A E01))

204E - Clutch  Shaft  (Df50A  E01) (204E - Сцепление Вал (Df50A E01))

204E - Clutch Shaft (Df50A E01) (204E - Сцепление Вал (Df50A E01))

206E - Clutch  Rod  (Df50A  E01) (206E - Тяга сцепления (Df50A E01))

206E - Clutch Rod (Df50A E01) (206E - Тяга сцепления (Df50A E01))

220E - Transmission  (Df50A  E01) (220E - Трансмиссия (Df50A E01))

220E - Transmission (Df50A E01) (220E - Трансмиссия (Df50A E01))

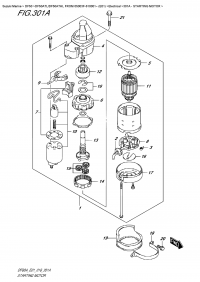
301A - Starting  Motor (301A - Двигатель электростартера)

301A - Starting Motor (301A - Двигатель электростартера)

303A - Magneto (303A - Магнето)

303A - Magneto (303A - Магнето)

310A - Rectifier/ignition  Coil (310A - Выпрямитель / Катушка зажигания)

310A - Rectifier/ignition Coil (310A - Выпрямитель / Катушка зажигания)

315E - Sensor  (Df50A  E01) (315E - Датчик (Df50A E01))

315E - Sensor (Df50A E01) (315E - Датчик (Df50A E01))

322E - Harness  (Df50A  E01) (322E - Жгут проводов (Df50A E01))

322E - Harness (Df50A E01) (322E - Жгут проводов (Df50A E01))

326E - Ptt  Switch/engine  Control  Unit  (Df50A  E01) (326E - Переключатель гидроподъёма / Блок управления двигателем (Df50A E01))

326E - Ptt Switch/engine Control Unit (Df50A E01) (326E - Переключатель гидроподъёма / Блок управления двигателем (Df50A E01))

335E  - Clamp  Bracket  (Df50A  E01) (335E - Кронштейн транца (Df50A E01))

335E - Clamp Bracket (Df50A E01) (335E - Кронштейн транца (Df50A E01))

336E  - Swivel Bracket  (Df50A  E01) (336E - Поворотный кронштейн (Df50A E01))

336E - Swivel Bracket (Df50A E01) (336E - Поворотный кронштейн (Df50A E01))

337D  - Trim  Cylinder  (Df50A  E01) (337D - Цилиндр трима (Df50A E01))

337D - Trim Cylinder (Df50A E01) (337D - Цилиндр трима (Df50A E01))

340D - Ptt  Motor  (Df50A  E01) (340D - Двигатель гидроподъёма (Df50A E01))

340D - Ptt Motor (Df50A E01) (340D - Двигатель гидроподъёма (Df50A E01))

401E  - Engine  Holder  (Df50A  E01) (401E - Основание двигателя (Df50A E01))

401E - Engine Holder (Df50A E01) (401E - Основание двигателя (Df50A E01))

405E  - Drive Shaft  Housing  (Df50A  E01) (405E - Корпус вала передачи (Df50A E01))

405E - Drive Shaft Housing (Df50A E01) (405E - Корпус вала передачи (Df50A E01))

407E - Gear  Case  (Df50A  E01) (407E - Картер коробки передач (Df50A E01))

407E - Gear Case (Df50A E01) (407E - Картер коробки передач (Df50A E01))

410E  - Side Cover  (Df50A E01) (410E - Боковая крышка (Df50A E01))

410E - Side Cover (Df50A E01) (410E - Боковая крышка (Df50A E01))

420E  - Engine  Cover  (Df50A  E01) (420E - Крышка двигателя (капот) (Df50A E01))

420E - Engine Cover (Df50A E01) (420E - Крышка двигателя (капот) (Df50A E01))

432A  - Fuel  Tank (432A - Топливный бак)

432A - Fuel Tank (432A - Топливный бак)

442C  - Drag  Link  (Df50A  E01) (442C - Переключающая тяга (Df50A E01))

442C - Drag Link (Df50A E01) (442C - Переключающая тяга (Df50A E01))

460C - Meter  (Df50A  E01) (460C - Прибор (Df50A E01))

460C - Meter (Df50A E01) (460C - Прибор (Df50A E01))

502E - Opt:meter (1) (Df50A  E01) (502E - Опции: приборы (1) (Df50A E01))

502E - Opt:meter (1) (Df50A E01) (502E - Опции: приборы (1) (Df50A E01))

503E - Opt:meter  (2)  (Df50A  E01) (503E - Опции: приборы (2) (Df50A E01))

503E - Opt:meter (2) (Df50A E01) (503E - Опции: приборы (2) (Df50A E01))

507A - Opt:water  Pressure  Gauge  Sub  Kit (507A - Опции: Комплект прибора изменения давления воды)

507A - Opt:water Pressure Gauge Sub Kit (507A - Опции: Комплект прибора изменения давления воды)

508C  - Opt:remote  Control  (Df50A  E01) (508C - Опции: дистанционное управление (Df50A E01))

508C - Opt:remote Control (Df50A E01) (508C - Опции: дистанционное управление (Df50A E01))

521E - Opt:harness  (Df50A  E01) (521E - Опции: жгут проводов (Df50A E01))

521E - Opt:harness (Df50A E01) (521E - Опции: жгут проводов (Df50A E01))

530C - Opt:switch  (Df50A  E01) (530C - Опции: переключатели (Df50A E01))

530C - Opt:switch (Df50A E01) (530C - Опции: переключатели (Df50A E01))

544A  - Opt:remote  Control  Assy  Single  (1) (544A - Дистанционное управление в сборе, одинарное (1))

544A - Opt:remote Control Assy Single (1) (544A - Дистанционное управление в сборе, одинарное (1))

545A  - Opt:remote  Control  Assy  Single  (2) (545A - Дистанционное управление в сборе, одинарное (2))

545A - Opt:remote Control Assy Single (2) (545A - Дистанционное управление в сборе, одинарное (2))

570C  - Opt:tiller  Handle  (Df50A  E01) (570C - Опции: Румпель (Df50A E01))

570C - Opt:tiller Handle (Df50A E01) (570C - Опции: Румпель (Df50A E01))

585A  - Opt:gasket Set (585A - Опции: комплект прокладок)

585A - Opt:gasket Set (585A - Опции: комплект прокладок)




 
 

данный сайт носит информационный характер и не является публичной офертой

склад запчастей для водомоторной техники