вконтакте

Контактный телефон: +7 (981) 121-46-93, +7 (800) 200-90-76 , Email: parts-katalog@yandex.ru, где купить

 
 

  Логин:

Пароль:

Регистрация

www.partskatalog.ru Все каталоги Запчасти Mercury Запчасти Suzuki Запчасти Tohatsu Запчасти Honda Контакты



УВАЖАЕМЫЕ КЛИЕНТЫ!
C 19 ДЕКАБРЯ 2025 ПО 02 МАРТА 2026 ГОДА ОТДЕЛ ЗАПЧАСТЕЙ И СЕРВИС РАБОТАТЬ НЕ БУДУТ
ПРОДАЖА ЛОДОЧНЫХ МОТОРОВ В ШТАТНОМ РЕЖИМЕ
ОБ ИЗМЕНЕНИЯХ В ГРАФИКЕ РАБОТЫ ЧИТАЙТЕ НА САЙТА




запчастиsuzuki

Узнать наличие и цену запчасти:

Вернуться к началу выбора

Поиск модели по серийному номеру


РЕЖИМЫ ПРОСМОТРА

Все узлы и детали

Двигатель

Трансмиссия

Электрика

Внешние части

Тип двигателя: 4x - тактный

Модель двигателя: Suzuki DF60

Модификация Вашего двигателя:   Suzuki DF-60 AVTL / AVTX (E01)
Двигатели с серийным номером после 06003F-710001
Код модели двигателя: DF60AV TL/TX FROM 06003F-710001~ (E01)
Год выпуска двигателя: 2017
Регион: Регион E01 (Россия, Европа)


Поиск запчастей по коду или названию


   Выберите раздел

найти расходники на лодочные моторы Suzuki

Начните вводить запрос

111R - Cylinder  Head  (Df60Avt  E01) (111R - Головка блока цилиндра (Df60Avt E01))

111R - Cylinder Head (Df60Avt E01) (111R - Головка блока цилиндра (Df60Avt E01))

113A - Cylinder  Block (113A - Блок цилиндра)

113A - Cylinder Block (113A - Блок цилиндра)

116A - Crankshaft (116A - Коленвал)

116A - Crankshaft (116A - Коленвал)

119A - Timing  Chain (119A - Распределяющая цепь)

119A - Timing Chain (119A - Распределяющая цепь)

121A - Camshaft (121A - Распределительный вал)

121A - Camshaft (121A - Распределительный вал)

124R - Intake  Manifold/silencer/exhaust  Cover  (Df60Avt  E01) (124R - Впускной коллектор / Глушитель / Кожух выхлопной трубы (Df60Avt E01))

124R - Intake Manifold/silencer/exhaust Cover (Df60Avt E01) (124R - Впускной коллектор / Глушитель / Кожух выхлопной трубы (Df60Avt E01))

136A - Ring  Gear  Cover (136A - Крышка механизма маховика)

136A - Ring Gear Cover (136A - Крышка механизма маховика)

143R - Fuel  Vapor  Separator  (Df60Avt  E01) (143R - Отделитель паров топлива (Df60Avt E01))

143R - Fuel Vapor Separator (Df60Avt E01) (143R - Отделитель паров топлива (Df60Avt E01))

144R - Fuel  Injector  (Df60Avt  E01) (144R - Топливный инжектор (Df60Avt E01))

144R - Fuel Injector (Df60Avt E01) (144R - Топливный инжектор (Df60Avt E01))

146A - Fuel  Pump (146A - Топливный насос)

146A - Fuel Pump (146A - Топливный насос)

160R - Water Pump  (Df60Avt  E01) (160R - Водяной насос (Df60Avt E01))

160R - Water Pump (Df60Avt E01) (160R - Водяной насос (Df60Avt E01))

162R - Thermostat  (Df60Avt  E01) (162R - Термостат (Df60Avt E01))

162R - Thermostat (Df60Avt E01) (162R - Термостат (Df60Avt E01))

163R - Throttle  Body  (Df60Avt  E01) (163R - Дроссель газа (Df60Avt E01))

163R - Throttle Body (Df60Avt E01) (163R - Дроссель газа (Df60Avt E01))

175A - Oil  Pump (175A - Масляный насос)

175A - Oil Pump (175A - Масляный насос)

180R - Oil Pan  (Df60Avt  E01) (180R - Масляный поддон (Df60Avt E01))

180R - Oil Pan (Df60Avt E01) (180R - Масляный поддон (Df60Avt E01))

204R - Clutch  Shaft  (Df60Avt  E01) (204R - Сцепление Вал (Df60Avt E01))

204R - Clutch Shaft (Df60Avt E01) (204R - Сцепление Вал (Df60Avt E01))

210C - Shift  Rod  (Df60Avt  E01) (210C - Переключающая тяга (Df60Avt E01))

210C - Shift Rod (Df60Avt E01) (210C - Переключающая тяга (Df60Avt E01))

220R - Transmission  (Df60Avt  E01) (220R - Трансмиссия (Df60Avt E01))

220R - Transmission (Df60Avt E01) (220R - Трансмиссия (Df60Avt E01))

301A -  Starting  Motor (301A - Двигатель электростартера)

301A - Starting Motor (301A - Двигатель электростартера)

303A -  Magneto (303A - Магнето)

303A - Magneto (303A - Магнето)

310A -  Rectifier/ignition  Coil (310A - Выпрямитель / Катушка зажигания)

310A - Rectifier/ignition Coil (310A - Выпрямитель / Катушка зажигания)

315R -  Sensor  (Df60Avt  E01) (315R - Датчик (Df60Avt E01))

315R - Sensor (Df60Avt E01) (315R - Датчик (Df60Avt E01))

322R - Harness   (Df60Avt  E01) (322R - Жгут проводов (Df60Avt E01))

322R - Harness (Df60Avt E01) (322R - Жгут проводов (Df60Avt E01))

326R -  Ptt  Switch/engine  Control  Unit  (Df60Avt  E01) (326R - Переключатель гидроподъёма / Блок управления двигателем (Df60Avt E01))

326R - Ptt Switch/engine Control Unit (Df60Avt E01) (326R - Переключатель гидроподъёма / Блок управления двигателем (Df60Avt E01))

335R - Clamp  Bracket  (Df60Avt  E01) (335R - Кронштейн транца (Df60Avt E01))

335R - Clamp Bracket (Df60Avt E01) (335R - Кронштейн транца (Df60Avt E01))

336R - Swivel  Bracket  (Df60Avt  E01) (336R - Поворотный кронштейн (Df60Avt E01))

336R - Swivel Bracket (Df60Avt E01) (336R - Поворотный кронштейн (Df60Avt E01))

337M - Trim  Cylinder  (Df60Avt  E01) (337M - Цилиндр трима (Df60Avt E01))

337M - Trim Cylinder (Df60Avt E01) (337M - Цилиндр трима (Df60Avt E01))

340M -  Ptt  Motor  (Df60Avt  E01) (340M - Двигатель гидроподъёма (Df60Avt E01))

340M - Ptt Motor (Df60Avt E01) (340M - Двигатель гидроподъёма (Df60Avt E01))

401R - Engine  Holder  (Df60Avt  E01) (401R - Основание двигателя (Df60Avt E01))

401R - Engine Holder (Df60Avt E01) (401R - Основание двигателя (Df60Avt E01))

405R - Drive Shaft  Housing  (Df60Avt  E01) (405R - Корпус вала передачи (Df60Avt E01))

405R - Drive Shaft Housing (Df60Avt E01) (405R - Корпус вала передачи (Df60Avt E01))

407R  -  Gear  Case  (Df60Avt  E01) (407R - Картер коробки передач (Df60Avt E01))

407R - Gear Case (Df60Avt E01) (407R - Картер коробки передач (Df60Avt E01))

410R - Side Cover  (Df60Avt  E01) (410R - Боковая крышка (Df60Avt E01))

410R - Side Cover (Df60Avt E01) (410R - Боковая крышка (Df60Avt E01))

420R - Engine  Cover  (Df60Avt  E01) (420R - Крышка двигателя (капот) (Df60Avt E01))

420R - Engine Cover (Df60Avt E01) (420R - Крышка двигателя (капот) (Df60Avt E01))

432A - Fuel  Tank (432A - Топливный бак)

432A - Fuel Tank (432A - Топливный бак)

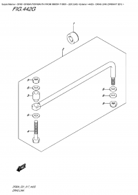
442G - Drag  Link  (Df60Avt  E01) (442G - Переключающая тяга (Df60Avt E01))

442G - Drag Link (Df60Avt E01) (442G - Переключающая тяга (Df60Avt E01))

501R - Opt:meter  (Df60Avt  E01) (501R - Опции: приборы (Df60Avt E01))

501R - Opt:meter (Df60Avt E01) (501R - Опции: приборы (Df60Avt E01))

507A - Opt:water  Pressure  Gauge  Sub  Kit (507A - Опции: Комплект прибора изменения давления воды)

507A - Opt:water Pressure Gauge Sub Kit (507A - Опции: Комплект прибора изменения давления воды)

508G - Opt:remote  Control  (Df60Avt  E01) (508G - Опции: дистанционное управление (Df60Avt E01))

508G - Opt:remote Control (Df60Avt E01) (508G - Опции: дистанционное управление (Df60Avt E01))

515J - Opt:remocon  Cable  (Df60Avt  E01) (515J - Опции: трос дистанционного управления (Df60Avt E01))

515J - Opt:remocon Cable (Df60Avt E01) (515J - Опции: трос дистанционного управления (Df60Avt E01))

521R -  Opt:harness  (Df60Avt  E01) (521R - Опции: жгут проводов (Df60Avt E01))

521R - Opt:harness (Df60Avt E01) (521R - Опции: жгут проводов (Df60Avt E01))

530G -  Opt:switch  (Df60Avt  E01) (530G - Опции: переключатели (Df60Avt E01))

530G - Opt:switch (Df60Avt E01) (530G - Опции: переключатели (Df60Avt E01))

544A - Opt:remote  Control  Assy  Single  (1) (544A - Дистанционное управление в сборе, одинарное (1))

544A - Opt:remote Control Assy Single (1) (544A - Дистанционное управление в сборе, одинарное (1))

545A - Opt:remote  Control  Assy  Single  (2) (545A - Дистанционное управление в сборе, одинарное (2))

545A - Opt:remote Control Assy Single (2) (545A - Дистанционное управление в сборе, одинарное (2))

570G - Opt:tiller  Handle  (Df60Avt  E01) (570G - Опции: Румпель (Df60Avt E01))

570G - Opt:tiller Handle (Df60Avt E01) (570G - Опции: Румпель (Df60Avt E01))

585A - Opt:gasket  Set (585A - Опции: комплект прокладок)

585A - Opt:gasket Set (585A - Опции: комплект прокладок)

600R -  Opt:multi  Function  Gauge  (Df60Avt  E01) (600R - Опции: multi Function Gauge (Df60Avt E01))

600R - Opt:multi Function Gauge (Df60Avt E01) (600R - Опции: multi Function Gauge (Df60Avt E01))




 
 

данный сайт носит информационный характер и не является публичной офертой

склад запчастей для водомоторной техники