вконтакте

Контактный телефон: +7 (981) 121-46-93, +7 (800) 200-90-76 , Email: parts-katalog@yandex.ru, где купить

 
 

  Логин:

Пароль:

Регистрация

www.partskatalog.ru Все каталоги Запчасти Mercury Запчасти Suzuki Запчасти Tohatsu Запчасти Honda Контакты



УВАЖАЕМЫЕ КЛИЕНТЫ!
C 19 ДЕКАБРЯ 2025 ПО 02 МАРТА 2026 ГОДА ОТДЕЛ ЗАПЧАСТЕЙ И СЕРВИС РАБОТАТЬ НЕ БУДУТ
ПРОДАЖА ЛОДОЧНЫХ МОТОРОВ В ШТАТНОМ РЕЖИМЕ
ОБ ИЗМЕНЕНИЯХ В ГРАФИКЕ РАБОТЫ ЧИТАЙТЕ НА САЙТА




запчастиsuzuki

Узнать наличие и цену запчасти:

Вернуться к началу выбора

Поиск модели по серийному номеру


РЕЖИМЫ ПРОСМОТРА

Все узлы и детали

Двигатель

Трансмиссия

Электрика

Внешние части

Тип двигателя: 4x - тактный

Модель двигателя: Suzuki DF20

Модификация Вашего двигателя:   Suzuki DF-20 ARS / ARL (P01 017)
Двигатели с серийным номером после 02002F-710001
Код модели двигателя: DF20A RS / RL FROM 02002F-710001~ (P01 017)
Год выпуска двигателя: 2017
Регион: Россия, Европа


Поиск запчастей по коду или названию


   Выберите раздел

найти расходники на лодочные моторы Suzuki

Начните вводить запрос

111A  -  Cylinder  Head (111A - Головка блока цилиндра)

111A - Cylinder Head (111A - Головка блока цилиндра)

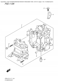
113A  -  Cylinder  Block (113A - Блок цилиндра)

113A - Cylinder Block (113A - Блок цилиндра)

116A  -  Crankshaft (116A - Коленвал)

116A - Crankshaft (116A - Коленвал)

120A  -  Timing  Belt (120A - Ремень распредвала)

120A - Timing Belt (120A - Ремень распредвала)

121K  -  Camshaft  (Df20Ar  P01) (121K - Распределительный вал (Df20Ar P01))

121K - Camshaft (Df20Ar P01) (121K - Распределительный вал (Df20Ar P01))

126K  -  Inlet  Manifold  (Df20Ar  P01) (126K - Впускной коллектор (Df20Ar P01))

126K - Inlet Manifold (Df20Ar P01) (126K - Впускной коллектор (Df20Ar P01))

144A  -  Fuel  Injector (144A - Топливный инжектор)

144A - Fuel Injector (144A - Топливный инжектор)

146K  -  Fuel  Pump  (Df20Ar  P01) (146K - Топливный насос (Df20Ar P01))

146K - Fuel Pump (Df20Ar P01) (146K - Топливный насос (Df20Ar P01))

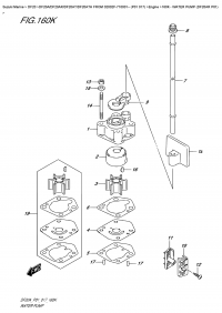
160K  -  Water  Pump  (Df20Ar  P01) (160K - Водяной насос (Df20Ar P01))

160K - Water Pump (Df20Ar P01) (160K - Водяной насос (Df20Ar P01))

162A  -  Thermostat (162A - Термостат)

162A - Thermostat (162A - Термостат)

163K  -  Throttle  Body  (Df20Ar  P01) (163K - Дроссель газа (Df20Ar P01))

163K - Throttle Body (Df20Ar P01) (163K - Дроссель газа (Df20Ar P01))

166E  -  Throttle  Control  (Df20Ar  P01) (166E - Управление дросселем (Df20Ar P01))

166E - Throttle Control (Df20Ar P01) (166E - Управление дросселем (Df20Ar P01))

167K -  Recoil  Starter  (Df20Ar  P01) (167K - Барабанный стартер (Df20Ar P01))

167K - Recoil Starter (Df20Ar P01) (167K - Барабанный стартер (Df20Ar P01))

167K  -  Recoil  Starter  (Df20Ar  P01) (167K - Барабанный стартер (Df20Ar P01))

167K - Recoil Starter (Df20Ar P01) (167K - Барабанный стартер (Df20Ar P01))

175A  -  Oil  Pump (175A - Масляный насос)

175A - Oil Pump (175A - Масляный насос)

206K - Clutch  Rod  (Df20Ar  P01) (206K - Тяга сцепления (Df20Ar P01))

206K - Clutch Rod (Df20Ar P01) (206K - Тяга сцепления (Df20Ar P01))

210A - Shift  Rod (210A - Переключающая тяга)

210A - Shift Rod (210A - Переключающая тяга)

220K  -  Transmission  (Df20Ar  P01) (220K - Трансмиссия (Df20Ar P01))

220K - Transmission (Df20Ar P01) (220K - Трансмиссия (Df20Ar P01))

301A  -  Starting  Motor  (Electric  Starter) (301A - Двигатель электростартера (Электростартер))

301A - Starting Motor (Electric Starter) (301A - Двигатель электростартера (Электростартер))

303E  -  Magneto  (Electric  Starter) (303E - Магнето (Электростартер))

303E - Magneto (Electric Starter) (303E - Магнето (Электростартер))

310K  -  Rectifier/ignition  Coil  (Df20Ar  P01) (310K - Выпрямитель / Катушка зажигания (Df20Ar P01))

310K - Rectifier/ignition Coil (Df20Ar P01) (310K - Выпрямитель / Катушка зажигания (Df20Ar P01))

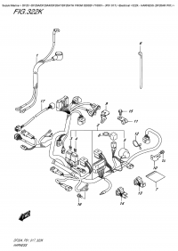
322K  -  Harness  (Df20Ar  P01) (322K - Жгут проводов (Df20Ar P01))

322K - Harness (Df20Ar P01) (322K - Жгут проводов (Df20Ar P01))

334K  -  Sensor/switch  (Df20Ar  P01) (334K - Датчики и переключатели (Df20Ar P01))

334K - Sensor/switch (Df20Ar P01) (334K - Датчики и переключатели (Df20Ar P01))

335K  -  Clamp  Bracket  (Df20Ar  P01) (335K - Кронштейн транца (Df20Ar P01))

335K - Clamp Bracket (Df20Ar P01) (335K - Кронштейн транца (Df20Ar P01))

336K - Swivel Bracket  (Df20Ar  P01) (336K - Поворотный кронштейн (Df20Ar P01))

336K - Swivel Bracket (Df20Ar P01) (336K - Поворотный кронштейн (Df20Ar P01))

401A  -  Engine  Holder (401A - Основание двигателя)

401A - Engine Holder (401A - Основание двигателя)

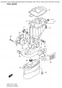
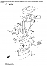
405A - Drive  Shaft  Housing (405A - Корпус вала передачи)

405A - Drive Shaft Housing (405A - Корпус вала передачи)

405A - Drive Shaft  Housing (405A - Корпус вала передачи)

405A - Drive Shaft Housing (405A - Корпус вала передачи)

407A  -  Gear  Case  (3  Blade) (407A - Картер коробки передач (3 Blade))

407A - Gear Case (3 Blade) (407A - Картер коробки передач (3 Blade))

407B  -  Gear  Case  (4  Blade) (407B - Картер коробки передач (4 Blade))

407B - Gear Case (4 Blade) (407B - Картер коробки передач (4 Blade))

410K  -  Side  Cover  (Df20Ar  P01) (410K - Боковая крышка (Df20Ar P01))

410K - Side Cover (Df20Ar P01) (410K - Боковая крышка (Df20Ar P01))

420K  -  Engine  Cover  (Df20Ar  P01) (420K - Крышка двигателя (капот) (Df20Ar P01))

420K - Engine Cover (Df20Ar P01) (420K - Крышка двигателя (капот) (Df20Ar P01))

432A  -  Fuel  Tank (432A - Топливный бак)

432A - Fuel Tank (432A - Топливный бак)

442E  -  Drag  Link  (Df20Ar  P01) (442E - Переключающая тяга (Df20Ar P01))

442E - Drag Link (Df20Ar P01) (442E - Переключающая тяга (Df20Ar P01))

450E  -  Remote  Control  (Df20Ar  P01) (450E - Дистанционное управление (Df20Ar P01))

450E - Remote Control (Df20Ar P01) (450E - Дистанционное управление (Df20Ar P01))

450E  -  Remote  Control  (Df20Ar  P01) (450E - Дистанционное управление (Df20Ar P01))

450E - Remote Control (Df20Ar P01) (450E - Дистанционное управление (Df20Ar P01))

501E -  Opt:meter  (Df20Ar  P01) (501E - Опции: приборы (Df20Ar P01))

501E - Opt:meter (Df20Ar P01) (501E - Опции: приборы (Df20Ar P01))

515J  -  Opt:remocon  Cable  (Df20Ar  P01) (515J - Опции: трос дистанционного управления (Df20Ar P01))

515J - Opt:remocon Cable (Df20Ar P01) (515J - Опции: трос дистанционного управления (Df20Ar P01))

530E  -  Opt:switch  (Df20Ar  P01) (530E - Опции: переключатели (Df20Ar P01))

530E - Opt:switch (Df20Ar P01) (530E - Опции: переключатели (Df20Ar P01))

544J  -  Opt:remote  Control  Assy  Single  (1)  (Df20Ar  P01) (544J - Дистанционное управление в сборе, одинарное (1) (Df20Ar P01))

544J - Opt:remote Control Assy Single (1) (Df20Ar P01) (544J - Дистанционное управление в сборе, одинарное (1) (Df20Ar P01))

545J  -  Opt:remote  Control  Assy  Single  (2)  (Df20Ar  P01) (545J - Дистанционное управление в сборе, одинарное (2) (Df20Ar P01))

545J - Opt:remote Control Assy Single (2) (Df20Ar P01) (545J - Дистанционное управление в сборе, одинарное (2) (Df20Ar P01))

583A  -  Opt:fuel  Tank (583A - Опции: топливный бак)

583A - Opt:fuel Tank (583A - Опции: топливный бак)

600E  -  Opt:multi  Function  Gauge  (Df20Ar  P01) (600E - Опции: multi Function Gauge (Df20Ar P01))

600E - Opt:multi Function Gauge (Df20Ar P01) (600E - Опции: multi Function Gauge (Df20Ar P01))




 
 

данный сайт носит информационный характер и не является публичной офертой

склад запчастей для водомоторной техники