вконтакте

Контактный телефон: +7 (981) 121-46-93, +7 (800) 200-90-76 , Email: parts-katalog@yandex.ru, где купить

 
 

  Логин:

Пароль:

Регистрация

www.partskatalog.ru Все каталоги Запчасти Mercury Запчасти Suzuki Запчасти Tohatsu Запчасти Honda Контакты



УВАЖАЕМЫЕ КЛИЕНТЫ!
C 19 ДЕКАБРЯ 2025 ПО 02 МАРТА 2026 ГОДА ОТДЕЛ ЗАПЧАСТЕЙ И СЕРВИС РАБОТАТЬ НЕ БУДУТ
ПРОДАЖА ЛОДОЧНЫХ МОТОРОВ В ШТАТНОМ РЕЖИМЕ
ОБ ИЗМЕНЕНИЯХ В ГРАФИКЕ РАБОТЫ ЧИТАЙТЕ НА САЙТА




запчастиsuzuki

Узнать наличие и цену запчасти:

Вернуться к началу выбора

Поиск модели по серийному номеру


РЕЖИМЫ ПРОСМОТРА

Все узлы и детали

Двигатель

Трансмиссия

Электрика

Внешние части

Тип двигателя: 4x - тактный

Модель двигателя: Suzuki DF20

Модификация Вашего двигателя:   Suzuki DF-20 ATS / ATL (P01 017)
Двигатели с серийным номером после 02002F-710001
Код модели двигателя: DF20A TL / TS FROM 02002F-710001~ (P01 017)
Год выпуска двигателя: 2017
Регион: Россия, Европа


Поиск запчастей по коду или названию


   Выберите раздел

найти расходники на лодочные моторы Suzuki

Начните вводить запрос

111A  -  Cylinder Head (111A - Головка блока цилиндра)

111A - Cylinder Head (111A - Головка блока цилиндра)

113A  -  Cylinder Block (113A - Блок цилиндра)

113A - Cylinder Block (113A - Блок цилиндра)

116A  -  Crankshaft (116A - Коленвал)

116A - Crankshaft (116A - Коленвал)

119A  -  Timing Chain (119A - Распределяющая цепь)

119A - Timing Chain (119A - Распределяющая цепь)

121A  -  Camshaft (121A - Распределительный вал)

121A - Camshaft (121A - Распределительный вал)

122A  -  Intake Manifold (122A - Впускной коллектор)

122A - Intake Manifold (122A - Впускной коллектор)

136A  -  Ring Gear  Cover (136A - Крышка механизма маховика)

136A - Ring Gear Cover (136A - Крышка механизма маховика)

140A  -  Exhaust Cover (140A - Кожух выхлопной трубы)

140A - Exhaust Cover (140A - Кожух выхлопной трубы)

144C  -  Fuel Injector  (Df250A  E01) (144C - Топливный инжектор (Df250A E01))

144C - Fuel Injector (Df250A E01) (144C - Топливный инжектор (Df250A E01))

147C  -  Fuel Pump/fuel  Vapor  Separator  (Df250A  E01) (147C - Топливный насос / Отделитель паров топлива (Df250A E01))

147C - Fuel Pump/fuel Vapor Separator (Df250A E01) (147C - Топливный насос / Отделитель паров топлива (Df250A E01))

160C  -  Water Pump (Df250A  E01) (160C - Водяной насос (Df250A E01))

160C - Water Pump (Df250A E01) (160C - Водяной насос (Df250A E01))

162A  -  Thermostat (162A - Термостат)

162A - Thermostat (162A - Термостат)

163A  -  Throttle Body (163A - Дроссель газа)

163A - Throttle Body (163A - Дроссель газа)

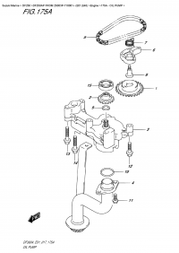
175A  -  Oil  Pump (175A - Масляный насос)

175A - Oil Pump (175A - Масляный насос)

180A  -  Oil  Pan (180A - Масляный поддон)

180A - Oil Pan (180A - Масляный поддон)

204A  - Clutch  Shaft (204A - Сцепление Вал)

204A - Clutch Shaft (204A - Сцепление Вал)

206A  - Clutch Rod (206A - Тяга сцепления)

206A - Clutch Rod (206A - Тяга сцепления)

220A  - Transmission (220A - Трансмиссия)

220A - Transmission (220A - Трансмиссия)

301A  -  Starting  Motor (301A - Двигатель электростартера)

301A - Starting Motor (301A - Двигатель электростартера)

303A  -  Magneto (303A - Магнето)

303A - Magneto (303A - Магнето)

310A  -  Rectifier/ignition  Coil (310A - Выпрямитель / Катушка зажигания)

310A - Rectifier/ignition Coil (310A - Выпрямитель / Катушка зажигания)

315A  -  Sensor (315A - Датчик)

315A - Sensor (315A - Датчик)

315A  -  Sensor (315A - Датчик)

315A - Sensor (315A - Датчик)

322A  -  Harness (322A - Жгут проводов)

322A - Harness (322A - Жгут проводов)

326C  -  Ptt Switch/engine  Control  Unit  (Df250A  E01) (326C - Переключатель гидроподъёма / Блок управления двигателем (Df250A E01))

326C - Ptt Switch/engine Control Unit (Df250A E01) (326C - Переключатель гидроподъёма / Блок управления двигателем (Df250A E01))

331B  -  Key Less Start  (Df250A  E01) (331B - Ключ Less Start (Df250A E01))

331B - Key Less Start (Df250A E01) (331B - Ключ Less Start (Df250A E01))

335A  -  Clamp Bracket (335A - Кронштейн транца)

335A - Clamp Bracket (335A - Кронштейн транца)

336A  -  Swivel Bracket (336A - Поворотный кронштейн)

336A - Swivel Bracket (336A - Поворотный кронштейн)

337A  -  Trim Cylinder (337A - Цилиндр трима)

337A - Trim Cylinder (337A - Цилиндр трима)

337A  -  Trim Cylinder (337A - Цилиндр трима)

337A - Trim Cylinder (337A - Цилиндр трима)

340A  -  Ptt Motor (340A - Двигатель гидроподъёма)

340A - Ptt Motor (340A - Двигатель гидроподъёма)

401A  -  Engine Holder (401A - Основание двигателя)

401A - Engine Holder (401A - Основание двигателя)

405A  - Drive  Shaft  Housing  (X) (405A - Корпус вала передачи (X))

405A - Drive Shaft Housing (X) (405A - Корпус вала передачи (X))

405A  -  Drive Shaft  Housing  (X) (405A - Корпус вала передачи (X))

405A - Drive Shaft Housing (X) (405A - Корпус вала передачи (X))

405B  - Drive  Shaft  Housing  (Xx) (405B - Корпус вала передачи (Xx))

405B - Drive Shaft Housing (Xx) (405B - Корпус вала передачи (Xx))

405B  -  Drive Shaft  Housing  (Xx) (405B - Корпус вала передачи (Xx))

405B - Drive Shaft Housing (Xx) (405B - Корпус вала передачи (Xx))

407A  - Gear Case (407A - Картер коробки передач)

407A - Gear Case (407A - Картер коробки передач)

410A  -  Side Cover (410A - Боковая крышка)

410A - Side Cover (410A - Боковая крышка)

420C  -  Engine Cover  (Df250A  E01) (420C - Крышка двигателя (капот) (Df250A E01))

420C - Engine Cover (Df250A E01) (420C - Крышка двигателя (капот) (Df250A E01))

430C - Fuel Hose (Df250A E01) (430C - Топливный шланг (Df250A E01))

430C - Fuel Hose (Df250A E01) (430C - Топливный шланг (Df250A E01))

520A  -  Opt:flush  Mount  Remocon (520A - Опции: монтаж заподлицо Remocon)

520A - Opt:flush Mount Remocon (520A - Опции: монтаж заподлицо Remocon)

522A  -  Opt:harness  (1) (522A - Опции: жгут проводов (1))

522A - Opt:harness (1) (522A - Опции: жгут проводов (1))

523A  -  Opt:harness  (2) (523A - Опции: жгут проводов (2))

523A - Opt:harness (2) (523A - Опции: жгут проводов (2))

530A  -  Opt:switch (530A - Опции: переключатели)

530A - Opt:switch (530A - Опции: переключатели)

535B  -  Opt:key Less  Start  (Df250A  E01) (535B - Опции: Ключ Less Start (Df250A E01))

535B - Opt:key Less Start (Df250A E01) (535B - Опции: Ключ Less Start (Df250A E01))

540A  -  Opt:remote  Control  Assy  Dual (540A - Опции: дистанционное управление в сборе Dual)

540A - Opt:remote Control Assy Dual (540A - Опции: дистанционное управление в сборе Dual)

540A  -  Opt:remote  Control  Assy  Dual (540A - Опции: дистанционное управление в сборе Dual)

540A - Opt:remote Control Assy Dual (540A - Опции: дистанционное управление в сборе Dual)

543A  -  Opt:remote  Control  Assy  Single (543A - Дистанционное управление в сборе, одинарное)

543A - Opt:remote Control Assy Single (543A - Дистанционное управление в сборе, одинарное)

543A  -  Opt:remote  Control  Assy  Single (543A - Дистанционное управление в сборе, одинарное)

543A - Opt:remote Control Assy Single (543A - Дистанционное управление в сборе, одинарное)

585A  -  Opt:gasket  Set (585A - Опции: комплект прокладок)

585A - Opt:gasket Set (585A - Опции: комплект прокладок)

601A  -  Opt:multi  Function  Gauge  (1) (601A - Опции: multi Function Gauge (1))

601A - Opt:multi Function Gauge (1) (601A - Опции: multi Function Gauge (1))

602A  -  Opt:multi  Function  Gauge  (2) (602A - Опции: multi Function Gauge (2))

602A - Opt:multi Function Gauge (2) (602A - Опции: multi Function Gauge (2))

111A  -  Cylinder  Head (111A - Головка блока цилиндра)

111A - Cylinder Head (111A - Головка блока цилиндра)

113A  -  Cylinder  Block (113A - Блок цилиндра)

113A - Cylinder Block (113A - Блок цилиндра)

116A  -  Crankshaft (116A - Коленвал)

116A - Crankshaft (116A - Коленвал)

120A  -  Timing  Belt (120A - Ремень распредвала)

120A - Timing Belt (120A - Ремень распредвала)

121L  -  Camshaft  (Df20At  P01) (121L - Распределительный вал (Df20At P01))

121L - Camshaft (Df20At P01) (121L - Распределительный вал (Df20At P01))

126L  -  Inlet  Manifold  (Df20At  P01) (126L - Впускной коллектор (Df20At P01))

126L - Inlet Manifold (Df20At P01) (126L - Впускной коллектор (Df20At P01))

144A  -  Fuel  Injector (144A - Топливный инжектор)

144A - Fuel Injector (144A - Топливный инжектор)

146L  -  Fuel  Pump  (Df20At  P01) (146L - Топливный насос (Df20At P01))

146L - Fuel Pump (Df20At P01) (146L - Топливный насос (Df20At P01))

160L  -  Water  Pump  (Df20At  P01) (160L - Водяной насос (Df20At P01))

160L - Water Pump (Df20At P01) (160L - Водяной насос (Df20At P01))

162A  -  Thermostat (162A - Термостат)

162A - Thermostat (162A - Термостат)

163L  -  Throttle  Body  (Df20At  P01) (163L - Дроссель газа (Df20At P01))

163L - Throttle Body (Df20At P01) (163L - Дроссель газа (Df20At P01))

166F  -  Throttle  Control  (Df20At  P01) (166F - Управление дросселем (Df20At P01))

166F - Throttle Control (Df20At P01) (166F - Управление дросселем (Df20At P01))

167L -  Recoil  Starter  (Df20At  P01) (167L - Барабанный стартер (Df20At P01))

167L - Recoil Starter (Df20At P01) (167L - Барабанный стартер (Df20At P01))

167L  -  Recoil  Starter  (Df20At  P01) (167L - Барабанный стартер (Df20At P01))

167L - Recoil Starter (Df20At P01) (167L - Барабанный стартер (Df20At P01))

175A  -  Oil  Pump (175A - Масляный насос)

175A - Oil Pump (175A - Масляный насос)

206L - Clutch  Rod  (Df20At  P01) (206L - Тяга сцепления (Df20At P01))

206L - Clutch Rod (Df20At P01) (206L - Тяга сцепления (Df20At P01))

210A - Shift  Rod (210A - Переключающая тяга)

210A - Shift Rod (210A - Переключающая тяга)

220L  -  Transmission  (Df20At  P01) (220L - Трансмиссия (Df20At P01))

220L - Transmission (Df20At P01) (220L - Трансмиссия (Df20At P01))

301A  -  Starting  Motor  (Electric  Starter) (301A - Двигатель электростартера (Электростартер))

301A - Starting Motor (Electric Starter) (301A - Двигатель электростартера (Электростартер))

303E  -  Magneto  (Electric  Starter) (303E - Магнето (Электростартер))

303E - Magneto (Electric Starter) (303E - Магнето (Электростартер))

310L  -  Rectifier/ignition  Coil  (Df20At  P01) (310L - Выпрямитель / Катушка зажигания (Df20At P01))

310L - Rectifier/ignition Coil (Df20At P01) (310L - Выпрямитель / Катушка зажигания (Df20At P01))

322L  -  Harness  (Df20At  P01) (322L - Жгут проводов (Df20At P01))

322L - Harness (Df20At P01) (322L - Жгут проводов (Df20At P01))

327D  -  Ptt  Switch  (Df20At  P01) (327D - Переключатель гидроподъёма (Df20At P01))

327D - Ptt Switch (Df20At P01) (327D - Переключатель гидроподъёма (Df20At P01))

334L  -  Sensor/switch  (Df20At  P01) (334L - Датчики и переключатели (Df20At P01))

334L - Sensor/switch (Df20At P01) (334L - Датчики и переключатели (Df20At P01))

335L  -  Clamp  Bracket  (Df20At  P01) (335L - Кронштейн транца (Df20At P01))

335L - Clamp Bracket (Df20At P01) (335L - Кронштейн транца (Df20At P01))

336L - Swivel Bracket  (Df20At  P01) (336L - Поворотный кронштейн (Df20At P01))

336L - Swivel Bracket (Df20At P01) (336L - Поворотный кронштейн (Df20At P01))

338D  -  Tilt  Cylinder  (Df20At  P01) (338D - Цилиндр наклона (Df20At P01))

338D - Tilt Cylinder (Df20At P01) (338D - Цилиндр наклона (Df20At P01))

340D  -  Ptt  Motor  (Df20At  P01) (340D - Двигатель гидроподъёма (Df20At P01))

340D - Ptt Motor (Df20At P01) (340D - Двигатель гидроподъёма (Df20At P01))

401A  -  Engine  Holder (401A - Основание двигателя)

401A - Engine Holder (401A - Основание двигателя)

405A - Drive  Shaft  Housing (405A - Корпус вала передачи)

405A - Drive Shaft Housing (405A - Корпус вала передачи)

405A - Drive Shaft  Housing (405A - Корпус вала передачи)

405A - Drive Shaft Housing (405A - Корпус вала передачи)

407A  -  Gear  Case  (3  Blade) (407A - Картер коробки передач (3 Blade))

407A - Gear Case (3 Blade) (407A - Картер коробки передач (3 Blade))

407B  -  Gear  Case  (4  Blade) (407B - Картер коробки передач (4 Blade))

407B - Gear Case (4 Blade) (407B - Картер коробки передач (4 Blade))

410L  -  Side  Cover  (Df20At  P01) (410L - Боковая крышка (Df20At P01))

410L - Side Cover (Df20At P01) (410L - Боковая крышка (Df20At P01))

420L  -  Engine  Cover  (Df20At  P01) (420L - Крышка двигателя (капот) (Df20At P01))

420L - Engine Cover (Df20At P01) (420L - Крышка двигателя (капот) (Df20At P01))

432A  -  Fuel  Tank (432A - Топливный бак)

432A - Fuel Tank (432A - Топливный бак)

442F  -  Drag  Link  (Df20At  P01) (442F - Переключающая тяга (Df20At P01))

442F - Drag Link (Df20At P01) (442F - Переключающая тяга (Df20At P01))

450F  -  Remote  Control  (Df20At  P01) (450F - Дистанционное управление (Df20At P01))

450F - Remote Control (Df20At P01) (450F - Дистанционное управление (Df20At P01))

450F  -  Remote  Control  (Df20At  P01) (450F - Дистанционное управление (Df20At P01))

450F - Remote Control (Df20At P01) (450F - Дистанционное управление (Df20At P01))

501F - Opt:meter  (Df20At  P01) (501F - Опции: приборы (Df20At P01))

501F - Opt:meter (Df20At P01) (501F - Опции: приборы (Df20At P01))

515K  -  Opt:remocon  Cable  (Df20At  P01) (515K - Опции: трос дистанционного управления (Df20At P01))

515K - Opt:remocon Cable (Df20At P01) (515K - Опции: трос дистанционного управления (Df20At P01))

530F  -  Opt:switch  (Df20At  P01) (530F - Опции: переключатели (Df20At P01))

530F - Opt:switch (Df20At P01) (530F - Опции: переключатели (Df20At P01))

544K  -  Opt:remote  Control  Assy  Single  (1)  (Df20At  P01) (544K - Дистанционное управление в сборе, одинарное (1) (Df20At P01))

544K - Opt:remote Control Assy Single (1) (Df20At P01) (544K - Дистанционное управление в сборе, одинарное (1) (Df20At P01))

545K  -  Opt:remote  Control  Assy  Single  (2)  (Df20At  P01) (545K - Дистанционное управление в сборе, одинарное (2) (Df20At P01))

545K - Opt:remote Control Assy Single (2) (Df20At P01) (545K - Дистанционное управление в сборе, одинарное (2) (Df20At P01))

583A  -  Opt:fuel  Tank (583A - Опции: топливный бак)

583A - Opt:fuel Tank (583A - Опции: топливный бак)

600F  -  Opt:multi  Function  Gauge  (Df20At  P01) (600F - Опции: multi Function Gauge (Df20At P01))

600F - Opt:multi Function Gauge (Df20At P01) (600F - Опции: multi Function Gauge (Df20At P01))




 
 

данный сайт носит информационный характер и не является публичной офертой

склад запчастей для водомоторной техники