вконтакте

Контактный телефон: +7 (981) 121-46-93, +7 (800) 200-90-76 , Email: parts-katalog@yandex.ru, где купить

 
 

  Логин:

Пароль:

Регистрация

www.partskatalog.ru Все каталоги Запчасти Mercury Запчасти Suzuki Запчасти Tohatsu Запчасти Honda Контакты



УВАЖАЕМЫЕ КЛИЕНТЫ!
C 19 ДЕКАБРЯ 2025 ПО 02 МАРТА 2026 ГОДА ОТДЕЛ ЗАПЧАСТЕЙ И СЕРВИС РАБОТАТЬ НЕ БУДУТ
ПРОДАЖА ЛОДОЧНЫХ МОТОРОВ В ШТАТНОМ РЕЖИМЕ
ОБ ИЗМЕНЕНИЯХ В ГРАФИКЕ РАБОТЫ ЧИТАЙТЕ НА САЙТА




запчастиsuzuki

Узнать наличие и цену запчасти:

Вернуться к началу выбора

Поиск модели по серийному номеру


РЕЖИМЫ ПРОСМОТРА

Все узлы и детали

Двигатель

Трансмиссия

Электрика

Внешние части

Тип двигателя: 2x - тактный

Модель двигателя: Suzuki DT40

Модификация Вашего двигателя:   Suzuki DT40 WRS / WRL (P40)
Двигатели с серийным номером после 04005-710001
Код модели двигателя: DT40W RS / RL FROM 04005-710001~ (P40)
Год выпуска двигателя: 2017
Регион: Регион P40 (Россия)


Поиск запчастей по коду или названию


   Выберите раздел

найти расходники на лодочные моторы Suzuki

Начните вводить запрос

10Ac  -  Maintenance Kit  (Dt40Wr  P40) (10Ac - Комплект для технического обслуживания (Dt40Wr P40))

10Ac - Maintenance Kit (Dt40Wr P40) (10Ac - Комплект для технического обслуживания (Dt40Wr P40))

112C  -  Cylinder  (Dt40Wr  P40) (112C - Цилиндр (Dt40Wr P40))

112C - Cylinder (Dt40Wr P40) (112C - Цилиндр (Dt40Wr P40))

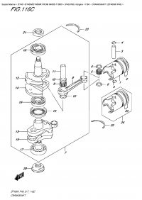
116C  -  Crankshaft  (Dt40Wr  P40) (116C - Коленвал (Dt40Wr P40))

116C - Crankshaft (Dt40Wr P40) (116C - Коленвал (Dt40Wr P40))

125C  -  Inlet Case  (Dt40Wr  P40) (125C - вход Case (Dt40Wr P40))

125C - Inlet Case (Dt40Wr P40) (125C - вход Case (Dt40Wr P40))

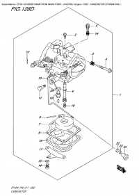
128D  -  Carburetor (Dt40Wr   P40) (128D - Карбюратор (Dt40Wr P40))

128D - Carburetor (Dt40Wr P40) (128D - Карбюратор (Dt40Wr P40))

130C  -  Oil Seal  Housing  (Dt40Wr  P40) (130C - Корпус сальника (Dt40Wr P40))

130C - Oil Seal Housing (Dt40Wr P40) (130C - Корпус сальника (Dt40Wr P40))

141C  -  Exhaust Tube   (Dt40Wr  P40) (141C - Выхлоп Трубка (Dt40Wr P40))

141C - Exhaust Tube (Dt40Wr P40) (141C - Выхлоп Трубка (Dt40Wr P40))

141C  - Exhaust Tube  (Dt40Wr  P40) (141C - Выхлоп Трубка (Dt40Wr P40))

141C - Exhaust Tube (Dt40Wr P40) (141C - Выхлоп Трубка (Dt40Wr P40))

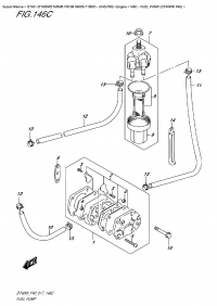
146C  -  Fuel Pump  (Dt40Wr  P40) (146C - Топливный насос (Dt40Wr P40))

146C - Fuel Pump (Dt40Wr P40) (146C - Топливный насос (Dt40Wr P40))

160C  -  Water Pump (Dt40Wr   P40) (160C - Водяной насос (Dt40Wr P40))

160C - Water Pump (Dt40Wr P40) (160C - Водяной насос (Dt40Wr P40))

166C  -  Throttle  Control  (Dt40Wr  P40) (166C - Управление дросселем (Dt40Wr P40))

166C - Throttle Control (Dt40Wr P40) (166C - Управление дросселем (Dt40Wr P40))

167A  -  Recoil Starter (167A - Барабанный стартер)

167A - Recoil Starter (167A - Барабанный стартер)

201C - Clutch (Dt40Wr  P40) (201C - Сцепление (Dt40Wr P40))

201C - Clutch (Dt40Wr P40) (201C - Сцепление (Dt40Wr P40))

220C - Transmission (Dt40Wr  P40) (220C - Трансмиссия (Dt40Wr P40))

220C - Transmission (Dt40Wr P40) (220C - Трансмиссия (Dt40Wr P40))

301C - Starting  Motor  (Dt40Wr  P40) (301C - Двигатель электростартера (Dt40Wr P40))

301C - Starting Motor (Dt40Wr P40) (301C - Двигатель электростартера (Dt40Wr P40))

303C - Magneto  (Dt40Wr  P40) (303C - Магнето (Dt40Wr P40))

303C - Magneto (Dt40Wr P40) (303C - Магнето (Dt40Wr P40))

308C - Ignition  (Dt40Wr  P40) (308C - Ignition (Dt40Wr P40))

308C - Ignition (Dt40Wr P40) (308C - Ignition (Dt40Wr P40))

309C - Ignition  Switch  (Dt40Wr  P40) (309C - Ignition Переключатель (Dt40Wr P40))

309C - Ignition Switch (Dt40Wr P40) (309C - Ignition Переключатель (Dt40Wr P40))

319C - Electrical  (Dt40Wr  P40) (319C - Электрика (Dt40Wr P40))

319C - Electrical (Dt40Wr P40) (319C - Электрика (Dt40Wr P40))

335C  - Clamp  Bracket  (Dt40Wr  P40) (335C - Кронштейн транца (Dt40Wr P40))

335C - Clamp Bracket (Dt40Wr P40) (335C - Кронштейн транца (Dt40Wr P40))

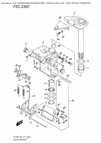
336C  - Swivel  Bracket  (Dt40Wr  P40) (336C - Поворотный кронштейн (Dt40Wr P40))

336C - Swivel Bracket (Dt40Wr P40) (336C - Поворотный кронштейн (Dt40Wr P40))

405C  - Drive Shaft Housing  (Dt40Wr  P40) (405C - Корпус вала передачи (Dt40Wr P40))

405C - Drive Shaft Housing (Dt40Wr P40) (405C - Корпус вала передачи (Dt40Wr P40))

407A - Gear  Case (407A - Картер коробки передач)

407A - Gear Case (407A - Картер коробки передач)

412C  - Lower Cover  (Dt40Wr  P40) (412C - Нижняя часть корпуса (Dt40Wr P40))

412C - Lower Cover (Dt40Wr P40) (412C - Нижняя часть корпуса (Dt40Wr P40))

420C  - Engine  Cover  (Dt40Wr  P40) (420C - Крышка двигателя (капот) (Dt40Wr P40))

420C - Engine Cover (Dt40Wr P40) (420C - Крышка двигателя (капот) (Dt40Wr P40))

432C  - Fuel Tank  (Plastic/25L)  (Dt40Wr  P40) (432C - Топливный бак (пластиковый / 25L) (Dt40Wr P40))

432C - Fuel Tank (Plastic/25L) (Dt40Wr P40) (432C - Топливный бак (пластиковый / 25L) (Dt40Wr P40))

442A  - Drag  Link  (Dt40Wr  P40) (442A - Переключающая тяга (Dt40Wr P40))

442A - Drag Link (Dt40Wr P40) (442A - Переключающая тяга (Dt40Wr P40))

450A  - Remote  Control  (Dt40Wr  P40) (450A - Дистанционное управление (Dt40Wr P40))

450A - Remote Control (Dt40Wr P40) (450A - Дистанционное управление (Dt40Wr P40))

454A  - Remocon  Cable  Holder  (Dt40Wr  P40) (454A - Держатель кабеля дистанционного управления (Dt40Wr P40))

454A - Remocon Cable Holder (Dt40Wr P40) (454A - Держатель кабеля дистанционного управления (Dt40Wr P40))

501C - Opt:meter (Dt40Wr  P40) (501C - Опции: приборы (Dt40Wr P40))

501C - Opt:meter (Dt40Wr P40) (501C - Опции: приборы (Dt40Wr P40))

508A  - Opt:remote  Control (508A - Опции: дистанционное управление)

508A - Opt:remote Control (508A - Опции: дистанционное управление)

513C  - Opt:remote  Control  Parts  (Dt40Wr  P40) (513C - Опции: Запчасти для дистанционного управления (Dt40Wr P40))

513C - Opt:remote Control Parts (Dt40Wr P40) (513C - Опции: Запчасти для дистанционного управления (Dt40Wr P40))

550A - Opt:electrical  (Dt40Wr  P40) (550A - Опции: электрика (Dt40Wr P40))

550A - Opt:electrical (Dt40Wr P40) (550A - Опции: электрика (Dt40Wr P40))

570A  - Opt:tiller  Handle  (Dt40Wr  P40) (570A - Опции: Румпель (Dt40Wr P40))

570A - Opt:tiller Handle (Dt40Wr P40) (570A - Опции: Румпель (Dt40Wr P40))




 
 

данный сайт носит информационный характер и не является публичной офертой

склад запчастей для водомоторной техники