вконтакте

Контактный телефон: +7 (981) 121-46-93, +7 (800) 200-90-76 , Email: parts-katalog@yandex.ru, где купить

 
 

  Логин:

Пароль:

Регистрация

www.partskatalog.ru Все каталоги Запчасти Mercury Запчасти Suzuki Запчасти Tohatsu Запчасти Honda Контакты



УВАЖАЕМЫЕ КЛИЕНТЫ!
C 19 ДЕКАБРЯ 2025 ПО 02 МАРТА 2026 ГОДА ОТДЕЛ ЗАПЧАСТЕЙ И СЕРВИС РАБОТАТЬ НЕ БУДУТ
ПРОДАЖА ЛОДОЧНЫХ МОТОРОВ В ШТАТНОМ РЕЖИМЕ
ОБ ИЗМЕНЕНИЯХ В ГРАФИКЕ РАБОТЫ ЧИТАЙТЕ НА САЙТА




Вернуться к началу выбора


Год выпуска: 2005 год

Семейство или модельный ряд: Sarasota

Модификация квадроцикла: Sarasota 1000, 2005

   Выберите раздел

найти расходники на квадроциклы BRP


Выберите раздел

01- Воздушный фильтр (01- Air Cleaner)

01- Воздушный фильтр (01- Air Cleaner)

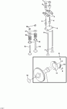
01- Распределительный вал, Клапан (01- Camshaft, Valve)

01- Распределительный вал, Клапан (01- Camshaft, Valve)

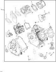
01- Картер двигателя (01- Crankcase)

01- Картер двигателя (01- Crankcase)

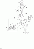
01- Коленвал и Поршень (01- Crankshaft And Piston)

01- Коленвал и Поршень (01- Crankshaft And Piston)

01- Охлаждение System (01- Cooling System)

01- Охлаждение System (01- Cooling System)

01- Двигатель Комплект прокладок (01- Engine Gasket Kit)

01- Двигатель Комплект прокладок (01- Engine Gasket Kit)

01- Muffler (01- Muffler)

01- Muffler (01- Muffler)

01- Oil Трубка (01- Oil Tube)

01- Oil Трубка (01- Oil Tube)

02- Карбюратор (02- Carburetor)

02- Карбюратор (02- Carburetor)

02- Топливная система, Топливный бак (02- Fuel System, Fuel Tank)

02- Топливная система, Топливный бак (02- Fuel System, Fuel Tank)

02- Топливная система, Fuel Line и Фильтр (02- Fuel System, Fuel Line And Filter)

02- Топливная система, Fuel Line и Фильтр (02- Fuel System, Fuel Line And Filter)

02- Governor и Соединитель дросселяage (02- Governor And Throttle Linkage)

02- Governor и Соединитель дросселяage (02- Governor And Throttle Linkage)

02- Дроссель и Choke (02- Throttle And Choke)

02- Дроссель и Choke (02- Throttle And Choke)

03- Опцииion, Альтернатор (03- Option, Alternator)

03- Опцииion, Альтернатор (03- Option, Alternator)

03- Магнето (03- Magneto)

03- Магнето (03- Magneto)

04- Электростартер (04- Electric Starter)

04- Электростартер (04- Electric Starter)

05- Сцепление (05- Clutch)

05- Сцепление (05- Clutch)

05- Differential Шестерня (05- Differential Gear)

05- Differential Шестерня (05- Differential Gear)

05- Переключатель сцепления (05- Shift Linkage)

05- Переключатель сцепления (05- Shift Linkage)

05- Трансмиссия, Transaxle Корпус (05- Transmission, Transaxle Housing)

05- Трансмиссия, Transaxle Корпус (05- Transmission, Transaxle Housing)

05- Трансмиссия, Transaxle Range Переключатель (05- Transmission, Transaxle Range Shift)

05- Трансмиссия, Transaxle Range Переключатель (05- Transmission, Transaxle Range Shift)

05- Трансмиссия, Axle Корпус (05- Transmission, Axle Housing)

05- Трансмиссия, Axle Корпус (05- Transmission, Axle Housing)

06- тормозs (06- Brakes)

06- тормозs (06- Brakes)

06- тормозs Pedals и Подъемный механизм (06- Brakes Pedals And Linkage)

06- тормозs Pedals и Подъемный механизм (06- Brakes Pedals And Linkage)

07- Рулевая система System (07- Steering System)

07- Рулевая система System (07- Steering System)

07- Suspension (07- Suspension)

07- Suspension (07- Suspension)

07- Wheels и Tires, Front (07- Wheels And Tires, Front)

07- Wheels и Tires, Front (07- Wheels And Tires, Front)

07- Wheels и Tires, Rear (07- Wheels And Tires, Rear)

07- Wheels и Tires, Rear (07- Wheels And Tires, Rear)

09- Инструментальная панель (09- Instrument Panel)

09- Инструментальная панель (09- Instrument Panel)

09- Hood и Front Fenders (09- Hood And Front Fenders)

09- Hood и Front Fenders (09- Hood And Front Fenders)

09- Опции Front Бампер (09- Optional Front Bumper)

09- Опции Front Бампер (09- Optional Front Bumper)

09- Опции Rear Hitch, Receiver Type (09- Optional Rear Hitch, Receiver Type)

09- Опции Rear Hitch, Receiver Type (09- Optional Rear Hitch, Receiver Type)

09- Опции Rear Hitch (09- Optional Rear Hitch)

09- Опции Rear Hitch (09- Optional Rear Hitch)

09- Опции Canopy (09- Optional Canopy)

09- Опции Canopy (09- Optional Canopy)

09- Опции Ветровое стекло (09- Optional Windshield)

09- Опции Ветровое стекло (09- Optional Windshield)

09- Наклейки (09- Decals)

09- Наклейки (09- Decals)

09- Рама System (09- Frame System)

09- Рама System (09- Frame System)

09- Опции Front Креплениеed Blade (09- Optional Front Mounted Blade)

09- Опции Front Креплениеed Blade (09- Optional Front Mounted Blade)

09- Опции Креплениеing Рама, Front Blade (09- Optional Mounting Frame, Front Blade)

09- Опции Креплениеing Рама, Front Blade (09- Optional Mounting Frame, Front Blade)

09- Rear Box (09- Rear Box)

09- Rear Box (09- Rear Box)

09- Опции Power Lift для Rear Box (09- Optional Power Lift For Rear Box)

09- Опции Power Lift для Rear Box (09- Optional Power Lift For Rear Box)

09- Опции Пускатель для Rear Box (09- Optional Actuator For Rear Box)

09- Опции Пускатель для Rear Box (09- Optional Actuator For Rear Box)

09- Седло (09- Seat)

09- Седло (09- Seat)

10- Battery (10- Battery)

10- Battery (10- Battery)

10- Электрика Аксессуары, Переключательes (10- Electrical Accessories, Switches)

10- Электрика Аксессуары, Переключательes (10- Electrical Accessories, Switches)

10- Электрика Аксессуары, Horn (10- Electrical Accessories, Horn)

10- Электрика Аксессуары, Horn (10- Electrical Accessories, Horn)

10- Электрика Аксессуары, Backвыше AlРычаг (10- Electrical Accessories, Backup Alarm)

10- Электрика Аксессуары, Backвыше AlРычаг (10- Electrical Accessories, Backup Alarm)

10- Электрика Аксессуары, Turn Signal (10- Electrical Accessories, Turn Signal)

10- Электрика Аксессуары, Turn Signal (10- Electrical Accessories, Turn Signal)

10- Электрика Аксессуары, тормозs Lights (10- Electrical Accessories, Brakes Lights)

10- Электрика Аксессуары, тормозs Lights (10- Electrical Accessories, Brakes Lights)

10- Электрика - жгут проводов (10- Electrical Harness)

10- Электрика - жгут проводов (10- Electrical Harness)

brp atv

Время выполнения запроса 0.41983294487 сек.


 
 

данный сайт носит информационный характер и не является публичной офертой

склад запчастей для водомоторной техники