| |
Выбрать другую модель
вернуться к списку узлов и деталей ДЕТАЛИРОВКА ДЛЯ МОДЕЛИ: BRP ATV DS 70 mini, 2015
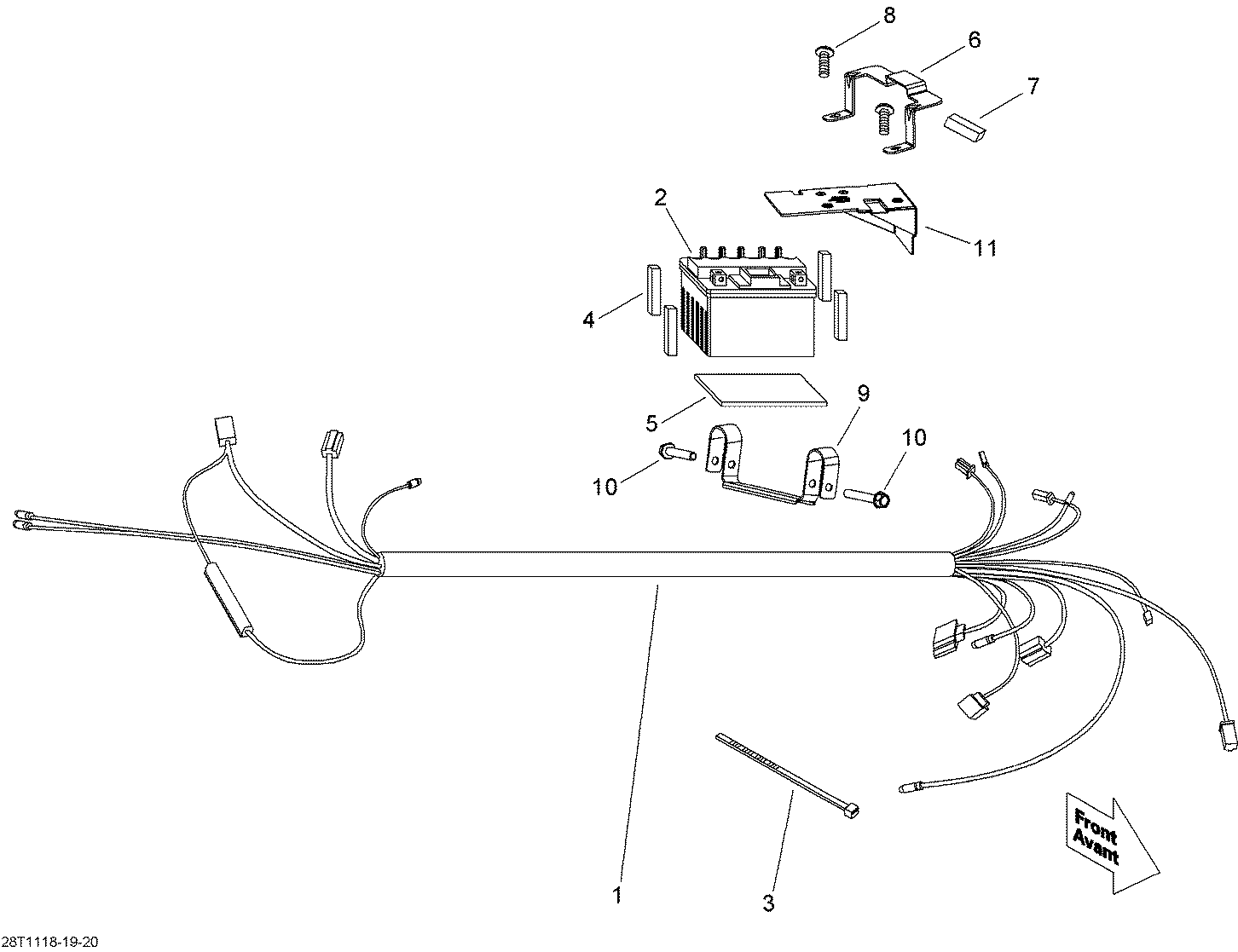
Раздел: Main Жгут проводов | Main Harness
Номер на рисунке | Артикул | Наименование | Кол-во на складе | Цена |
| 1 | V32100DGF140 | Main Жгут проводов (Main Harness) | под заказ | 13290 руб. | |
| 2 | V31500MAA020 | Battery (Battery) | под заказ | 9570 руб. | |
| 2 | FTX4L-BS | (не оригинальный аналог) Аккумулятор FTX4L-BS (YTX4L-BS) | под заказ | 2100 руб. |
| 3 | 414115200 | Tie-Rap 180 mm (Tie-Rap 180 mm) | под заказ | 130 руб. | |
| 3 | 414587300 | (последний код) Tie-Rap 180 mm (Tie-Rap 180 mm) | под заказ | 110 руб. | |
| 4 | V81149MAA000 | Подушка Rubber (Cushion Rubber) | под заказ | 620 руб. | |
| 5 | V81151DGF020 | Foam (Foam) | под заказ | 450 руб. | |
| 6 | V50296DGF030 | Battery Кронштейн (Battery Bracket) | под заказ | 1530 руб. | |
| 7 | V81152DGF010 | Подушка Rubber (Cushion Rubber) | под заказ | 300 руб. | |
| 8 | V930000601201LL | Round Head Винт (Round Head Screw) | под заказ | 300 руб. | |
| 9 | V50229DGF01H | Battery Кронштейн (Battery Bracket) | под заказ | 1380 руб. | |
| 10 | 207663044 | Hex. Фланецd Винт M6 X 30 (Hex. Flanged Screw M6 X 30) | под заказ | 230 руб. | |
| 10 | 207663034 | (последний код) Hex. Фланецd Винт M6 X 30 (Hex. Flanged Screw M6 X 30) | под заказ | 250 руб. | |
| 11 | V80115DGF000 | Battery Крышка. USA Model (Battery Cover. USA Model) | под заказ | 1380 руб. | |

Время выполнения запроса 0.87658596038818 сек.
|
|