| |
Выбрать другую модель
вернуться к списку узлов и деталей ДЕТАЛИРОВКА ДЛЯ МОДЕЛИ: BRP ATV DS 250 NA, EUR & INT, 2014
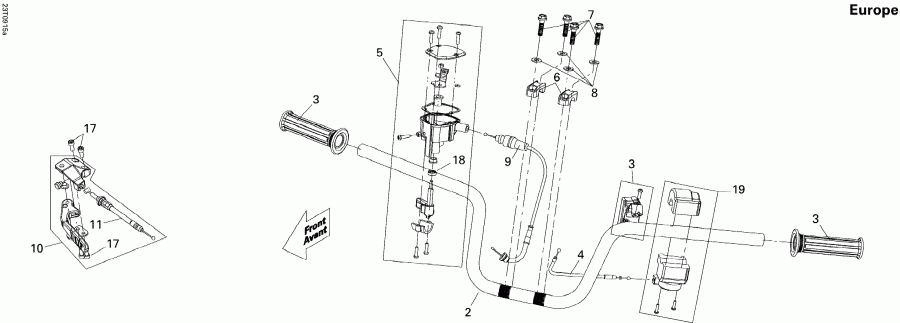
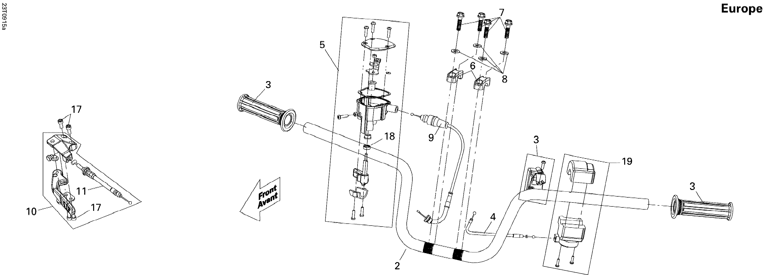
Раздел: Handlebar Европа | Handlebar Europe
Номер на рисунке | Артикул | Наименование | Кол-во на складе | Цена |
| 2 | S53100RCA800 | Handle Bar (Handle Bar) | под заказ | 8370 руб. | |
| 3 | S53166N01000 | Handle Рукоятка (Handle Grip) | под заказ | 1360 руб. | |
| 4 | S44850RCA000 | Choke Кабели (Choke Cable) | под заказ | 1210 руб. | |
| 5 | S53190RCA000 | Дроссель Handle в сборе (Throttle Handle Assy) | под заказ | 8770 руб. | |
| 6 | S53131RCA010 | Handle Bar верхний Струбцина (Handle Bar Upper Clamp) | под заказ | 1840 руб. | |
| 7 | S958010803507 | Фланецd Болт M8 X 35 (Flanged Bolt M8 X 35) | под заказ | 300 руб. | |
| 8 | S9410108700 | Шайба 8 mm (Washer 8 mm) | под заказ | 150 руб. | |
| 9 | S17910RCA000 | Тросик дросселя (Throttle Cable) | под заказ | 2120 руб. | |
| 10 | S5317ARCA000 | Parking тормоз Рычаг в сборе (Parking Brake Lever Assy) | под заказ | 9300 руб. | |
| 11 | S45450RCA000 | Parking тормоз Кабели (Parking Brake Cable) | под заказ | 4090 руб. | |
| 17 | S967000601607 | Socket Болт M6 X 16 (Socket Bolt M6 X 16) | под заказ | 300 руб. | |
| 19 | S35200RCA000 | Multifunction Переключатель в сборе (Multifunction Switch Assy) | под заказ | 9970 руб. | |

Время выполнения запроса 0.86432290077209 сек.
|
|